LEMON Manuals: Even more car manuals for everyone: 1960-2025
Home >> Toyota >> 2003 >> Matrix Base, FWD, Automatic >> Repair and Diagnosis >> Body & Frame >> Mirrors >> Power Mirror Control System >> Inspection
April 5, 2026: LEMON Manuals is launched! Read the announcement.

Power Mirror Control System: Inspection

  1. INSPECT OUTER MIRROR SWITCH ASSY 
    Fig 1: Identifying Outer Mirror Switch Terminals
    G02866884Courtesy of © TOYOTA, LICENSE AGREEMENT TMS1002
    1. Left side for left/right adjustment switch:

      Inspect the mirror switch continuity.

      Standard (Left side): 

      OUTER MIRROR SWITCH TERMINALS CONTINUITY (LEFT SIDE)

      Terminal No. Switch Position Specified Condition
      - OFF No Continuity
      4 <=> 8 6 <=> 7 UP Continuity
      4 <=> 7 6 <=> 8 DOWN Continuity
      5 <=> 8 6 <=> 7 LEFT Continuity
      5 <=> 7 6 <=> 8 RIGHT Continuity

      If the result is not as specified, replace the switch assembly.

    2. Right side for left/right adjustment switch:

    Inspect the mirror switch continuity.

    Standard (Right side): 

    OUTER MIRROR SWITCH TERMINALS CONTINUITY (RIGHT SIDE)

    Terminal No. Switch Position Specified Condition
    - OFF No Continuity
    3 <=> 8 6 <=> 7 UP Continuity
    3 <=> 7 6 <=> 8 DOWN Continuity
    2 <=> 8 6 <=> 7 LEFT Continuity
    2 <=> 7 6 <=> 8 RIGHT Continuity

    If the result is not as specified, replace the switch assembly.

  2. INSPECT OUTER REAR VIEW MIRROR ASSY LH 
    1. Disconnect the outer rear view mirror assembly LH connector.
    2. Apply battery voltage and inspect the mirror motor operation, as shown in the table and illustration.
      Fig 2: Inspecting Mirror Motor Operation (LH)
      G02866885Courtesy of © TOYOTA, LICENSE AGREEMENT TMS1002

    Standard (LH): 

    OUTER REAR VIEW MIRROR POSITION AND BATTERY CONNECTION (LH)

    Battery Connection Mirror Position
    Positive (+) <=> MV (3) Negative (-) <=> Com (2) Turn Upward (A)
    Positive (+) <=> Com (2) Negative (-) <=> MV (3) Turn Downward (B)
    Positive (+) <=> Com (2) Negative (-) <=> MH (1) Turn left (C)
    Positive (+) <=> MH (1) Negative (-) <=> Com (2) Turn Right (D)

    If the result is not as specified, replace the mirror assembly.

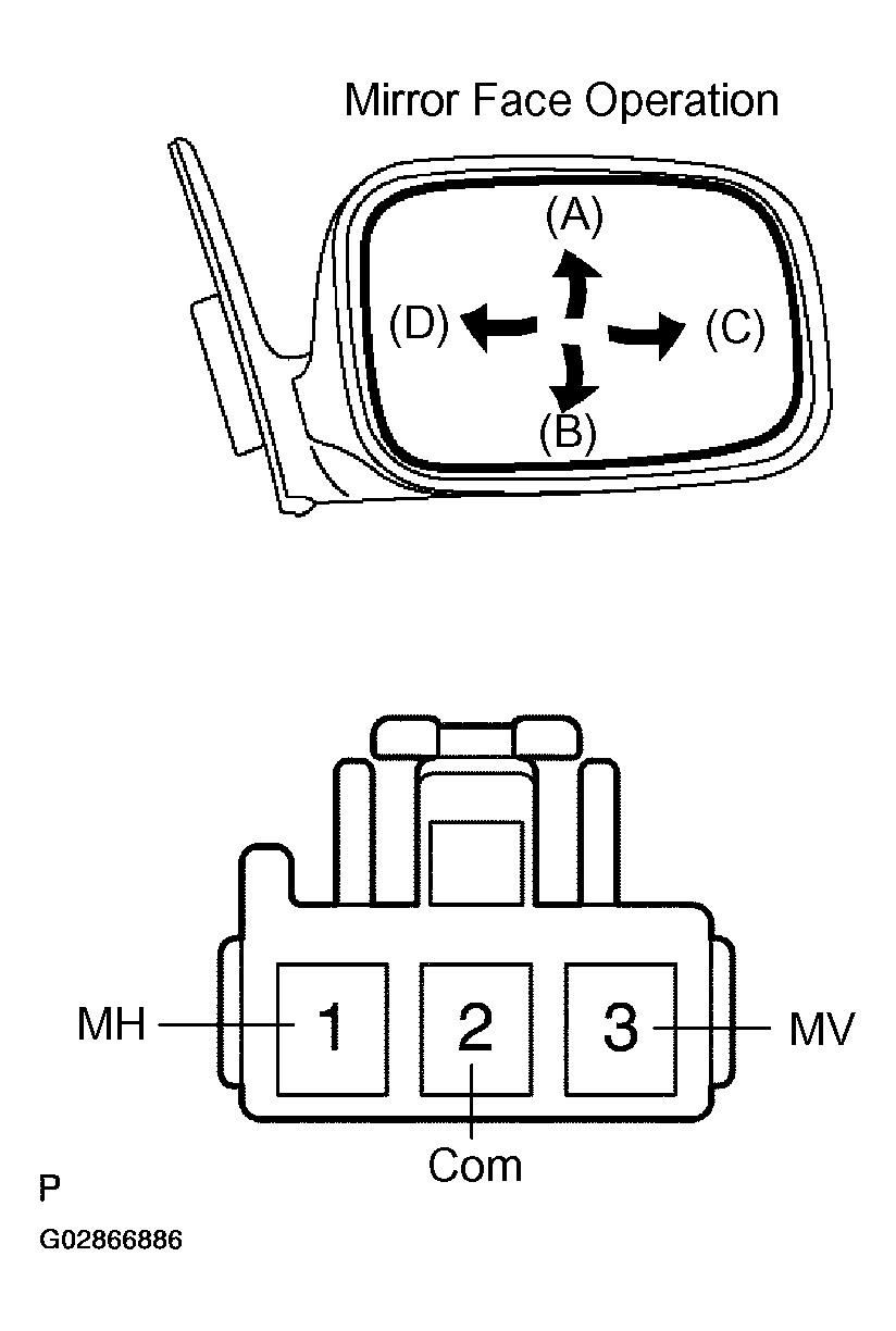
  3. INSPECT OUTER REAR VIEW MIRROR ASSY RH 
    1. Disconnect the outer rear view mirror assembly RH connector.
    2. Apply battery voltage and inspect the mirror motor operation, as shown in the table and illustration.
      Fig 3: Inspecting Mirror Motor Operation (RH)
      G02866886Courtesy of © TOYOTA, LICENSE AGREEMENT TMS1002

    Standard (RH): 

    OUTER REAR VIEW MIRROR POSITION AND BATTERY CONNECTION (RH)

    Battery Connection Mirror Position
    Positive (+) <=> MV (3) Negative (-) <=> Com (2) Turn Upward (A)
    Positive (+) <=> Com (2) Negative (-) <=> MV (5) Turn Downward (B)
    Positive (+) <=> Com (2) Negative (-) <=> MH (1) Turn Right (D)
    Positive (+) <=> MH (1) Negative (-) <=> Com (2) Turn Left (C)

    If the result is not as specified, replace the mirror assembly.