LEMON Manuals: Even more car manuals for everyone: 1960-2025
Home >> Toyota >> 2003 >> Matrix Base, FWD, Automatic >> Repair and Diagnosis >> External Pages >> Different variant/trim >> Section 12 (Partial Engine Assembly - 2ZZ-GE) >> Overhaul
April 5, 2026: LEMON Manuals is launched! Read the announcement.

Section 12 (Partial Engine Assembly - 2ZZ-GE): Overhaul

WARNING: This page is about a different variant/trim than selected.
  1. REMOVE OIL FILLER CAP SUB-ASSY 
  2. REMOVE OIL FILLER CAP GASKET 
    1. Using a screwdriver, remove the gasket from the oil filter cap.
      Fig 1: Removing Oil Filter Cap Gasket Using Screwdriver
      G02865096Courtesy of © TOYOTA, LICENSE AGREEMENT TMS1002
  3. REMOVE VENTILATION VALVE SUB-ASSY 
  4. REMOVE SPARK PLUG 
  5. REMOVE CYLINDER HEAD COVER SUB-ASSY 
    1. Remove the 9 bolts and cylinder head cover.
    2. Remove the spark plug tube gasket and O-ring.
      Fig 2: Removing Spark Plug Gasket & O-Ring
      G02865097Courtesy of © TOYOTA, LICENSE AGREEMENT TMS1002
  6. REMOVE CYLINDER HEAD COVER GASKET 
  7. REMOVE WATER PUMP PULLEY 
    1. Using SST, remove the water pump pulley

      SST 09960-10010 (09962-01000, 09963-00600)

      Fig 3: Removing Water Pump Pulley Using SST
      G02865098Courtesy of © TOYOTA, LICENSE AGREEMENT TMS1002
  8. REMOVE WATER PUMP ASSY 
    1. Remove the 6 bolts, water pump and O-ring.
      Fig 4: Removing Water Pump, O-Ring & Bolts
      G02865099Courtesy of © TOYOTA, LICENSE AGREEMENT TMS1002
  9. REMOVE TRANSVERSE ENGINE MOUNTING BRACKET 
    Fig 5: Removing Engine Mounting Bracket & Bolts
    G02865100Courtesy of © TOYOTA, LICENSE AGREEMENT TMS1002
  10. REMOVE CRANKSHAFT PULLEY 
    1. Set No. 1 cylinder to TDC/compression.
      1. Turn the crankshaft pulley, and align its groove with timing mark "0" of the timing chain cover.
      2. Check that the point marks of the camshaft timing sprocket and VVT timing sprocket are in straight line on the timing chain cover surface as shown in the illustration.
        Fig 6: Checking Point Marks Of Camshaft Timing Sprocket & VVT Timing Sprocket
        G02865101Courtesy of © TOYOTA, LICENSE AGREEMENT TMS1002
        NOTE: If not, turn the crankshaft 1 revolution (360°) and align the marks as above.
    2. Using SST, remove the pulley bolt.

      SST 09213-70011 (09213-70020), 09330-00021

      Fig 7: Removing Pulley Bolt Using SST
      G02865102Courtesy of © TOYOTA, LICENSE AGREEMENT TMS1002
    3. Using SST, remove the crankshaft pulley.

      SST 09950-50013 (09951-05010, 09952-05010, 09953-05020, 09954-05021)

      Fig 8: Removing Crankshaft Pulley Using SST
      G02865103Courtesy of © TOYOTA, LICENSE AGREEMENT TMS1002
  11. REMOVE CHAIN TENSIONER ASSY NO. 1 
    1. Remove the 2 nuts and chain tensioner.
      Fig 9: Removing Chain Tensioner & Nuts
      G02865104Courtesy of © TOYOTA, LICENSE AGREEMENT TMS1002
      NOTE: Be sure not to revolve the crank shaft without the chain tensioner.
  12. REMOVE TIMING CHAIN OR BELT COVER SUB-ASSY 
    1. Remove the 13 bolts.
    2. Remove the stud bolt.
      NOTE: Be careful not to damage the contact surfaces of the timing chain cover, cylinder head and cylinder block.
      Fig 10: Removing Timing Chain Or Belt Cover Bolts & Studs
      G02865105Courtesy of © TOYOTA, LICENSE AGREEMENT TMS1002
  13. REMOVE TIMING GEAR (OR CHAIN) COVER GASKET 
  14. REMOVE TIMING CHAIN COVER GASKET NO. 2 
  15. REMOVE TIMING GEAR COVER OIL SEAL 
    1. Using a screwdriver, remove the oil seal.
      Fig 11: Removing Oil Seal Using A Screwdriver
      G02865106Courtesy of © TOYOTA, LICENSE AGREEMENT TMS1002
  16. REMOVE CHAIN TENSIONER SLIPPER 
    1. Remove the bolt and chain tensioner slipper.
  17. REMOVE CHAIN VIBRATION DAMPER NO. 1 
    1. Remove the 2 bolts and chain vibration damper No. 1.
  18. REMOVE CRANKSHAFT POSITION SENSOR PLATE NO. 1 
  19. REMOVE CHAIN SUB-ASSY 
    1. Using screwdrivers, ply out the timing chain with the crankshaft timing gear as shown in the illustration.
      Fig 12: Plying Out Timing Chain With Crankshaft Timing Gear Timing Chain Using Screwdrivers
      G02865107Courtesy of © TOYOTA, LICENSE AGREEMENT TMS1002
      NOTE:
      • Put shop rag to protect the engine.
      • In case of revolving the camshafts with the chain off the sprockets, turn the crankshaft 1/4 revolution for valves not to touch the pistons.
  20. REMOVE OIL PUMP ASSY 
    1. Remove the 5 bolts and oil pump.
      Fig 13: Removing Oil Pump & Bolts
      G02865108Courtesy of © TOYOTA, LICENSE AGREEMENT TMS1002
  21. REMOVE OIL PUMP GASKET 
  22. REMOVE CAMSHAFT 
    1. Uniformly loosen and remove the 20 bearing cap bolts, in several passes, in the sequence shown, and remove the 9 bearing caps, intake and exhaust camshafts.
      Fig 14: Removing Bearing Caps Bolts In Sequence
      G02865109Courtesy of © TOYOTA, LICENSE AGREEMENT TMS1002
  23. REMOVE CAMSHAFT TIMING GEAR OR SPROCKET 
    1. Grip the camshaft No. 2 with a vice, and remove the camshaft timing gear.
      NOTE: Be careful not to damage the camshaft.
      Fig 15: Removing Camshaft Timing Gear
      G02865110Courtesy of © TOYOTA, LICENSE AGREEMENT TMS1002
  24. INSPECT CAMSHAFT TIMING GEAR ASSY 
    1. Check the lock of camshaft timing gear.
      1. Grip the camshaft with a vice, and confirm the camshaft timing gear is locked.
        Fig 16: Inspecting Camshaft Timing Gear Is Locked
        G02865111Courtesy of © TOYOTA, LICENSE AGREEMENT TMS1002
        NOTE: Be careful not to damage the camshaft.
    2. Release lock pin.
      1. Cover 4 oil paths of cam journal with vinyl tape as shown in the illustration.
        NOTE: Two advance side paths are provided in the groove of the camshaft. Plug one of the path with a rubber piece.
      2. Break through the tapes of the advance side path and the retard side path on the opposite side of the groove.
      3. Put air pressure into two broken paths (the advance side path and the retard side path) with about 150 kPa {1.5 kgf/cm 2 .
        Fig 17: Applying Air Pressure Into Broken Paths
        G02865112Courtesy of © TOYOTA, LICENSE AGREEMENT TMS1002
        CAUTION: Cover the paths with shop rag to avoid oil splashing.
      4. Confirm if the camshaft timing gear assembly revolves in the timing advance direction when weakening the air pressure of the timing retard path.
        NOTE: The lock pin is released, and camshaft timing gear, revolves in the advance direction.
      5. When the camshaft timing gear comes to the most advanced position, take out the air pressure of the timing retard side path, and then, take out that of timing advance side path.
        Fig 18: Identifying Timing Advance Direction When Weakening Air Pressure
        G02865113Courtesy of © TOYOTA, LICENSE AGREEMENT TMS1002
        CAUTION: Camshaft timing assembly gear occasionally shifts to the retard side abruptly, if the air compression of the advanced side path is released before retard side path. It often causes the breakage of the lock pin.
    3. Check smooth revolution
      1. Revolve the camshaft timing gear assembly within the movable range except for the most retarded position several times, and check the smooth revolution.
        CAUTION: Be sure to perform this check by hand, instead of air pressure.
    4. Check the lock in the most retarded position.
      1. Confirm that the camshaft timing gear assembly is locked at the most retarded position.
  25. REMOVE CAMSHAFT TIMING GEAR ASSY 
    1. Grip the camshaft with a vice, and confirm that the gear is locked.
      Fig 19: Confirming Gear Is Locked
      G02865114Courtesy of © TOYOTA, LICENSE AGREEMENT TMS1002
      CAUTION: Be careful not to damage the camshaft.
    2. Cover 4 oil paths of cam journal with vinyl tape as shown in the illustration.
      NOTE: Two advance side paths are provided in the groove of the camshaft. Plug one of the path with a rubber piece.
    3. Break through the tapes of the advance side path and the retard side path on the opposite side of the groove.
    4. Put air pressure into two broken paths (the advance side path and the retard side path) with about 150 kPa {1.5 kgf/ cm2 .
      Fig 20: Applying Air Pressure Into Two Broken Paths
      G02865115Courtesy of © TOYOTA, LICENSE AGREEMENT TMS1002
      CAUTION: Cover the paths with shop rag to avoid oil splashing.
    5. Confirm if the camshaft timing gear assembly revolves in the timing advance direction when weakening the air pressure of the timing retard path.
      NOTE: The lock pin is released, and camshaft timing gear revolves in the advance direction.
    6. When the camshaft timing gear comes to the most advanced position, take out the air pressure of the timing retard side path, and then, takeout that of timing advance side path.
      Fig 21: Identifying Camshaft Timing Gear Assy Revolves In Timing Advance Direction When Air Pressure Weak
      G02865116Courtesy of © TOYOTA, LICENSE AGREEMENT TMS1002
      CAUTION: Camshaft timing gear assembly occasionally shifts to the retard side abruptly, if the air compression of the advanced side path is released before retard side paths. It often causes the breakage of the lock pin.
    7. Remove the fringe bolt of camshaft timing gear assembly.
      Fig 22: Removing Fringe Bolt Of Camshaft Timing Gear Assembly
      G02865117Courtesy of © TOYOTA, LICENSE AGREEMENT TMS1002
      NOTE:
      • Be sure not to remove the other 4 bolts.
      • In case of reusing the camshaft timing gear, release the strait pin locking first, and then install the gear.
  26. REMOVE CAM TIMING CONTROL VALVE HOUSING 
    1. Remove the 3 bolts, 2 nuts and cam timing oil control valve housing.
      Fig 23: Removing Cam Timing Oil Control Value Housing
      G02865118Courtesy of © TOYOTA, LICENSE AGREEMENT TMS1002
  27. REMOVE CAM TIMING OIL CONTROL VALVE HOUSING GASKET 
  28. REMOVE CAMSHAFT TIMING OIL CONTROL VALVE ASSY 
  29. REMOVE OIL CONTROL VALVE FILTER 
    1. Remove the plug and oil control valve filter. (Front side)
      Fig 24: Removing Plug & Oil Control Valve Filter (Front Side)
      G02865119Courtesy of © TOYOTA, LICENSE AGREEMENT TMS1002
    2. Remove the oil control valve filter. (Rear side)
      Fig 25: Removing Oil Control Value Filter (Rear Side)
      G02865120Courtesy of © TOYOTA, LICENSE AGREEMENT TMS1002
  30. REMOVE VALVE ROCKER SHAFT SUB-ASSY NO. 1 
    1. Remove the bolt and the rocker shaft No. 1
    2. Remove the valve rocker arm.
      Fig 26: Removing Valve Rocker Shaft Sub-Assy No. 1
      G02865121Courtesy of © TOYOTA, LICENSE AGREEMENT TMS1002
  31. REMOVE VALVE ROCKER SHAFT SUB-ASSY NO. 2 
    1. Remove the bolt and the rocker shaft No. 2
    2. Remove the valve rocker arm.
      Fig 27: Removing Valve Rocker Shaft Sub-Assy No. 2
      G02865122Courtesy of © TOYOTA, LICENSE AGREEMENT TMS1002
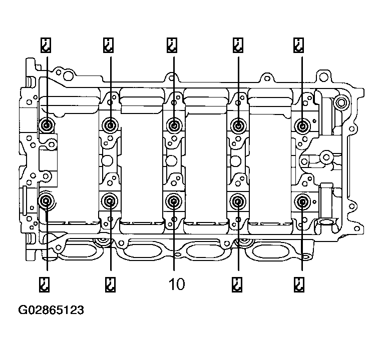
  32. REMOVE CYLINDER HEAD SUB-ASSY 
    1. Using a 10 mm bi-hexagon wrench, uniformly loosen an remove the 10 cylinder head bolts, in several passes, in the sequence shown. Remove the 10 cylinder head bolts and plate washers.
      NOTE:
      • Be careful not to drop washers into the cylinder head.
      • Head warpage or cracking could result from removing bolts in an incorrect order.
        Fig 28: Removing Cylinder Head Bolts In Sequence Using A Hexagon Wrench
        G02865123Courtesy of © TOYOTA, LICENSE AGREEMENT TMS1002
  33. REMOVE CYLINDER HEAD GASKET 
  34. REMOVE OIL FILTER SUB-ASSY 
    1. Using SST, remove the oil filter.

      SST 09228-06501

      Fig 29: Removing Oil Filter Using SST
      G02865124Courtesy of © TOYOTA, LICENSE AGREEMENT TMS1002
  35. REMOVE OIL FILTER UNION 
    1. Using a 12 mm socket hexagon wrench, remove the oil filter union.
  36. REMOVE ENGINE REAR OIL SEAL 
    1. Using a knife, cut off the oil seal lip.
    2. Using a screwdriver with its tip taped, pry out the oil seal.
      NOTE: After the removal, check if the crankshaft is not damaged. If there is, mend it with a sandpaper (# 400).
    3. Fig 30: Cutting Oil Seal Lid Using A Knife
      G02865125Courtesy of © TOYOTA, LICENSE AGREEMENT TMS1002
  37. REMOVE OIL PAN DRAIN PLUG 
  38. REMOVE OIL PAN DRAIN PLUG GASKET 
  39. REMOVE OIL PAN SUB-ASSY 
    1. Remove the 12 bolts and 4 nuts.
      Fig 31: Removing Oil Pan Sub-Assy Bolts & Nuts
      G02865126Courtesy of © TOYOTA, LICENSE AGREEMENT TMS1002
    2. Insert the blade of SST between the bearing cap sub-assembly and oil pan, and cut off applied sealer and remove the oil pan.
      Fig 32: Inserting Blade Of SST Between Bearing Cap Sub-Assembly & Oil Pan
      G02865127Courtesy of © TOYOTA, LICENSE AGREEMENT TMS1002

      SST 09032-00100

      NOTE: Be careful not to damage the oil pan contact surface of the bearing cap sub-assembly and the oil pan flange.
  40. REMOVE OIL STRAINER SUB-ASSY 
  41. REMOVE OIL STRAINER FLANGE GASKET 
  42. REMOVE OIL PAN BAFFLE PLATE 
  43. INSPECT CHAIN TENSIONER ASSY NO. 1 
    1. Check that the plunger moves smoothly when the ratchet pawl is raised with your finger.
    2. Release the ratchet pawl and check that the plunger is locked in place by the ratchet pawl and does not move when pushed with your finger.
      Fig 33: Inspecting Chain Tensioner Assy No. 1
      G02865128Courtesy of © TOYOTA, LICENSE AGREEMENT TMS1002
  44. INSPECT CHAIN SUB-ASSY 
    1. Using a spring scale, pull the timing chain with 140 N (4.3 kgf, 315 lb) and measure the length of it.

      Maximum chain elongation : 122.6 mm (4.827 in.) 

    2. If the elongation is greater than maximum replace the chain.
      NOTE: Make the same measurements pulling at 3 or more places selected at random.
    3. Fig 34: Inspecting Chain Sub-Assy
      G02865129Courtesy of © TOYOTA, LICENSE AGREEMENT TMS1002
  45. INSPECT CAMSHAFT TIMING GEAR OR SPROCKET 
    1. Wrap the chain around the timing sprocket.
    2. Using a vernier calipers, measure the timing sprocket diameter with the chain.

      Minimum sprocket diameter (w / chain): 97.3mm (3.831 in.) 

      NOTE: Vernier calipers must contact the chain rollers for measuring.
    3. Fig 35: Measuring Timing Sprocket Diameter With Chain Using Vernier Caliper
      G02865130Courtesy of © TOYOTA, LICENSE AGREEMENT TMS1002
  46. INSPECT CRANKSHAFT TIMING GEAR OR SPROCKET 
    1. Wrap the chain around the timing sprocket.
    2. Using a vernier calipers, measure the timing sprocket diameter with the chain.
      NOTE: Vernier calipers must contact the chain rollers for the measuring.

      Minimum sprocket diameter (w / chain): 

      51.6mm (2.031 in.) 

      If the diameter is less than minimum, replace the chain and sprockets.

    3. Fig 36: Measuring Timing Sprocket Diameter Using Vernier Caliper
      G02865131Courtesy of © TOYOTA, LICENSE AGREEMENT TMS1002
  47. INSPECT CHAIN TENSIONER SLIPPER 
    1. Measure the chain tensioner slipper wears.

      Maximum wear: 1.0 mm (0.039 in.) 

    2. If the wear is greater than maximum, replace the slipper.
    3. Fig 37: Measuring Chain Tensioner Slipper Wears
      G02865132Courtesy of © TOYOTA, LICENSE AGREEMENT TMS1002
  48. INSPECT CHAIN VIBRATION DAMPER NO. 1 
    1. Measure the vibration damper wears.

      Maximum wear: 1.0 mm (0.039 in.) 

    2. If the wear is greater than maximum, replace the damper.
    3. Fig 38: Measuring Vibration Damper Wears
      G02865133Courtesy of © TOYOTA, LICENSE AGREEMENT TMS1002
  49. INSPECT CYLINDER HEAD BOLT 
    1. Using vernier calipers, measure the length of head bolts from the seat to the end.

      Standard bolt length: 

      146.8-148.2 mm (5.780-5.835 in.) 

      Maximum bolt length: 148.5 mm(5.846 in.) 

    2. If the length surpasses the maximum, replace the bolt.
    3. Fig 39: Measuring Length Of Head Bolts Using Vernier Caliper
      G02865134Courtesy of © TOYOTA, LICENSE AGREEMENT TMS1002
  50. INSPECT VALVE ROCKER SHAFT SUB-ASSY NO. 1 
    1. Using a micrometer, measure the rocker No. 1 shaft diameter.

      Standard : 15.965-15.985 mm (0.6285-0.6293 in) 

    2. Fig 40: Measuring Rocker No. 1 Shaft Diameter Using Micrometer
      G02865135Courtesy of © TOYOTA, LICENSE AGREEMENT TMS1002
  51. INSPECT VALVE ROCKER SHAFT SUB-ASSY NO. 
    1. Using a micrometer, measure the rocker No. 2 shaft diameter.

      Standard : 15.965-15.985 mm (0.6285-0.6293 in) 

      Fig 41: Measuring Rocker No. 2 Shaft Diameter Using A Micrometer
      G02865136Courtesy of © TOYOTA, LICENSE AGREEMENT TMS1002
  52. INSPECT VALVE ROCKER ARM 
    1. Cover oil paths of the rocker arm shaft except 2 paths with vinyl type.
    2. Align the oil path of the rocker arm shaft to the oil path of the rocker arm.
    3. Check that the oil path inside of the rocker arm moves when air pressure 150 kpa {1.5kgf/cm2 is put to the oil paths.
    4. Fig 42: Inspecting Value Rocker Arm
      G02865137Courtesy of © TOYOTA, LICENSE AGREEMENT TMS1002
  53. INSPECT CAMSHAFT 
    1. Inspect camshaft for runout.
      1. Place the camshaft on V-blocks.
      2. Using a dial indicator, measure the circle runout at the center journal.

        Maximum circle runout: 0.03 mm (0.0012 in.) 

    2. If the circle runout is greater than maximum, replace the camshaft.
    3. Fig 43: Measuring Circle Runout At Center Journal Using A Dial Indicator
      G02865138Courtesy of © TOYOTA, LICENSE AGREEMENT TMS1002
    4. Inspect cam lobes.
      1. Using a micrometer, measure the cam lobe height.

        Standard cam lobe height: 

        No. 1: 40.607-40.707 mm (1.5987-1.6026 in.) 

        No. 2: 38.769-38.869 mm (1.5236-1.5303 in.) 

        Minimum cam lobe height: 

        No. 1: 40.45 mm (1.5925 in.) 

        No. 2: 38.61 mm (1.5201 in.) 

      2. If the cam lobe height is less than minimum, replace the camshaft.
      3. Fig 44: Measuring Cam Lobe Height Using A Micrometer
        G02865139Courtesy of © TOYOTA, LICENSE AGREEMENT TMS1002
    5. Inspect camshaft journals.
      1. Using a micrometer, measure the journal diameter.

        No. 1 journal diameter: 

        34.449-34.465 mm (1.3563-1.3569 in.) 

        Others journal diameter: 

        27.949-27.965 mm (1.1004-1.1010 in.) 

      2. If the journal diameter is not as specified, check the oil clearance.
    6. Fig 45: Measuring Journal Diameter Using A Micrometer
      G02865140Courtesy of © TOYOTA, LICENSE AGREEMENT TMS1002
  54. INSPECT NO. 2 CAMSHAFT 
    1. Inspect cam lobes.
      1. Using a micrometer, measure the cam lobe height.

        Standard cam lobe height: 

        No. 1: 40.019-40.119 mm (1.5756-1.5795 in.) 

        No. 2: 38.863-38.963 mm (1.5300-1.5340 in.) 

        Minimum cam lobe height: 

        No. 1: 39.86 mm (1.5693 in.) 

        No. 2: 38.71 mm (1.5240 in.) 

      2. If the cam lobe height is less than minimum, replace the camshaft.
      3. Fig 46: Measuring Cam Lobe Height Using A Micrometer
        G02865141Courtesy of © TOYOTA, LICENSE AGREEMENT TMS1002
    2. Inspect camshaft journals.
      1. Using a micrometer, measure the journal diameter.

        No. 1 journal diameter: 

        34.449-34.465 mm (1.3563-1.3569 in.) 

        Others journal diameter: 

        27.949-27.965 mm (1.1004-1.1010 in.) 

      2. If the journal diameter is not as specified, check the oil clearance.
      3. Fig 47: Measuring Journal Diameter Using A Micrometer
        G02865142Courtesy of © TOYOTA, LICENSE AGREEMENT TMS1002
  55. INSTALL OIL PAN BAFFLE PLATE 
    1. Install the oil pan baffle plate with the 2 bolts and 2 nuts.

      Torque: 9.0 N.m (92 kgf.cm, 80 in.lbf) 

  56. INSTALL OIL STRAINER SUB-ASSY 
    1. Install a new gasket and the oil strainer with the 2 nuts and a bolt.

      Torque: 9.0 N.m (92 kgf.cm, 80 in.lbf) 

  57. INSTALL OIL PAN SUB-ASSY 
    1. Remove any old packing material from the contact surface.
    2. Apply seal packing in the shape of bead (Diameter 3.5 mm-4.5 mm(0.1379-0.177in)) consequently as shown in the illustration.

      Seal packing: Part No. 08826-00080 or equivalent 

      NOTE:
      • Remove any oil from the contact surface.
      • Install the oil pan within 3 minutes after applying seal packing.
      • Do not put into engine oil within 2 hours after installing.
      Fig 48: Applying Seal Packing In Shape Of Bead
      G02865143Courtesy of © TOYOTA, LICENSE AGREEMENT TMS1002
    3. Install the oil pan with the 12 bolts and 2 nuts.

      Torque: 9.0 N.m (92 kgf.cm, 80 in.lbf) 

  58. INSTALL OIL PAN DRAIN PLUG 
    1. Place a new gasket on the drain plug and install the oil pan drain plug.

      Torque: 37 N.m (378 kgf.cm, 27 ft.lbf) 

  59. INSTALL ENGINE REAR OIL SEAL 
    1. Apply MP grease to a new oil seal lip.
      NOTE: Keep the lip off foreign materials.
    2. Using SST and a hammer, tap in the oil seal until its surface is flush with the rear oil seal retainer edge.

      SST 09223-15030, 09950-70010 (09951-07100)

      NOTE: Wipe off extra grease on the crank shaft.
      Fig 49: Tapping In Oil Seal Using SST & Hammer
      G02865144Courtesy of © TOYOTA, LICENSE AGREEMENT TMS1002
  60. INSTALL OIL FILTER UNION 
    1. Using a 12 mm socket hexagon wrench, install the oil filter union.

      Torque: 30 N.m (306 kgf.cm, 22 ft.lbf) 

  61. INSTALL OIL FILTER SUB-ASSY 
    1. Check and clean the oil filter installation surface.
    2. Apply clean engine oil to the gasket of a new oil filter.
    3. Lightly screw the oil filter into place, and tighten it until the gasket contacts the seat.
    4. Using SST, tighten it an additional 3/4 turn.

      SST 09228-06501

      Fig 50: Tightening An Additional 3/4 Turn Using SST
      G02865145Courtesy of © TOYOTA, LICENSE AGREEMENT TMS1002
  62. INSTALL CYLINDER HEAD GASKET 
    1. Place a new cylinder head gasket on the cylinder block surface with the Lot No. stamp upward.
      NOTE:
      • Pay attention to the installation direction.
      • Place the cylinder head quietly in order not to damage the gasket with the bottom part of the head.
    2. Apply seal packing to the cylinder head gasket as shown in the illustration.

      Seal packing: 

      Part No. 08826-00080 or equivalent 

      Fig 51: Applying Seal Packing To Cylinder Head Gasket
      G02865146Courtesy of © TOYOTA, LICENSE AGREEMENT TMS1002
      NOTE: avoid applying an excessive amount to the surface.
      • Parts must be assembled with in 3 minutes of application. Otherwise the material must be removed and reapplied.
      • Immediately remove nozzle from the tube and reinstall cap.
  63. INSTALL CYLINDER HEAD SUB-ASSY 
    NOTE: The cylinder head bolts are tightened in 2 progressive steps.
    1. Apply a light coat of engine oil on the threads and under the heads of the cylinder head bolts.
    2. Using a 10 mm bi-hexagon wrench, install and uniformly tighten the 10 cylinder head bolts with plate washers, in several passes, in the sequence shown.

      Torque: 35 N.m (357 kgf.cm, 26 ft.lbf) 

      Fig 52: Installing Cylinder Head Bolts With Plate Washers In Sequence Using A Bi-Hexagon Wrench
      G02865147Courtesy of © TOYOTA, LICENSE AGREEMENT TMS1002
    3. Mark the front of the cylinder head bolt with paint.
    4. Retighten the cylinder head bolts 180° in the numerical order shown.
    5. Check that the point marked bolts are moved at 180° angle.
      Fig 53: Tightening Cylinder Head Bolts Additional 180°
      G02865148Courtesy of © TOYOTA, LICENSE AGREEMENT TMS1002
  64. INSTALL VALVE ROCKER SHAFT SUB-ASSY NO. 2 
    1. Put the valve rocker shaft through the cylinder head and the hole of the valve rocker arm, and check the direction of the groove.
    2. Install a bolt to fix the rocker shaft No. 2.

      Torque: 9.0 N.m (92 kgf.cm 80 in.lbf) 

      Fig 54: Installing Rocker Arm No. 2 & Bolt
      G02865149Courtesy of © TOYOTA, LICENSE AGREEMENT TMS1002
  65. INSTALL VALVE ROCKER SHAFT SUB-ASSY NO. 1 
    1. Put the valve rocker shaft through the cylinder head and the hole of the valve rocker arm, and check the direction of the groove.
    2. Install a bolt to fix the rocker shaft No. 1.

      Torque: 9.0 N.m (92 kgf.cm 80 in.lbf) 

      Fig 55: Installing Rocker Arm Shaft No. 1 & Bolt
      G02865150Courtesy of © TOYOTA, LICENSE AGREEMENT TMS1002
  66. INSTALL OIL CONTROL VALVE FILTER 
    1. Confirm that the filter is clear.
    2. Place a new gasket on the bolt and install the filter. (Front side)

      Torque: 29 N.m (296 kgf.cm, 21 ft.lbf) 

      Fig 56: Placing New Gasket On Bolt & Installing Filter (Front Side)
      G02865151Courtesy of © TOYOTA, LICENSE AGREEMENT TMS1002
    3. Install the oil control valve filter from the cylinder head. (Rear side)
      Fig 57: Installing Oil Control Value Filter From Cylinder Head (Rear Side)
      G02865152Courtesy of © TOYOTA, LICENSE AGREEMENT TMS1002
  67. INSTALL CAMSHAFT TIMING OIL CONTROL VALVE ASSY 

    Torque: 9.0 N.m (92 kgf.cm 80 in.lbf) 

  68. INSTALL CAM TIMING CONTROL VALVE HOUSING 
    1. Install the cam timing control valve housing with a new gasket.

      Torque: 9.0 N.m (92 kgf.cm 80 in.lbf) 

  69. INSTALL CAMSHAFT TIMING GEAR ASSY 
    1. Put the camshaft timing gear assembly and the camshaft together with the straight pin off the key groove.
    2. Turn the camshaft timing gear assembly to the left direction (as shown in the illustration) with pushing it lightly against the camshaft. Push further at the position where the pin gets into the groove.
      Fig 58: Turning Camshaft Timing Gear Assembly To Left Direction
      G02865153Courtesy of © TOYOTA, LICENSE AGREEMENT TMS1002
      CAUTION: Be sure not to turn the camshaft timing gear to the retard angle side (to the right angle).
    3. Check that there is no clearance between the gear's fringe and the camshaft.
    4. Tighten the fringe bolt with the camshaft timing gear fixed.

      Torque: 54 N.m (551 kgf.cm 40 ft.lbf) 

    5. Check that the camshaft timing gear assembly can move to the retard angle side (the right angle), and is locked at the most retarded position.
  70. INSTALL CAMSHAFT TIMING GEAR OR SPROCKET 
    1. Grip the camshaft with a vice, and install the camshaft timing gear.
      Fig 59: Installing Camshaft Timing Gear Using Vice
      G02865154Courtesy of © TOYOTA, LICENSE AGREEMENT TMS1002

      Torque: 54 N.m (551 kgf.cm 40 ft.lbf) 

      NOTE: Be careful not to damage the camshaft.
  71. INSTALL CAMSHAFT 
    1. Apply light coat of engine oil on the camshaft journals.
    2. Place the 2 camshafts on the cylinder head with the No. 1 cam lobes facing as shown the illustration.
      Fig 60: Placing Camshafts On Cylinder Head With No. 1 Cam Lobes
      G02865155Courtesy of © TOYOTA, LICENSE AGREEMENT TMS1002
    3. Examine the front marks and numbers and tighten the bolts in the order shown in the illustration.

      Torque: 19 N.m (194 kgf.cm, 14 ft.lbf) 

      Fig 61: Tightening Bolts In Sequence
      G02865156Courtesy of © TOYOTA, LICENSE AGREEMENT TMS1002
  72. INSTALL OIL PUMP GASKET 
    1. Place a new gasket on the cylinder block.
  73. INSTALL OIL PUMP ASSY 
    1. Engage the spline teeth of the oil pump drive rotor with the large teeth of the crankshaft, and side the oil pump.
    2. Install the oil pump with the 5 bolts.

      Torque: 9.0 N.m (92 kgf.cm, 80 in.lbf) 

      Fig 62: Installing Oil Pump With Bolts
      G02865157Courtesy of © TOYOTA, LICENSE AGREEMENT TMS1002
  74. INSTALL CHAIN SUB-ASSY 
    1. Set No. 1 cylinder to TDC/compression.
      1. Turn the hexagonal wrench head portion of the camshafts, and align the point marks of the camshaft timing sprockets.
        Fig 63: Aligning Point Marks Of Camshaft Timing Sprockets
        G02865158Courtesy of © TOYOTA, LICENSE AGREEMENT TMS1002
      2. Turn the crankshaft and set the set key on the crankshaft upward.
        Fig 64: Turning Crankshaft & Setting Key On Crankshaft Upward
        G02865159Courtesy of © TOYOTA, LICENSE AGREEMENT TMS1002
    2. Install the timing chain on the crankshaft timing sprocket with the mark link (yellow color link) aligned with the timing mark on the crankshaft timing sprocket.
      NOTE: A yellow color link and 2 orange color links are on the chain.
    3. Fig 65: Installing Timing Chain On Crankshaft Timing Sprocket With Mark Yellow Color Link
      G02865160Courtesy of © TOYOTA, LICENSE AGREEMENT TMS1002
    4. Using a SST, install the sprocket.

      SST 09223-22010

      Fig 66: Installing Sprocket Using SST
      G02865161Courtesy of © TOYOTA, LICENSE AGREEMENT TMS1002
    5. Install the timing chain on the camshaft timing sprockets with the mark link (orange color links) aligned with the timing marks on the camshaft timing sprockets.
      Fig 67: Installing Timing Chain On Crankshaft Timing Sprocket With Mark Orange Color Link
      G02865162Courtesy of © TOYOTA, LICENSE AGREEMENT TMS1002
  75. INSTALL CHAIN VIBRATION DAMPER NO. 1 
    1. Install the 2 bolts and the chain vibration damper No. 1.

      Torque: 21 N.m (214 kgf.cm, 15 ft.lbf) 

  76. INSTALL CHAIN TENSIONER SLIPPER 
    1. Install the bolt and the chain tensioner slipper.

      Torque: 21 N.m (214 kgf.cm, 15 ft.lbf) 

  77. INSTALL CRANKSHAFT POSITION SENSOR PLATE NO. 1 
    1. Install the plate with the "F" mark facing forward.
      Fig 68: Installing Plate With "F" Mark Facing Forward
      G02865163Courtesy of © TOYOTA, LICENSE AGREEMENT TMS1002
  78. INSTALL TIMING GEAR COVER OIL SEAL 
    1. Apply MP grease to the oil seal lip.
    2. Using SST and a hammer, tap in a new oil seal until its surface is flush with the timing chain cover edge.
      Fig 69: Tapping In New Oil Seal Using SST & Hammer
      G02865164Courtesy of © TOYOTA, LICENSE AGREEMENT TMS1002

      SST 09223-22010

      NOTE: Keep the lip off foreign materials.
  79. INSTALL TIMING CHAIN OR BELT COVER SUB-ASSY 
    1. Remove any old packing (FIPG) material and be careful not to drop any oil on the contact surface of the timing chain cover, cylinder head and cylinder block.
      • Using a razor blade and a gasket scraper, remove all the old packing (FIPG) material from the gasket surfaces and sealing grooves.
      • Thoroughly clean all components to remove all the loose material.
      • Using a non-residue solvent, clean both sealing surfaces.
        Fig 70: Tapping In New Oil Seal Until Its Surface Is Flush With Timing Chain Cover Edge Using SST & A Hammer
        G02865165Courtesy of © TOYOTA, LICENSE AGREEMENT TMS1002
    2. Apply seal packing to the timing chain cover as shown in the illustration.

      Seal packing: 

      Part No. 08826-00100 or equivalent 

      • Install a nozzle that has been cut to a 1.5 mm opening.
        NOTE: Avoid applying an excessive amount to the surface.
      • Parts must be assembled within 3 minutes of application. Otherwise the material must be removed and reapplied.
      • Immediately remove nozzle from the tube and reinstall cap.
    3. Install the 2 gaskets to the timing chain cover an shown in the illustration.
    4. Apply seal packing to 4 locations an shown in the illustration.

      Seal packing: 

      Part No. 08826-00080 or equivalent 

      • Install a nozzle that has been cut to a 4-5 mm (0.16-0.20 in.) opening.
        NOTE: Avoid applying an excessive amount to the surface.
      • Parts must be assembled within 3 minutes of application. Otherwise the material must be removed and reapplied.
      • Immediately remove nozzle from the tube and reinstall cap.
        Fig 71: Applying Seal Packing To 4 Locations
        G02865166Courtesy of © TOYOTA, LICENSE AGREEMENT TMS1002
        NOTE:
        • Do not put into engine oil within 2 hours after installing.
    5. Install the timing chain cover, with the 13 bolts.

      Torque: 

      21 N.m (214 kgf.cm, 15 ft.lbf) (M8) 

      11 N.m (112 kgf.cm, 8 ft.lbf) (M6) 

    6. Install the stud bolt.
    7. Fig 72: Installing Timing Chain Cover With Bolts
      G02865167Courtesy of © TOYOTA, LICENSE AGREEMENT TMS1002
  80. INSTALL CHAIN TENSIONER ASSY NO. 1 
    1. Check the O-ring is clean, and set the hook as shown in the illustration.
      Fig 73: Setting Hook
      G02865168Courtesy of © TOYOTA, LICENSE AGREEMENT TMS1002
    2. Apply engine oil to the chain tensioner and install it.

      Torque: 9.0 N.m (92 kgf.cm, 80 in.lbf) 

      NOTE: When installing the tensioner, set the hook again if the hook releases the plunger.
    3. Fig 74: Applying Engine Oil to Chain Tensioner
      G02865169Courtesy of © TOYOTA, LICENSE AGREEMENT TMS1002
  81. INSTALL CRANKSHAFT PULLEY 
    1. Align the pulley set key with the key groove of the pulley, and slide on the pulley.
    2. Using SST, install the pulley bolt.

      SST 09213-7001 1(09213-70020), 09330-00021

      Torque: 118 N.m (1,203 kgf.cm, 87 ft.lbf) 

    3. Fig 75: Installing Crankshaft Pulley Bolt Using SST
      G02865170Courtesy of © TOYOTA, LICENSE AGREEMENT TMS1002
    4. Turn the crankshaft counterclockwise, and disconnect the plunger knock pin from the hook.
      Fig 76: Disconnecting Plunger Knock Pin From Hook
      G02865171Courtesy of © TOYOTA, LICENSE AGREEMENT TMS1002
    5. Turn the crankshaft clockwise, and check that the slipper is pushed by the plunger.
      Fig 77: Checking Slipper Is Pushed By Plunger
      G02865172Courtesy of © TOYOTA, LICENSE AGREEMENT TMS1002
  82. INSTALL TRANSVERSE ENGINE MOUNTING BRACKET 

    Torque: 49 N.m (500 kgf.cm, 36 ft.lbf) 

    Fig 78: Installing Transverse Engine Mounting Bracket
    G02865173Courtesy of © TOYOTA, LICENSE AGREEMENT TMS1002
  83. INSTALL WATER PUMP ASSY 
    1. Place a new O-ring on the timing chain cover.
    2. Install the water pump with the 6 bolts.

      Torque: 9.0 N.m (92 kgf.cm, 80 in.lbf) 

      Fig 79: Installing Water Pump
      G02865174Courtesy of © TOYOTA, LICENSE AGREEMENT TMS1002
      NOTE: Each bolt length is indicated in the illustration.
      Bolt Length Table

      Bolt A 35 mm (1.38 in.)
      Bolt B 28 mm (1.10 in.)
  84. INSTALL WATER PUMP PULLEY 
    1. Using SST the water pump pulley.

      SST 09960-10010 (09962-01000, 09963-00600)

      Torque: 15 N.m (153 kgf.cm, 11 ft.lbf) 

      Fig 80: Installing Water Pump Pulley Using SST
      G02865175Courtesy of © TOYOTA, LICENSE AGREEMENT TMS1002
  85. INSPECT VALVE CLEARANCE 
    1. Set No. 1 cylinder to TDC/compression.
      1. Turn the crankshaft pulley, and align its groove with timing mark "0" of the timing chain cover.
      2. Check that the point marks of the camshaft timing sprocket and VVT timing sprocket are in straight line on the timing chain cover surface as shown in the illustration.
        NOTE: If not, turn the crankshaft 1 revolution (360°) and align the marks as above.
      3. Fig 81: Checking Point Marks Of Camshaft Timing Sprocket & VVT Timing Sprocket
        G02865176Courtesy of © TOYOTA, LICENSE AGREEMENT TMS1002
    2. Check only the valves indicated.
      1. Using a feeler gauge, measure the clearance between the valve rocker arm and camshaft.
      2. Record the out-of specification valve clearance measurements. They will be used later to determine the required replacement adjusting shim.
        Fig 82: Measuring Clearance Between Valve Rocker Arm & Camshaft Using A Feeler Gauge
        G02865177Courtesy of © TOYOTA, LICENSE AGREEMENT TMS1002

        Valve clearance (Cold) 

        VALVE CLEARANCE

        Intake 0.08-0.18 mm (0.0031-0.0070 in.)
        Exhaust 0.22-0.32 mm (0.0087-0.0126 in.)
    3. Turn the crankshaft 1 revolution (360°) and set No. 4 cylinder to TDC/compression.
    4. Check only the valves indicated.
      1. Using a feeler gauge, measure the clearance between the valve rocker arm and camshaft.
      2. Record the out-of specification valve clearance measurements. They will be used later to determine the required replacement adjusting shim.
        Fig 83: Measuring Clearance Between Valve Rocker Arm & Camshaft Using A Feeler Gauge
        G02865178Courtesy of © TOYOTA, LICENSE AGREEMENT TMS1002

        Valve clearance (Cold) 

        VALVE CLEARANCE SPECIFICATION

        Intake 0.08-0.18 mm (0.0031-0.0070 in.)
        Exhaust 0.22-0.32 mm (0.0087-0.0126 in.)
  86. ADJUST VALVE CLEARANCE 
    1. Set the SST.
      NOTE: Remove the spark plug and take off the compression.
      Fig 84: Setting SST
      G02865179Courtesy of © TOYOTA, LICENSE AGREEMENT TMS1002
      1. Insert SST into the plug tube.

        SST 09248-77010(09248-07010)

        NOTE:
        • SST cannot be inserted unless the set screw is loosened.
        • Make sure that the camshaft is in the same condition as step (1).
        • Fig 85: Insert SST Into Plug Tube
          G02865180Courtesy of © TOYOTA, LICENSE AGREEMENT TMS1002
      2. Operate the lever so that SST's seat surface comes to contact with the valve retainer and lock them with the set screw.
        NOTE:
        • Clearance between the valve retainer and SST's seat surface is not allowed.
        • Care should be taken not to make clearance when inserting SST, since a presence of clearance may unlock the keeper.
      3. Lock the set screw on the plug tube side of SST.
      4. Fig 86: Locking Set Screw On Plug Tube Side Of SST
        G02865181Courtesy of © TOYOTA, LICENSE AGREEMENT TMS1002
      5. Rotate the crankshaft so that the camshaft is positioned as shown in the illustration.
        Fig 87: Rotating Crankshaft So That Camshaft Is Positioned
        G02865182Courtesy of © TOYOTA, LICENSE AGREEMENT TMS1002
        NOTE:
        • Pay attention to the direction of the rotation to prevent the nose of the camshaft from interfering with the SST's shaft.
        • Do not rotate the crankshaft excessively.
    2. Remove the adjusting shim.
      1. Lift the rocker arm to make a room and remove the adjusting shim using SST.
        Fig 88: Removing Adjusting Shim Using SST
        G02865183Courtesy of © TOYOTA, LICENSE AGREEMENT TMS1002

        SST 09248-77010(09248-07010)

        NOTE: Do not remove SST in the condition that adjusting shim is removed.
        NOTE:
        • Setting SST from the right above makes the removal easy.
        • If there is not enough room, reset SST.
      2. Determine the size of the replaced shim according to there Formula or Charts:
        • Using a dial indicator, measure the thickness of the removed shim.
        • Calculate the thickness of a new shim so that the valve clearance comes within the specified value.
          Fig 89: Measuring Thickness Of Removed Shim Using A Dial Indicator
          G02865184Courtesy of © TOYOTA, LICENSE AGREEMENT TMS1002
          THICKNESS MEASURING

          A Thickness Of New Shim
          B Thickness Of Used Shim
          C Measured Valve Clearance

        Intake: A = B + (C-0.13 mm (0.005 in.)) x 1.5 

        Exhaust: A = B + (C-0.27 mm (0.011 in.)) x 1.5 

      NOTE: Shim are available in 41 sizes in increments of 0.020 mm (0.0008 in.), from 2.000 mm (0.0787 in.) to 2.800 mm (0.1102 in.).
    3. Lift the rocker arm to make a room and use SST, install the adjusting shim.
      Fig 90: Installing Shim Using SST
      G02865185Courtesy of © TOYOTA, LICENSE AGREEMENT TMS1002
      NOTE:
      • Setting SST from the right above makes the removal easy.
      • To remove SST from the adjusting shim, it is advisable to push down the rocker arm.
    4. Turn the crankshaft so that the related rocker arm, where the valve clearance is adjusted, is fully pushed down.
      Fig 91: Turning Crankshaft So That Related Rocker Arm Is Fully Pushed Down
      G02865186Courtesy of © TOYOTA, LICENSE AGREEMENT TMS1002
      NOTE:
      • Pay attention to the direction of the rotation to prevent the nose of the camshaft from interfering with the SST's shaft.
      • Do not rotate the crankshaft excessively.
    5. After loosening the 2 set screws of SST, remove SST itself.

      SST 09248-77010(09248-07010)

  87. INSTALL CYLINDER HEAD COVER SUB-ASSY 
    1. Remove any old packing (FIPG) material.
    2. Install the new cylinder head cover gasket to the cylinder head cover.
    3. Install the new spark plug tube gasket and a new O-ring to the cylinder head cover.
      Fig 92: Installing Spark Plug Tube Gasket
      G02865187Courtesy of © TOYOTA, LICENSE AGREEMENT TMS1002
    4. Apply seal packing to 2 locations as shown in the illustration.

      Seal packing: Part No. 08826-00080 or equivalent 

      Fig 93: Applying Seal Packing To 2 Locations
      G02865188Courtesy of © TOYOTA, LICENSE AGREEMENT TMS1002
      NOTE:
      • Remove any oil from the contact surface.
      • Install the cylinder head cover within 3 minutes after applying seal packing.
      • Do not put into engine oil 2 hours after installing.
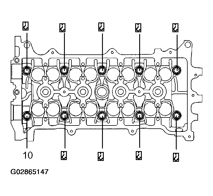
    5. Install the cylinder head cover and cable bracket with the 9 bolts.

      Uniformly tighten the bolts, in the several passes, in the sequence shown.

      Torque: 10 N.m (102 kgf.cm, 89 in.lbf) 

      Fig 94: Installing Cylinder Head Cover In Sequence
      G02865189Courtesy of © TOYOTA, LICENSE AGREEMENT TMS1002
  88. INSTALL SPARK PLUG 

    Torque: 18 N.m (184 kgf.cm, 13 ft.lbf) 

  89. INSTALL VENTILATION VALVE SUB-ASSY 

    Torque: 27 N.m (275 kgf.cm, 20 ft.lbf)