LEMON Manuals: Even more car manuals for everyone: 1960-2025
Home >> Toyota >> 2003 >> Matrix Base, FWD, Standard >> Repair and Diagnosis >> External Pages >> Different car >> Section 470 (Engine Exhaust Assembly) >> Exhaust Pipe ASSY >> Components
April 5, 2026: LEMON Manuals is launched! Read the announcement.

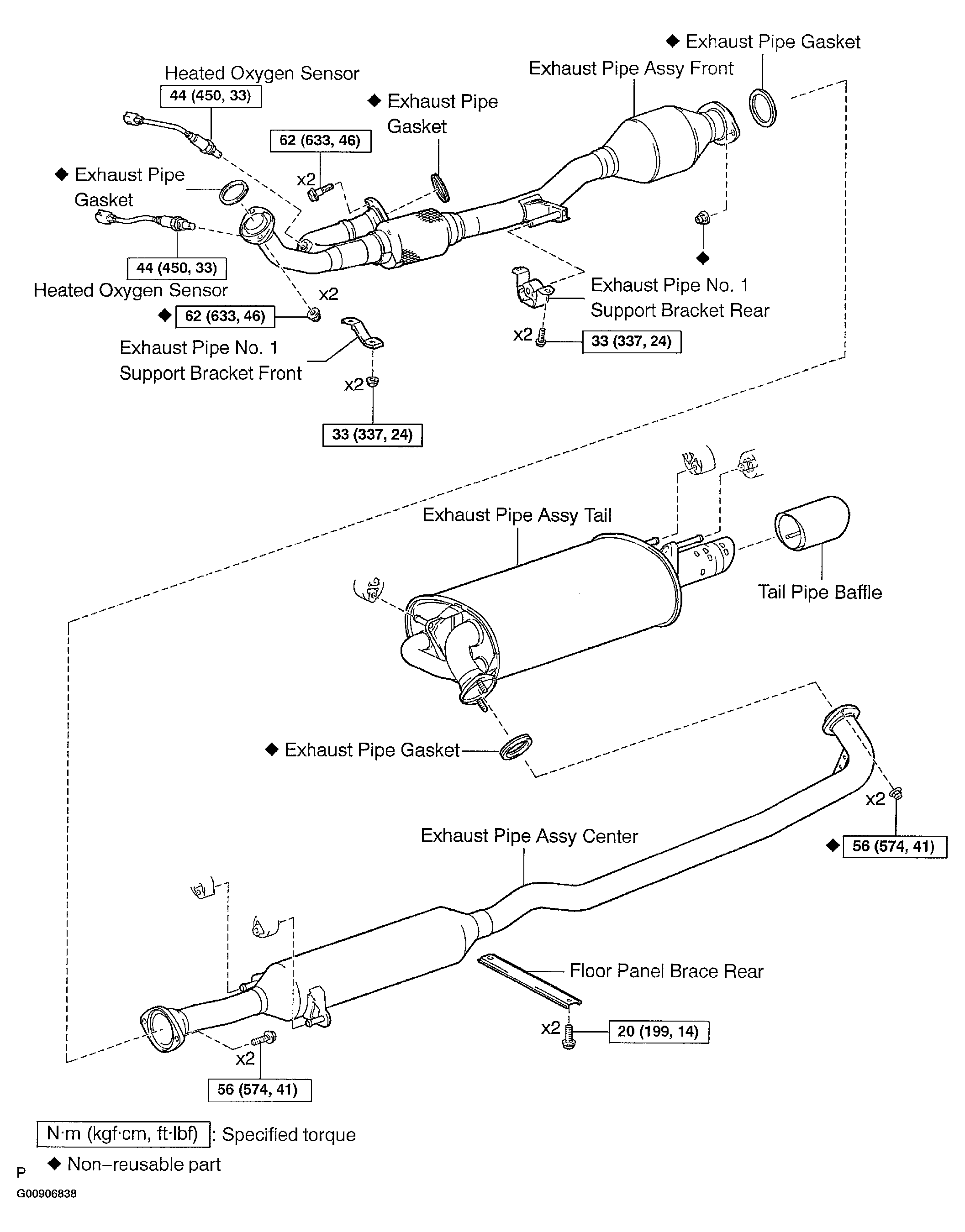
Exhaust Pipe ASSY: Components

WARNING: This page is about a different car, the 2004 Lexus ES 330. However, it is still accessible from the selected car via links, so may be relevant.
Fig 1: Identifying Exhaust Pipe Assy Components
G00906838Courtesy of © TOYOTA, LICENSE AGREEMENT TMS1002