LEMON Manuals: Even more car manuals for everyone: 1960-2025
Home >> Toyota >> 2003 >> Matrix Base, FWD, Standard >> Repair and Diagnosis >> External Pages >> Different variant/trim >> Section 19 (Automatic Transmission Floor Shift Assembly (ATM)) >> Overhaul
April 5, 2026: LEMON Manuals is launched! Read the announcement.

Section 19 (Automatic Transmission Floor Shift Assembly (ATM)): Overhaul

WARNING: This page is about a different variant/trim than selected.
  1. REMOVE INSTRUMENT CLUSTER FINISH PANEL SUB-ASSY CENTER (See  REPLACEMENT  ) 
  2. REMOVE INSTRUMENT CLUSTER FINISH PANEL ASSY CTR (See  REPLACEMENT  ) 
  3. REMOVE INSTRUMENT PANEL BOX (See  REPLACEMENT  ) 
  4. REMOVE INSTRUMENT PANEL FINISH PANEL LOWER CENTER (See  REPLACEMENT  ) 
  5. DISCONNECT FLOOR SHIFT PARKING LOCK CABLE ASSY 
    1. Push the claw and disconnect the parking lock cable assy from the shift lock release link.
      Fig 1: Disconnecting Parking Lock Cable Assy From Shift Lock Release Link
      G02865686Courtesy of © TOYOTA, LICENSE AGREEMENT TMS1002
    2. Using a screwdriver, disconnect the parking lock cable assy from the shift lever plate.
      Fig 2: Disconnecting Parking Lock Cable Assy From Shift Lever Plate
      G02865687Courtesy of © TOYOTA, LICENSE AGREEMENT TMS1002
  6. DISCONNECT FLOOR SHIFT CABLE TRANSMISSION CONTROL SHIFT 
    1. Disconnect the control cable end from the shift lever.
      Fig 3: Disconnecting Control Cable End From Shift Lever
      G02865688Courtesy of © TOYOTA, LICENSE AGREEMENT TMS1002
    2. Using a screwdriver, disconnect the control cable from the shift lever plate.
      Fig 4: Disconnecting Control Cable From Shift Lever Plate
      G02865689Courtesy of © TOYOTA, LICENSE AGREEMENT TMS1002
  7. REMOVE FLOOR SHIFT ASSY 
    1. Disconnect the shift lock control ECU connector and indicator lamp wire connector.
    2. Fig 5: Disconnecting Shift Lock Control ECU & Indicator Lamp Connectors
      G02865690Courtesy of © TOYOTA, LICENSE AGREEMENT TMS1002
    3. Disconnect the wire harness clamp.
    4. Remove the 4 nuts and floor shift assy.
      Fig 6: Removing Floor Shift Assy
      G02865691Courtesy of © TOYOTA, LICENSE AGREEMENT TMS1002
  8. REMOVE FLOOR SHIFT LEVER KNOB SUB-ASSY 
    1. Disconnect the indicator lamp wire connector from the shift lever plate.
    2. Using a small screwdriver, remove the push nut.
    3. Separate the wire harness from the shift lever plate.
    4. Fig 7: Removing Wire Harness
      G02865692Courtesy of © TOYOTA, LICENSE AGREEMENT TMS1002
    5. Disengage the secondary locking device.
    6. Fig 8: Disengaging Secondary Locking Device
      G02865693Courtesy of © TOYOTA, LICENSE AGREEMENT TMS1002
    7. Release the locking lug of the terminals 2 and 4, and pull the terminals out from the rearward.
    8. Remove the 2 screws and shift lever knob sub-assy with the position indicator slide cover.
      NOTE: Pay attention not to apply unnatural load to transmission control switch wire harness.
      Fig 9: Removing Shift Lever Knob Sub-Assy
      G02865694Courtesy of © TOYOTA, LICENSE AGREEMENT TMS1002
  9. REMOVE SHIFT LEVER KNOB BUTTON 
    1. Remove the shift lever knob button and spring from the shift lever knob.
      Fig 10: Removing Shift Lever Knob Button & Spring
      G02865695Courtesy of © TOYOTA, LICENSE AGREEMENT TMS1002
  10. REMOVE POSITION INDICATOR SLIDE COVER 
    1. Remove the position indicator slide cover No. 2 from the shift lever knob.
      Fig 11: Identifying Position Indicator Slide Cover No. 2
      G02865696Courtesy of © TOYOTA, LICENSE AGREEMENT TMS1002
  11. REMOVE TRANSMISSION CONTROL SWITCH 
    1. Using a small screwdriver, remove the transmission control switch from the shift lever knob.
      Fig 12: Removing Transmission Control Switch From Shift Lever Knob
      G02865697Courtesy of © TOYOTA, LICENSE AGREEMENT TMS1002
  12. REMOVE INDICATOR LAMP WIRE SUB-ASSY 
    1. Remove the indicator lamp wire sub-assy from the position indicator housing lower.
      Fig 13: Removing Indicator Lamp Wire Sub-Assy
      G02865698Courtesy of © TOYOTA, LICENSE AGREEMENT TMS1002
  13. REMOVE POSITION INDICATOR HOUSING LOWER 
    1. Remove the position indicator housing lower with the position indicator housing upper from the shift lever plate.
      Fig 14: Removing Position Indicator Housings
      G02865699Courtesy of © TOYOTA, LICENSE AGREEMENT TMS1002
  14. REMOVE POSITION INDICATOR HOUSING UPPER 
    1. Using a small screw driver, remove the position indicator housing upper from the position indicator housing lower.
      Fig 15: Separating Position Indicator Housing Upper From Lower
      G02865700Courtesy of © TOYOTA, LICENSE AGREEMENT TMS1002
  15. REMOVE SHIFT LOCK RELEASE BUTTON COVER 
    1. Using a screwdriver, remove the shift lock release button cover.
      Fig 16: Removing Shift Lock Release Button Cover
      G02865701Courtesy of © TOYOTA, LICENSE AGREEMENT TMS1002
  16. REMOVE CONTROL POSITION INDICATOR PLATE 
    1. Remove the position indicator plate from the position indicator housing upper.
      Fig 17: Removing Position Indicator Plate
      G02865702Courtesy of © TOYOTA, LICENSE AGREEMENT TMS1002
  17. REMOVE POSITION INDICATOR SLIDE COVER 
    1. Remove the position indicator slide cover from the position indicator housing lower.
      Fig 18: Removing Position Indicator Slide Cover
      G02865703Courtesy of © TOYOTA, LICENSE AGREEMENT TMS1002
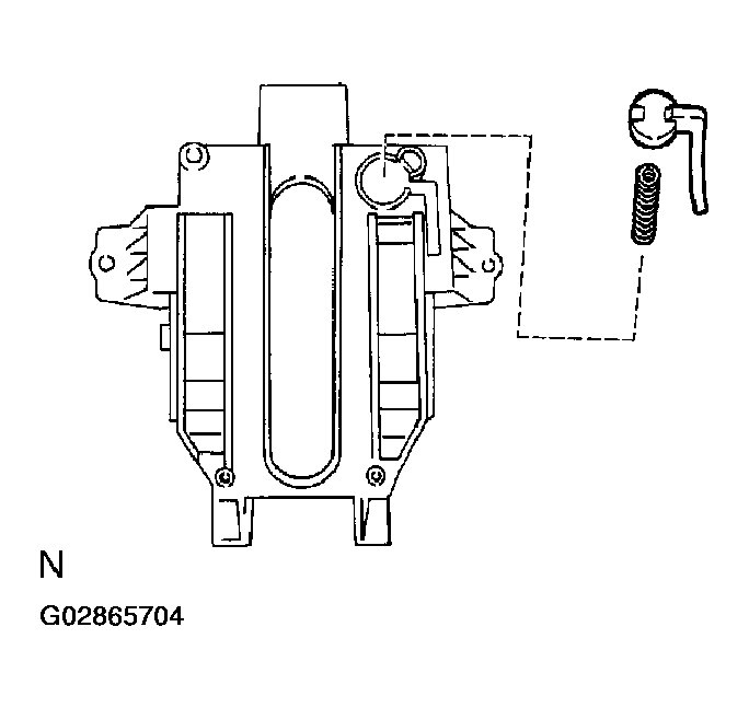
  18. REMOVE SHIFT LOCK RELEASE BUTTON 
    1. Remove the shift lock release button and spring from the position indicator housing lower.
      Fig 19: Removing Shift Lock Release Button & Spring
      G02865704Courtesy of © TOYOTA, LICENSE AGREEMENT TMS1002
  19. REMOVE SHIFT LOCK CONTROL ECU 
    1. Remove the screw.
    2. Disconnect the shift lock solenoid connector and remove the shift lock control ECU from the shift lever plate.
      Fig 20: Removing Shift Lock Control ECU From Shift Lever Plate
      G02865705Courtesy of © TOYOTA, LICENSE AGREEMENT TMS1002
  20. REMOVE SHIFT LOCK SOLENOID 
    1. Using a screwdriver, remove the shift lock solenoid from the shift lever plate.
      Fig 21: Removing Shift Lock Solenoid From Shift Lever Plate
      G02865706Courtesy of © TOYOTA, LICENSE AGREEMENT TMS1002
  21. INSTALL SHIFT LOCK SOLENOID 
    1. Install the shift lock solenoid to the shift lever plate.
      Fig 22: Installing Shift Lock Solenoid To Shift Lever Plate
      G02865707Courtesy of © TOYOTA, LICENSE AGREEMENT TMS1002
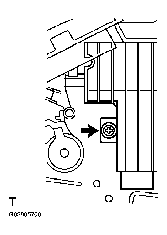
  22. INSTALL SHIFT LOCK CONTROL ECU 
    1. Connect the shift lock solenoid connector to the shift lock control ECU.
    2. Fig 23: Installing Shift Lock Control ECU
      G02865708Courtesy of © TOYOTA, LICENSE AGREEMENT TMS1002
    3. Install the shift lock control ECU with the screw.
  23. INSTALL SHIFT LOCK RELEASE BUTTON 
    1. Apply MP grease to the spring.
    2. Install the shift lock release button and spring.
      Fig 24: Installing Shift Lock Release Button & Spring
      G02865709Courtesy of © TOYOTA, LICENSE AGREEMENT TMS1002
  24. INSTALL POSITION INDICATOR SLIDE COVER 
    1. Install the position indicator slide cover to the position indicator housing lower.
      Fig 25: Installing Position Indicator Slide Cover
      G02865710Courtesy of © TOYOTA, LICENSE AGREEMENT TMS1002
  25. INSTALL CONTROL POSITION INDICATOR PLATE 
    1. Install the position indicator plate to the position indicator housing upper.
      Fig 26: Installing Position Indicator Plate
      G02865711Courtesy of © TOYOTA, LICENSE AGREEMENT TMS1002
  26. INSTALL SHIFT LOCK RELEASE BUTTON COVER 
    1. Install the shift lock release button cover.
      Fig 27: Installing Shift Lock Release Button Cover
      G02865712Courtesy of © TOYOTA, LICENSE AGREEMENT TMS1002
  27. INSTALL POSITION INDICATOR HOUSING UPPER 
    1. Install the position indicator housing upper to the position indicator housing lower.
      Fig 28: Installing Position Indicator Housing Upper To Position Indicator Housing Lower
      G02865713Courtesy of © TOYOTA, LICENSE AGREEMENT TMS1002
      NOTE: Fit the claws securely.
  28. INSTALL POSITION INDICATOR HOUSING LOWER 
    1. Install the position indicator housing lower with the position indicator housing upper to the shift lever plate.
      Fig 29: Installing Position Indicator Housing Lower/Upper To Shift Lever Plate
      G02865714Courtesy of © TOYOTA, LICENSE AGREEMENT TMS1002
      NOTE: Fit the claws securely.
  29. INSTALL INDICATOR LAMP WIRE SUB-ASSY 
    1. Install the indicator lamp wire sub-assy to the position indicator housing lower.
      Fig 30: Installing Indicator Lamp Wire Sub-Assy
      G02865715Courtesy of © TOYOTA, LICENSE AGREEMENT TMS1002
  30. INSTALL TRANSMISSION CONTROL SWITCH 
    1. Insert the wire harness into the shift lever knob from the part shown by the arrow, and install the transmission control switch to the shift lever knob.
      Fig 31: Installing Transmission Control Switch To Shift Lever Knob
      G02865716Courtesy of © TOYOTA, LICENSE AGREEMENT TMS1002
  31. INSTALL POSITION INDICATOR SLIDE COVER 
    1. Install the position indicator slide cover No. 2 to the shift lever knob.
      Fig 32: Installing Position Indicator Slide Cover No 2 To Shift Lever Knob
      G02865717Courtesy of © TOYOTA, LICENSE AGREEMENT TMS1002
  32. INSTALL SHIFT LEVER KNOB BUTTON 
    1. Apply MP grease to the spring and shift lever knob button.
    2. Install the spring and shift lever knob button to the shift lever knob.
      Fig 33: Installing Spring & Shift Lever Knob Button
      G02865718Courtesy of © TOYOTA, LICENSE AGREEMENT TMS1002
  33. INSTALL FLOOR SHIFT LEVER KNOB SUB-ASSY 
    1. Install the shift lever knob with the 2 screws.
      Fig 34: Installing Shift Lever Knob
      G02865719Courtesy of © TOYOTA, LICENSE AGREEMENT TMS1002
    2. Connect the 2 wire harness of transmission control switch to the connector of indicator lamp wire.
    3. Install the wire harness with a new push nut to the shift lever plate as shown in the illustration.
    4. Fig 35: Installing Wire Harness To Shift Lever Plate
      G02865721Courtesy of © TOYOTA, LICENSE AGREEMENT TMS1002
    5. Connect the indicator lamp wire connector to the shift lever plate
  34. INSTALL FLOOR SHIFT ASSY 
    1. Install the floor shift assy with the 4 nuts.
      Fig 36: Installing Floor Shift Assy
      G02865722Courtesy of © TOYOTA, LICENSE AGREEMENT TMS1002

      Torque: 11.8 N.m (122 kgf.cm, 9 ft.lbf) 

      NOTE: Tighten them in the order, A, B, C and D.
    2. Connect the shift lock control ECU connector and indicator lamp wire connector.
    3. Connect the wire harness clamp.
      Fig 37: Connecting Shift Lock Control ECU & Indicator Lamp Connectors
      G02865723Courtesy of © TOYOTA, LICENSE AGREEMENT TMS1002
  35. CONNECT FLOOR SHIFT CABLE TRANSMISSION CONTROL SHIFT 
    1. Install the control cable to the shift lever plate.
      Fig 38: Installing Control Cable To Shift Lever Plate
      G02865724Courtesy of © TOYOTA, LICENSE AGREEMENT TMS1002
    2. Connect the control cable end to the floor shift assy.
      Fig 39: Connecting Control Cable End To Floor Shift Assy
      G02865725Courtesy of © TOYOTA, LICENSE AGREEMENT TMS1002
      NOTE: Install it with the uneven surface facing up.
  36. CONNECT FLOOR SHIFT PARKING LOCK CABLE ASSY 
    1. Pass the parking lock cable through the hole of shift lever plate.
    2. Insert the slide cap into the shift lever plate.
      Fig 40: Installing Parking Lock Cable Through Hole Of Shift Lever Plate
      G02865726Courtesy of © TOYOTA, LICENSE AGREEMENT TMS1002
    3. Apply MP grease to the shift lock release link.
    4. Insert the lever pin into the hole in the cable end.
      Fig 41: Inserting Lever Pin Into Hole In Cable End
      G02865727Courtesy of © TOYOTA, LICENSE AGREEMENT TMS1002
  37. CHECK KEY INTERLOCK OPERATION (See  ON-VEHICLE INSPECTION  ) 
  38. CHECK SHIFT LOCK OPERATION (See  ON-VEHICLE INSPECTION  ) 
  39. CHECK SHIFT LOCK RELEASE BUTTON OPERATION (See  ON-VEHICLE INSPECTION  )