LEMON Manuals: Even more car manuals for everyone: 1960-2025
Home >> Toyota >> 2003 >> Prius >> Repair and Diagnosis >> Body & Frame >> Windows >> Power Window Control System >> Inspection
April 5, 2026: LEMON Manuals is launched! Read the announcement.

Power Window Control System: Inspection

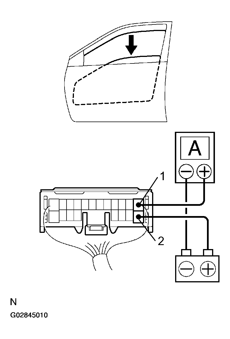
  1. INSPECT ONE TOUCH POWER WINDOW SYSTEM/ CURRENT OF CIRCUIT (Using an ammeter) 
    1. Disconnect the connector from the master switch.
    2. Connect the positive (+) lead from the ammeter to terminal 1 on the wire harness side connector and the negative (-) lead to negative (-) terminal of the battery.
    3. Connect the positive (+) lead from the battery to terminal 2 on the wire harness side connector.
    4. As the window goes down, check that the current flow is approximately 7 A.
      Fig 1: Checking Power Window System Amperage
      G02845010Courtesy of © TOYOTA, LICENSE AGREEMENT TMS1002
    5. Check that the current increases up to approximately 14.5 A or more when the window stops going down.
      NOTE: The PTC opens some 4-90 seconds after the window stops going down, so that check must be made before the PTC operates.

      If the operation is as specified, replace the master switch.

  2. INSPECT ONE TOUCH POWER WINDOW SYSTEM/ CURRENT OF CIRCUIT (Using an ammeter with a current-measuring probe) 
    1. Remove the driver door ECU with connectors connected.
    2. Attach a current-measuring probe to terminal 5 of the wire harness.
      Fig 2: Inspecting One Touch Power Window System Amperage
      G02845011Courtesy of © TOYOTA, LICENSE AGREEMENT TMS1002
    3. Turn the ignition switch ON and set the power window switch in the down position.
    4. As the window goes down, check that the current flow is approximately 7 A.
    5. Check that the current increases up to approximately 14.5 A or more when the window stops going down.
      NOTE:

      The PTC opens some 4 - 90 seconds after the window stops going down, so that check must be made before the PTC operates.

      If operation is as specified, replace the driver door ECU.

  3. INSPECT POWER WINDOW SWITCH CONTINUITY 
    Fig 3: Inspecting Power Window Switch Continuity
    G02845012Courtesy of © TOYOTA, LICENSE AGREEMENT TMS1002
    POWER WINDOW SWITCH CONTINUITY

    Switch position Tester connection Specified condition
    UP 2 - 3, 4 - 5 Continuity
    OFF 2 - 3 - 5 No continuity
    DOWN 2 - 4, 3 - 5 Continuity

    If continuity is not as specified, replace the switch.

  4. INSPECT  POWER WINDOW SWITCH CIRCUIT  )  .
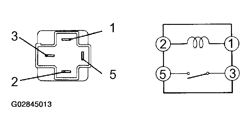
  5. INSPECT POWER MAIN RELAY CONTINUITY 
    Fig 4: Inspecting Power Main Relay Continuity
    G02845013Courtesy of © TOYOTA, LICENSE AGREEMENT TMS1002
    POWER MAIN RELAY CONTINUITY

    Condition Tester connection Specified condition
    Constant 1 - 2 Continuity
    Apply B+ between terminals 1 and 2 3 - 5 Continuity

    If continuity is not as specified, replace the relay.

  6. Driver's door: INSPECT POWER WINDOW MOTOR OPERATION 
    1. Connect the positive (+) lead from the battery to terminal 1 and the negative (-) lead to terminal 2, check that the motor turns clockwise.
      Fig 5: Inspecting Power Window Motor Operation (Driver's Door)
      G02845014Courtesy of © TOYOTA, LICENSE AGREEMENT TMS1002
    2. Reverse the polarity, check that the motor turns counterclockwise.
      Fig 6: Inspecting Power Window Motor Operation (Driver'S Door) (By Reversing Polarity)
      G02845015Courtesy of © TOYOTA, LICENSE AGREEMENT TMS1002

      If operation is not as specified, replace the motor.

      NOTE: Since the jam protection may not work properly be sure to conduct procedures described in "HOW TO RESET POWER MOTOR (RESET AND PULSE SWITCH )" after this inspection.
  7. Passenger's door and rear right door: INSPECT POWER WINDOW MOTOR OPERATION 
    1. Connect the positive (+) lead from the battery to terminal 1 and the negative (-) lead to terminal 2, check that the motor turns clockwise.
      Fig 7: Inspecting Power Window Motor Operation (Passenger'S Door And Rear Right Door)
      G02845016Courtesy of © TOYOTA, LICENSE AGREEMENT TMS1002
    2. Reverse the polarity, check that the motor turns counterclockwise.
      Fig 8: Inspecting Power Window Motor Operation (Passenger'S Door And Rear Right Door) (By Reversing Polarity)
      G02845017Courtesy of © TOYOTA, LICENSE AGREEMENT TMS1002

      If operation is not as specified, replace the motor.

  8. Rear left door: INSPECT POWER WINDOW MOTOR OPERATION 
    1. Connect the positive (+) lead from the battery to terminal 1 and the negative (-) lead to terminal 2, check that the motor turns clockwise.
      Fig 9: Inspecting Power Window Motor Operation (Rear Left Door)
      G02845018Courtesy of © TOYOTA, LICENSE AGREEMENT TMS1002
    2. Reverse the polarity, check that the motor turns counterclockwise.
      Fig 10: Inspecting Power Window Motor Operation (Rear Left Door) (By Reversing Polarity)
      G02845019Courtesy of © TOYOTA, LICENSE AGREEMENT TMS1002

      If operation is not as specified, replace the motor.

  9. Driver's door: INSPECT PTC OPERATION 
    1. Disconnect the connector from the window motor.
    2. Connect the positive (+) lead from the ammeter to terminal 1 of the wire harness side connector and the negative (-) lead to negative terminal of the battery.
      Fig 11: Inspecting PTC Operation (Driver'S Door)
      G02845020Courtesy of © TOYOTA, LICENSE AGREEMENT TMS1002
    3. Connect the positive (+) lead from the battery to terminal 2 of the wire harness side connector, and raise the window to the fully closed position.
    4. Continue to apply voltage, check that the current changes from approximately 14 A to less than 1 A within 4 to 90 seconds.
    5. Disconnect the leads from terminals.
    6. Approximately 90 seconds later, connect the positive (+) lead from the battery to terminal 1 and negative (-) lead to terminal 2, check that the window begins to descend.
      Fig 12: Inspecting PTC Operation (Driver'S Door)
      G02845021Courtesy of © TOYOTA, LICENSE AGREEMENT TMS1002

      If operation is not as specified, replace the motor.

  10. Except driver's door: INSPECT PTC OPERATION 
    1. Disconnect the connector from the power window switch.
    2. Connect the positive (+) lead from the ammeter to terminal 1 of the wire harness side connector and the negative (-) lead to negative terminal of the battery.
      Fig 13: Inspecting PTC Operation (Except Driver'S Door)
      G02845022Courtesy of © TOYOTA, LICENSE AGREEMENT TMS1002
    3. Connect the positive (+) lead from the battery to terminal 2 of the wire harness side connector, and raise the window to the fully closed position.
    4. Continue to apply voltage, check that the current changes from approximately 14 A to less than 1 A within 4 to 90 seconds.
    5. Disconnect the leads from terminals.
    6. Approximately 90 seconds later, connect the positive (+) lead from the battery to terminal 1 and the negative (-) lead to terminal 2, check that the window begins to descend.
      Fig 14: Inspecting PTC Operation (Except Driver's Door)
      G02845023Courtesy of © TOYOTA, LICENSE AGREEMENT TMS1002

      If operation is not as specified, replace the motor.

  11. INSPECT JAM PROTECTION FUNCTION 
    WARNING: Never, ever be caught any part of your body when checking.
    NOTE:

    In case of performing resetting of the limit switch, do checking after repeating up and down of the glass with automatic operation.

    1. Confirmation of AUTO up operation:

      Confirm that the window will be fully close with AUTO up operation.

    2. Checking of the operation of the jam protection function:
      1. Move up the window with AUTO up operation and check that the window will go down when it touches the handle of the hammer stetted.
      2. Confirm that the window will then stop going down about 200 mm.
        NOTE:

        In case of removing the glass, glass guide, regulator and etc. be sure to perform checking of the jam protection function. If the jam protection is not function properly, adjust power window motor reset switch and pulse switch.