LEMON Manuals: Even more car manuals for everyone: 1960-2025
Home >> Toyota >> 2003 >> RAV4 Base, AWD, Standard >> Repair and Diagnosis (Single Page) >> Body & Frame >> Windows >> Power Window Control System >> Inspection
April 5, 2026: LEMON Manuals is launched! Read the announcement.

Power Window Control System: Inspection

  1. INSPECT POWER WINDOW MASTER SWITCH CONTINUITY 
    Fig 1: Identifying Connector Terminals
    G02854918Courtesy of © TOYOTA, LICENSE AGREEMENT TMS1002

    Front driver's switch (Window unlock and lock): 

    POWER WINDOW MASTER SWITCH CONTINUITY

    Switch Position Tester Connection Specified Condition
    UP 4 - 7 Continuity
    UP 1-3-9 Continuity
    OFF 1-3-4 Continuity
    OFF 1-3-9 Continuity
    DOWN 7 - 9 Continuity
    DOWN 1-3-4 Continuity

    Front passenger's switch (Window unlock): 

    POWER WINDOW MASTER SWITCH CONTINUITY

    Switch Position Tester Connection Specified Condition
    UP 6 - 13 Continuity
    UP 1-3-15 Continuity
    OFF 1-3-13 Continuity
    OFF 1-3-15 Continuity
    DOWN 6 - 15 Continuity
    DOWN 1-3-13 Continuity

    Front passenger's switch (Window lock): 

    POWER WINDOW MASTER SWITCH CONTINUITY

    Switch Position Tester Connection Specified Condition
    UP 6 - 13 Continuity
    OFF 13 - 15 Continuity
    DOWN 6 - 15 Continuity

    Rear left switch (Window unlock): 

    POWER WINDOW MASTER SWITCH CONTINUITY

    Switch Position Tester Connection Specified Condition
    UP 6 - 12 Continuity
    UP 1-3-10 Continuity
    OFF 1-3-12 Continuity
    OFF 1-3-10 Continuity
    DOWN 6 - 10 Continuity
    DOWN 1-3-12 Continuity

    Rear left switch (Window lock): 

    POWER WINDOW MASTER SWITCH CONTINUITY

    Switch Position Tester Connection Specified Condition
    UP 6 - 12 Continuity
    OFF 10 - 12 Continuity
    DOWN 6 - 10 Continuity

    Rear right switch (Window unlock): 

    POWER WINDOW MASTER SWITCH CONTINUITY

    Switch Position Tester Connection Specified Condition
    UP 6 - 18 Continuity
    UP 1-3-16 Continuity
    OFF 1-3-18 Continuity
    OFF 1-3-16 Continuity
    DOWN 6 - 16 Continuity
    DOWN 1-3-18 Continuity

    Rear right switch (Window lock): 

    POWER WINDOW MASTER SWITCH CONTINUITY

    Switch Position Tester Connection Specified Condition
    UP 6 - 18 Continuity
    OFF 16 - 18 Continuity
    DOWN 6 - 16 Continuity

    If continuity and voltage is not as specified, replace the master switch.

  2. Using an ammeter: 
    1. INSPECT ONE TOUCH POWER WINDOW SYSTEM/ CURRENT OF CIRCUIT 
    2. Fig 2: Inspecting One Touch Power Window System/ Current Of Circuit
      G02854919Courtesy of © TOYOTA, LICENSE AGREEMENT TMS1002
    1. Disconnect the connector from the master switch.
    2. Connect the positive (+) lead from the ammeter to terminal 4 on the wire harness side connector and the negative (-) lead to negative (-) terminal of the battery.
    3. Connect the positive (+) lead from the battery to terminal 9 on the wire harness side connector.
    4. As the window goes down, check that the current flow is approximately 7 A.
    5. Check that the current increases up to approximately 14.5 A or more when the window stops going down.
    6. Fig 3: Checking Master Switch Operation
      G02854920Courtesy of © TOYOTA, LICENSE AGREEMENT TMS1002
    NOTE: The circuit breaker opens some 4 - 40 seconds after the window stops going down, so that check must be made before the circuit breaker operates.

    If the operation is not as specified, replace the master switch.

  3. Using an ammeter with a current-measuring probe: 
    1. INSPECT ONE TOUCH POWER WINDOW SYSTEM/ CURRENT OF CIRCUIT 
    2. Fig 4: Inspecting One Touch Power Window System
      G02854921Courtesy of © TOYOTA, LICENSE AGREEMENT TMS1002
    1. Remove the master switch with connector connected.
    2. Attach a current-measuring probe to terminal 5 of the wire harness.
    3. Turn the ignition switch ON and set the power window switch in the down position.
    4. As the window goes down, check that the current flow is approximately 7 A.
    5. Check that the current increases up to approximately 14.5 A or more when the window stops going down.
    6. Fig 5: Checking Master Switch Operation
      G02854922Courtesy of © TOYOTA, LICENSE AGREEMENT TMS1002
    NOTE: The circuit breaker opens some 4 - 40 seconds after the window stops going down, so that check must be made before the circuit breaker operates.

    If the operation is not as specified, replace the master switch.

  4. Passenger's and rear switch: 
    1. INSPECT PASSENGER'S AND REAR POWER WINDOW SWITCH CONTINUITY 
    2. Fig 6: Identifying Connector Terminals - Passenger & Rear Switch
      G02854923Courtesy of © TOYOTA, LICENSE AGREEMENT TMS1002
    REAR POWER WINDOW SWITCH CONTINUITY

    Switch Position Tester Connection Specified Condition
    UP 1 - 2 Continuity
    UP 3 - 4 Continuity
    OFF 1 - 2 Continuity
    OFF 3 - 5 Continuity
    DOWN 1 - 4 Continuity
    DOWN 3 - 5 Continuity

    If continuity is not as specified, replace the switch.

  5. Front left side door and rear right side door: 
    1. INSPECT POWER WINDOW MOTOR OPERATION 
    2. Fig 7: Inspecting Power Window Motor Operation
      G02854924Courtesy of © TOYOTA, LICENSE AGREEMENT TMS1002
    1. Connect the positive (+) lead from the battery to terminal 4 and the negative (-) lead to terminal 5, check that the motor turns clockwise.
    2. Reverse the polarity, check that the motor turns counterclockwise.
    3. Fig 8: Checking Motor Rotation
      G02854925Courtesy of © TOYOTA, LICENSE AGREEMENT TMS1002

    If operation is not as specified, replace the motor.

  6. Front right side door and rear left side door: 
    1. INSPECT POWER WINDOW MOTOR OPERATION 
    2. Fig 9: Inspecting Power Window Motor Operation
      G02854926Courtesy of © TOYOTA, LICENSE AGREEMENT TMS1002
    1. Connect the positive (+) lead from the battery to terminal 5 and the negative (-) lead to terminal 4, check that the motor turns clockwise.
    2. Reverse the polarity, check that the motor turns counterclockwise.
    3. Fig 10: Checking Motor Rotation
      G02854927Courtesy of © TOYOTA, LICENSE AGREEMENT TMS1002

    If operation is not as specified, replace the motor.

  7. INSPECT POWER WINDOW MOTOR PTC THERMISTOR OPERATION 
    Fig 11: Inspecting Power Window Motor PTC Thermistor Operation
    G02854928Courtesy of © TOYOTA, LICENSE AGREEMENT TMS1002
    1. Disconnect the connector from the Driver door Window motor.
    2. Connect the positive (+) lead from the ammeter to terminal 5 on the wire harness side connector and the negative (-) lead to negative terminal of the battery.
    3. Connect the positive (+) lead from the battery to terminal 4 on the wire harness side connector, and raise the window to the fully position.
    4. Continue to apply voltage, and check that the current changes to less than 1 A within 4 to 90 seconds.
    5. Disconnect the leads from the terminals.
    6. Approximately 60 seconds later, connect the positive (+) lead from the battery to terminal 5 and the negative (-) lead to terminal 4, and check that the window begins to descend.
    7. Fig 12: Checking Motor Rotation
      G02854929Courtesy of © TOYOTA, LICENSE AGREEMENT TMS1002

    If operation is not as specified, replace the motor.

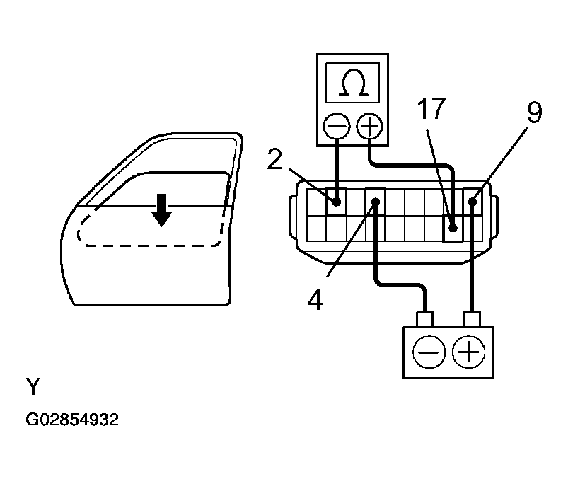
  8. Window up: 
    1. INSPECT FRONT WINDOW JAM PROTECTION LIMIT SWITCH OPERATION 
    2. Fig 13: Inspecting Front Window Jam Protection Limit Switch Operation
      G02854930Courtesy of © TOYOTA, LICENSE AGREEMENT TMS1002
    1. Disconnect the connector from the master switch.
    2. Connect the positive (+) lead from the ohmmeter to terminal 17 and the negative (-) lead to terminal 2.
    3. Connect the positive (+) lead from the battery to terminal 4 and the negative (-) lead to terminal 9.
    4. Check that the continuity exists when the window goes up.
    5. Check that the no continuity exists when the window is in the fully closed position.
    6. Fig 14: Checking Motor Operation
      G02854931Courtesy of © TOYOTA, LICENSE AGREEMENT TMS1002

    If operation is not as specified, replace the motor.

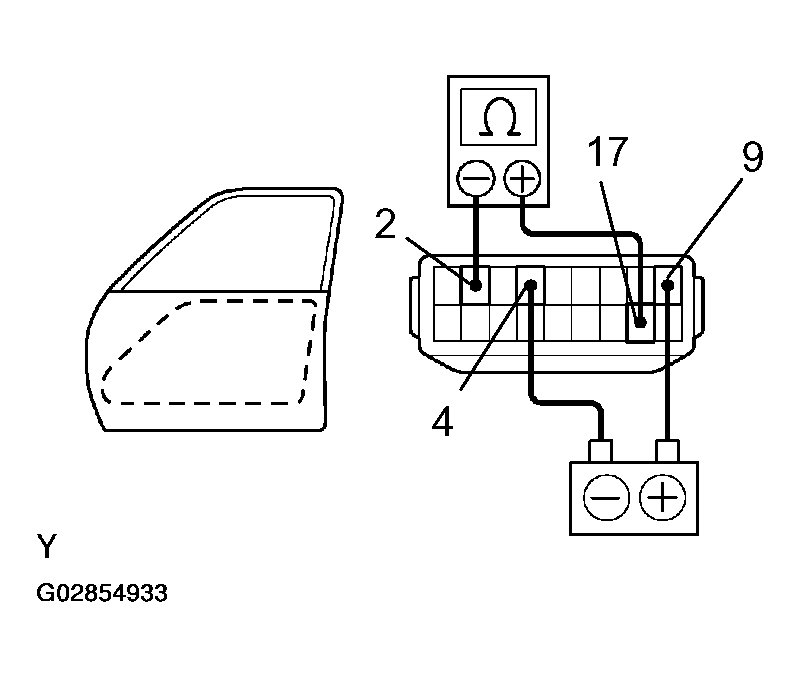
  9. Window down: 
    1. INSPECT FRONT WINDOW JAM PROTECTION LIMIT SWITCH OPERATION 
    2. Fig 15: Inspecting Front Window Jam Protection Limit Switch Operation
      G02854932Courtesy of © TOYOTA, LICENSE AGREEMENT TMS1002
    1. Connect the positive (+) lead from the ohmmeter to terminal 17 and the negative (-) lead to terminal 2.
    2. Connect the positive (+) lead from the battery to terminal 9 and the negative (-) lead to terminal 4.
    3. Check that the continuity exists when the window goes up.
    4. Check that the no continuity exists when the window is in the fully opened position.
    5. Fig 16: Checking Motor Rotation
      G02854933Courtesy of © TOYOTA, LICENSE AGREEMENT TMS1002
    NOTE: If connecting the wire harness wrongly, the sensor might be damaged so caution is necessary.
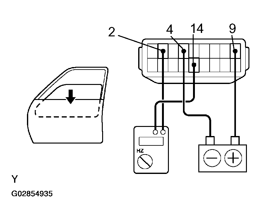
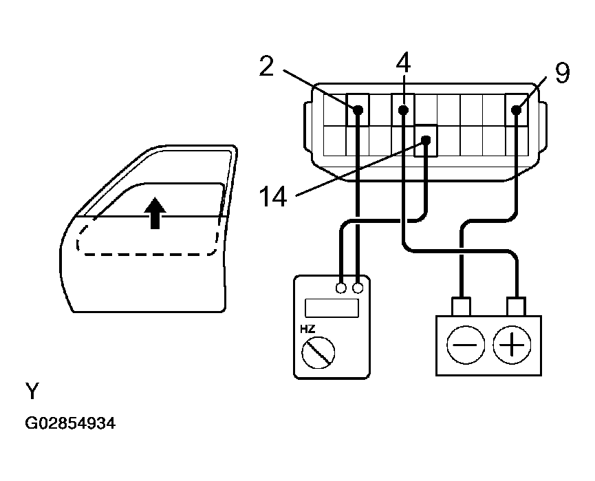
  10. INSPECT FRONT WINDOW JAM PROTECTION PULSE SWITCH OPERATION 
    Fig 17: Inspecting Front Window Jam Protection Pulse Switch Operation
    G02854934Courtesy of © TOYOTA, LICENSE AGREEMENT TMS1002
    1. Connect the positive (+) lead from the electrical tester to terminal 14 and the negative (-) lead to terminal 2.
    2. Connect the positive (+) lead from the battery to terminal 4 and the negative (-) lead to terminal 9.
    3. Check that pulse is generated during the motor running.
    4. Reverse the polarity and check that the pulse is generated.
    5. Fig 18: Checking Motor Rotation
      G02854935Courtesy of © TOYOTA, LICENSE AGREEMENT TMS1002

    If operation is not as specified, replace the motor.

    NOTE: If connecting the wire harness wrongly, the sensor might be damaged so caution is necessary.
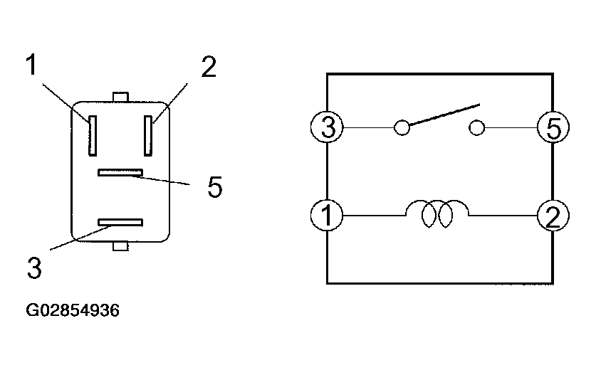
  11. INSPECT POWER RELAY CONTINUITY 
    Fig 19: Identifying Power Relay
    G02854936Courtesy of © TOYOTA, LICENSE AGREEMENT TMS1002
    POWER RELAY CONTINUITY

    Condition Tester Connection Specified Condition
    Constant 1 - 2 Continuity
    Apply B+ Between Terminals 1 And 2. 3 - 5 Continuity

    If continuity is not as specified, replace the relay.