LEMON Manuals: Even more car manuals for everyone: 1960-2025
Home >> Toyota >> 2003 >> RAV4 Base, AWD, Standard >> Repair and Diagnosis >> External Pages >> Different car >> Section 249 (Air Bag Restraint Systems) >> Diagnostics >> Retrieving DTCS >> Using Diagnosis Check Wire
April 5, 2026: LEMON Manuals is launched! Read the announcement.

Using Diagnosis Check Wire

WARNING: This page is about a different car, the 2003 Toyota 4Runner. However, it is still accessible from the selected car via links, so may be relevant.
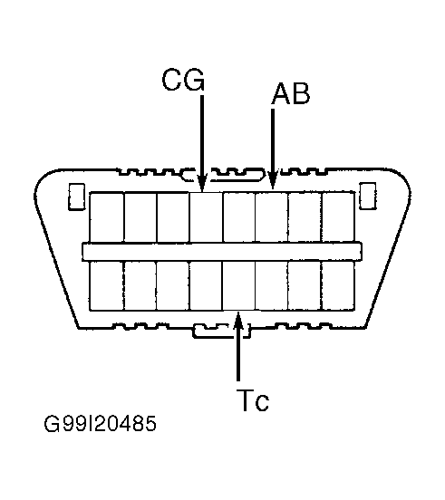
  1. To check for past codes, go to next step. To check for present codes, turn ignition switch to ON position. Wait about 20 seconds. Using Diagnosis Check Wire (09843-18040), connect terminals Tc and CG of Data Link Connector (DLC3). See Figure. DLC3 is located under left side of instrument panel. Go to step  3.
  2. To check for past codes, connect Diagnosis Check Wire (09843-18040) to terminals Tc and CG of Data Link Connector (DLC3). See Figure. Turn ignition switch to ON position. Wait about 60 seconds. Go to next step.
  3. If AIR BAG warning light flashes 2 times per second, system is normal (normal code). If AIR BAG warning light does not flash Diagnostic Trouble Codes (DTCs) or flashes DTCs without DLC3 connection, See DTCS NOT DISPLAYED OR CONTINUOUSLY DISPLAYED .
  4. If AIR BAG warning light flashes, count number of flashes to determine DTCs that are set. For example, DTC 12 is: FLASH, 1.5-second pause, FLASH, FLASH. If more than one DTC is displayed, a 2.5-second pause will occur between each DTC. Lowest numbered DTC will be displayed first, followed by next higher number DTC until all DTCs have been displayed.
  5. After all DTCs are displayed, a 4-second pause will occur, and DTC display will be repeated. See appropriate DTC under DIAGNOSTIC TESTS . After repairing, clear DTCs. See CLEARING DTCS  under DIAGNOSTICS.