LEMON Manuals: Even more car manuals for everyone: 1960-2025
Home >> Toyota >> 2003 >> RAV4 Base, AWD, Standard >> Repair and Diagnosis >> Suspension >> Wheel Alignment >> Front Wheel Alignment >> Inspection
April 5, 2026: LEMON Manuals is launched! Read the announcement.

Front Wheel Alignment: Inspection

  1. MEASURE VEHICLE HEIGHT 
    1. Bounce the vehicle.
    2. Measure the front vehicle height.

      Measure the distance from the ground to the center of the lower suspension arm front mounting bolt.

      Fig 1: Identifying Front & Rear Height
      G02854655Courtesy of © TOYOTA, LICENSE AGREEMENT TMS1002
    3. Measure the rear vehicle height.

      Measure the distance from the ground to the center of the body side No. 1 suspension arm mounting bolt.

      Front vehicle height: 

      Fig 2: Front Vehicle Height Table
      G02854653Courtesy of © TOYOTA, LICENSE AGREEMENT TMS1002

      Rear vehicle height: 

      Fig 3: Rear Vehicle Height Table
      G02854654Courtesy of © TOYOTA, LICENSE AGREEMENT TMS1002
  2. INSTALL CAMBER-CASTER-KINGPIN GAUGE AND POSITION VEHICLE ON WHEEL ALIGNMENT TESTER 
    Fig 4: Wheel Alignment Tester
    G02854656Courtesy of © TOYOTA, LICENSE AGREEMENT TMS1002

    Follow the specific instructions of the equipment manufacturer.

  3. INSPECT CAMBER, CASTER AND STEERING AXIS INCLINATION 

    Left-right error: 45' (0.75°) or less 

    CAMBER:

    2WD -0 °25' +/- 45' (-.0.42° +/- 0.75°)
    4WD -0 °20' +/- 45' (-0.33° +/- 0.75°)
    CASTER:

    2WD 2 °00' +/- 45' (2.00° +/- 0.75°)
    4WD -1 °55' +/- 45' (1.92° +/- 0.75°)
    STEERING AXIS INCLINATION:

    2WD 11 °00' +/- 45' (11.00° +/- 0.75°)
    4WD 10° 45'+/- 45' (10.75° +/- 0.75°)

    If the caster and steering axis inclination are not within the specification, after the camber has correctly adjusted, recheck the suspension parts for damaged and/or worn out parts.

  4. ADJUST CAMBER 
    NOTE: After the camber has been adjusted, inspect the toe-in.
    1. Remove the front wheel.
    2. Remove the 2 nuts on the lower side of the shock absorber.
    3. Coat the threads of the nuts with engine oil.
    4. Temporarily install the 2 nuts.
      Fig 5: Locating Lower Side Shock Absorber Nut
      G02854657Courtesy of © TOYOTA, LICENSE AGREEMENT TMS1002
    5. Adjust the camber by pushing or pulling the lower side of the shock absorber in the direction where the camber adjustment is required.
    6. Tighten the 2 nuts.
      1. Torque: 143 N.m (1,460 kgf.cm, 105 ft.lbf) 
    7. Install the front wheel.
      1. Torque: 103 N.m (1,050 kgf.cm, 76 ft.lbf) 
    8. Check the camber.
      NOTE:
      • Try to adjust the camber to the center of the specified value.
      • Adjusting value for the set bolts is 6' - 30' (0.1 ° - 0.5°).
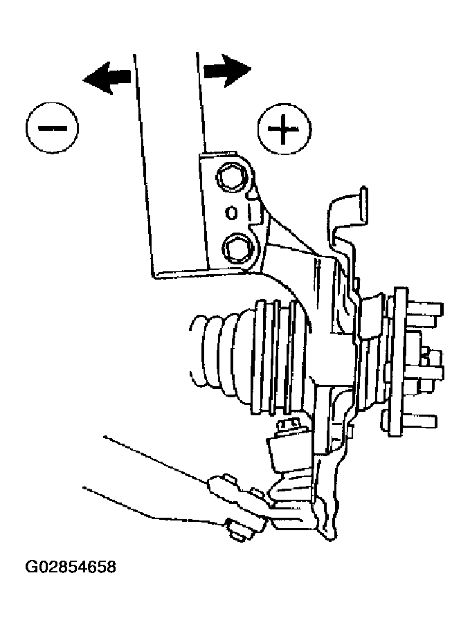
      Fig 6: Identifying Camber Adjusting Direction
      G02854658Courtesy of © TOYOTA, LICENSE AGREEMENT TMS1002
      Fig 7: Adjusting Bolts
      G02854659Courtesy of © TOYOTA, LICENSE AGREEMENT TMS1002

      If the camber is not within the specification, estimate how much additional camber adjustment will be required and select the camber adjusting bolt using the following table.

    9. Fig 8: Adjusting Bolt Specifications
      G02854660Courtesy of © TOYOTA, LICENSE AGREEMENT TMS1002
    10. Follow the above mentioned steps again. Between the step (b) and (c), exchange 1 or 2 selected bolts with used ones.
      NOTE: When exchanging the 2 bolts with used ones, exchange 1 bolt for each time.
  5. INSPECT TOE-IN 
    Fig 9: Adjusting Toe In Angle
    G02854662Courtesy of © TOYOTA, LICENSE AGREEMENT TMS1002
    Fig 10: Toe In Specifications
    G02854661Courtesy of © TOYOTA, LICENSE AGREEMENT TMS1002

    If the toe-in is not within the specification, adjust it.

  6. ADJUST TOE-IN 
    1. Remove the boot clips.
    2. Loosen the tie rod end lock nuts.
    3. Turn the left and right rack ends by an equal amount to adjust the toe-in.
      Fig 11: Adjusting Rack End
      G02854663Courtesy of © TOYOTA, LICENSE AGREEMENT TMS1002
      NOTE:
      • Try to adjust the toe-in to the center of the specified value.
      • Make sure that the length of the left and right rack ends is the same.
        Fig 12: Identifying The Length Of Rack End
        G02854664Courtesy of © TOYOTA, LICENSE AGREEMENT TMS1002

        Tie rod end length difference: 1.5 mm (0.059 in.) or less 

    4. Tighten the tie rod end lock nuts.
      1. Torque: 56 N.m (570 kgf.cm, 41 ft.lbf) 
    5. Place the boot on the seat and install the boot clips.
    NOTE: Make sure that the boots are not twisted.
  7. INSPECT WHEEL ANGLE 
    Fig 13: Checking Turning Angle
    G02854666Courtesy of © TOYOTA, LICENSE AGREEMENT TMS1002

    Turn the steering wheel fully and measure the turning angle.

    Wheel angle: 

    Fig 14: Wheel Angle Specifications
    G02854665Courtesy of © TOYOTA, LICENSE AGREEMENT TMS1002

    If the wheel angles differ from the specified value, check whether the length of the right and left rack ends is the same.