LEMON Manuals: Even more car manuals for everyone: 1960-2025
Home >> Toyota >> 2003 >> Tundra Base, Standard >> Repair and Diagnosis >> Body & Frame >> Seats >> Power Seat Control System >> Inspection
April 5, 2026: LEMON Manuals is launched! Read the announcement.

Power Seat Control System: Inspection

  1. INSPECT POWER SWITCH CONTINUITY 
    Fig 1: Inspecting Power Switch Continuity
    G02901827Courtesy of © TOYOTA, LICENSE AGREEMENT TMS1002
    POWER SWITCH CONTINUITY (SLIDE SWITCH)

    Switch position Tester connection Specified condition
    FRONT 1 - 9, 4 - 6 Continuity
    OFF 4 - 6 - 9 Continuity
    BACK 1 - 6, 4 - 9 Continuity
    POWER SWITCH CONTINUITY (FRONT TILT SWITCH)

    Switch position Tester connection Specified condition
    UP 1 - 10, 4 - 5 Continuity
    OFF 4 - 5 - 10 Continuity
    DOWN 1 - 5, 4 - 10 Continuity
    POWER SWITCH CONTINUITY (REAR LIFTER SWITCH)

    Switch position Tester connection Specified condition
    UP 1 - 7, 4 - 8 Continuity
    OFF 4 - 7 - 8 Continuity
    DOWN 1 - 8, 4 - 7 Continuity
    POWER SWITCH CONTINUITY (RECLINING SWITCH)

    Switch position Tester connection Specified condition
    FORWARD 1 - 3, 2 - 4 Continuity
    OFF 2 - 3 - 4 Continuity
    REAR 1 - 2, 3 - 4 Continuity

    If the continuity is not as specified, replace the switch.

  2. CHECK POWER SEAT SWITCH CIRCUIT 
    1. Disconnect the switch connector and connect the seat wire harness to the floor wire harness.
    2. Inspect the connector on the wire harness side.
      Fig 2: Identifying Power Seat Switch Circuit Connector
      G03310130Courtesy of © TOYOTA, LICENSE AGREEMENT TMS1002
      SPECIFIED CONDITION

      Tester connection Condition Specified condition
      4-Ground Constant continuity
      1-Ground Constant Battery positive voltage

      If the circuit is not as specified, inspect the circuits connected to other parts.

  3. INSPECT LUMBAR SUPPORT SWITCH CONTINUITY 
    Fig 3: Inspecting Lumbar Support Switch Continuity
    G03310131Courtesy of © TOYOTA, LICENSE AGREEMENT TMS1002
    SPECIFIED CONDITION

    Switch position Tester connection Specified condition
    FORWARD 1 - 4, 2 - 3 Continuity
    OFF 1 - 3, 2 - 3 Continuity
    RELEASE 1 - 3, 2 - 4 Continuity

    If the continuity is not as specified, replace the switch.

  4. CHECK LUMBAR SUPPORT SWITCH CIRCUIT 
    1. Disconnect the switch connector and connect the seat wire harness to the floor wire harness.
    2. Inspect the connector on the wire harness side.
      Fig 4: Identifying Lumbar Support Switch Circuit Connector
      G03310132Courtesy of © TOYOTA, LICENSE AGREEMENT TMS1002
      SPECIFIED CONDITION

      Tester connection Condition Specified condition
      3 - Ground Constant Continuity
      4 - Ground Constant Battery positive voltage

      If the circuit is not as specified, inspect the circuits connected to other parts.

  5. INSPECT SLIDE MOTOR OPERATION 
    1. Connect the positive (+) lead from the battery to terminal 1 and the negative (-) lead to terminal 2, check that the motor turns clockwise.
      Fig 5: Inspecting Slide Motor Operation
      G03310133Courtesy of © TOYOTA, LICENSE AGREEMENT TMS1002
    2. Reverse the polarity, check that the motor turns counterclockwise.

      If the operation is not as specified, replace the seat adjuster.

  6. INSPECT SLIDE MOTOR PTC THERMISTOR OPERATION 
    1. Connect the positive (+) lead from the battery to terminal 2, the positive (+) lead from the ammeter to terminal 1 and the negative (-) lead to the battery negative (-) terminal, then move the seat cushion to the rear position.
      Fig 6: Inspecting Slide Motor PTC Thermistor Operation (1 Of 2)
      G03310134Courtesy of © TOYOTA, LICENSE AGREEMENT TMS1002
    2. Continue to apply voltage, check that current changes to less than 1 ampere within 4 to 90 seconds.
    3. Disconnect the leads from terminals.
    4. Approximately 60 seconds later, connect the positive (+) lead from the battery to terminal 1 and the negative (-) lead to terminal 2, check that the seat cushion begins to move forwards.
      Fig 7: Inspecting Slide Motor PTC Thermistor Operation (2 Of 2)
      G03310135Courtesy of © TOYOTA, LICENSE AGREEMENT TMS1002

      If the operation is not as specified, replace the seat adjuster.

  7. INSPECT FRONT TILT MOTOR OPERATION 
    1. Connect the positive (+) lead from the battery to terminal 1 and the negative (-) lead to terminal 2, check that the motor turns clockwise.
      Fig 8: Inspecting Front Tilt Motor Operation
      G03310136Courtesy of © TOYOTA, LICENSE AGREEMENT TMS1002
    2. Reverse the polarity, check that the motor turns counterclockwise.

      If the operation is not as specified, replace the seat adjuster.

  8. INSPECT FRONT TILT MOTOR PTC THERMISTOR OPERATION 
    1. Connect the positive (+) lead from the battery to terminal 1, the positive (+) lead from the ammeter to terminal 2 and the negative (-) lead to the battery negative (-) terminal, then move the seat cushion to the highest position.
      Fig 9: Inspecting Front Tilt Motor PTC Thermistor Operation (1 Of 2)
      G03310137Courtesy of © TOYOTA, LICENSE AGREEMENT TMS1002
    2. Continue to apply voltage, check that the current changes to less than 1 ampere within 4 to 90 seconds.
    3. Disconnect the leads from the terminals.
    4. Approximately 60 seconds later, connect the positive (+) lead from the battery to terminal 2 and the negative (-) lead to terminal 1, check that the seat cushion begins to descend.
      Fig 10: Inspecting Front Tilt Motor PTC Thermistor Operation (2 Of 2)
      G03310138Courtesy of © TOYOTA, LICENSE AGREEMENT TMS1002

      If the operation is not as specified, replace the seat adjuster.

  9. INSPECT LIFTER MOTOR OPERATION 
    1. Connect the positive (+) lead from the battery to terminal 1 and the negative (-) lead to terminal 2, check that the motor turns clockwise.
      Fig 11: Inspecting Lifter Motor Operation
      G03310139Courtesy of © TOYOTA, LICENSE AGREEMENT TMS1002
    2. Reverse the polarity, check that the motor turns counterclockwise.

      If the operation is not as specified, replace the seat adjuster.

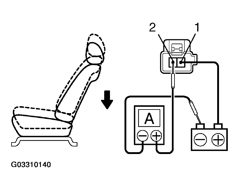
  10. INSPECT LIFTER MOTOR PTC THERMISTOR OPERATION 
    1. Connect the positive (+) lead from the battery to terminal 1, the positive (+) lead from the ammeter to terminal 2 and the negative (-) lead to the battery negative (-) terminal, then move the seat cushion to the lowest position.
      Fig 12: Inspecting Lifter Motor PTC Thermistor Operation (1 Of 2)
      G03310140Courtesy of © TOYOTA, LICENSE AGREEMENT TMS1002
    2. Continue to apply voltage, check that the current changes to less than 1 ampere within 4 to 90 seconds.
    3. Disconnect the leads from the terminals.
    4. Approximately 60 seconds later, connect the positive (+) lead from the battery to terminal 2 and the negative (-) lead to terminal 1, check that the seat cushion begins to ascend.
      Fig 13: Inspecting Lifter Motor PTC Thermistor Operation (2 Of 2)
      G03310141Courtesy of © TOYOTA, LICENSE AGREEMENT TMS1002

      If the operation is not as specified, replace the seat adjuster.

  11. INSPECT RECLINING MOTOR OPERATION 
    1. Connect the positive (+) lead from the battery to terminal 1 and the negative (-) lead to terminal 2, check that the motor turns clockwise.
      Fig 14: Inspecting Reclining Motor Operation
      G03310142Courtesy of © TOYOTA, LICENSE AGREEMENT TMS1002
    2. Reverse the polarity, check that the motor turns counterclockwise.

      If operation is not as specified, replace the seat adjuster.

  12. INSPECT RECLINING MOTOR PTC THERMISTOR OPERATION 
    1. Connect the positive (+) lead from the battery to terminal 2, the positive (+) lead from the ammeter to terminal 1 and the negative (-) lead to the battery negative (-) terminal, then recline the seat back to the most forward position.
      Fig 15: Inspecting Reclining Motor PTC Thermistor Operation (1 Of 2)
      G03310143Courtesy of © TOYOTA, LICENSE AGREEMENT TMS1002
    2. Continue to apply voltage, check that the current changes to less than 1 ampere within 4 to 90 seconds.
    3. Disconnect the leads from the terminals.
    4. Approximately 60 seconds later, connect the positive (+) lead from the battery to terminal 1 and the negative (-) lead to terminal 2, check that the seat back begins to fall backward.
      Fig 16: Inspecting Reclining Motor PTC Thermistor Operation (2 Of 2)
      G03310144Courtesy of © TOYOTA, LICENSE AGREEMENT TMS1002

      If operation is not as specified, replace the seat adjuster.

  13. INSPECT LUMBAR SUPPORT MOTOR OPERATION 
    1. Connect the positive (+) lead from the battery to terminal 1 and the negative (-) lead to terminal 2, check that the lumbar support moves to release side.
      Fig 17: Inspecting Lumbar Support Motor Operation (1 Of 2)
      G03310145Courtesy of © TOYOTA, LICENSE AGREEMENT TMS1002
    2. Reverse the polarity, check that the lumbar support moves forward.
      Fig 18: Inspecting Lumbar Support Motor Operation (2 Of 2)
      G03310146Courtesy of © TOYOTA, LICENSE AGREEMENT TMS1002

      If the operation is not as specified, replace the lumber support adjuster.

  14. INSPECT LUMBAR SUPPORT MOTOR CIRCUIT BREAKER OPERATION 
    1. Connect the positive (+) lead from the battery to terminal 2 and the negative (-) lead to terminal 1 on the lumbar support motor connector and move the lumbar support to front end position.
      Fig 19: Inspecting Lumbar Support Motor Circuit Breaker Operation (1 Of 2)
      G03310147Courtesy of © TOYOTA, LICENSE AGREEMENT TMS1002
    2. Continue to apply voltage, check that a circuit breaker operation noise can be heard within 4 to 60 seconds.
    3. Reverse the polarity, check that the lumbar support begins to move release side with in approximately 60 seconds.
      Fig 20: Inspecting Lumbar Support Motor Circuit Breaker Operation (2 Of 2)
      G03310148Courtesy of © TOYOTA, LICENSE AGREEMENT TMS1002

      If the operation is not as specified, replace the lumber support adjuster.