LEMON Manuals: Even more car manuals for everyone: 1960-2025
Home >> Toyota >> 2003 >> Tundra Base, Standard >> Repair and Diagnosis >> Body & Frame >> Windows >> Power Slide Back Window System >> Inspection
April 5, 2026: LEMON Manuals is launched! Read the announcement.

Power Slide Back Window System: Inspection

  1. INSPECT POWER SLIDE BACK WINDOW SWITCH CONTINUITY 
    Fig 1: Identifying Power Slide Back Window Switch Connector Terminals
    G02901791Courtesy of © TOYOTA, LICENSE AGREEMENT TMS1002
    POWER SLIDE BACK WINDOW SWITCH CONTINUITY

    Switch Position Tester Connection Specified Condition
    OPEN 1 - 3, 2 - 6 Continuity
    OFF 2 - 3, 2 - 6 Continuity
    CLOSE 1 - 6, 2 - 3 Continuity

    If the continuity is not as specified, replace the switch.

  2. CHECK POWER SLIDE BACK WINDOW MOTOR PTC THERMISTOR OPERATION 
    1. Disconnect the connector from the window motor.
    2. Connect the positive (+) lead from the ammeter to terminal 1 on the wire harness side connector and the negative (-) lead to the negative terminal of the battery.
      Fig 2: Checking Power Slide Back Window Motor PTC Thermistor Operation (1 Of 2)
      G02901792Courtesy of © TOYOTA, LICENSE AGREEMENT TMS1002
    3. Connect the positive (+) lead from the battery to terminal 2 on the wire harness side connector, and slide the window to the fully closed position.
    4. Continue to apply voltage and check that the current changes to less than 1 A in 4 to 90 seconds.
      Fig 3: Checking Power Slide Back Window Motor PTC Thermistor Operation (2 Of 2)
      G02901793Courtesy of © TOYOTA, LICENSE AGREEMENT TMS1002
    5. Disconnect the leads from the terminals.
    6. Approximately 60 seconds later, connect the positive (+) lead from the battery to terminal 1 and the negative (-) lead to terminal 2, and check that the window begins to slide open.

    If the operation is not as specified, replace the motor and regulator together.

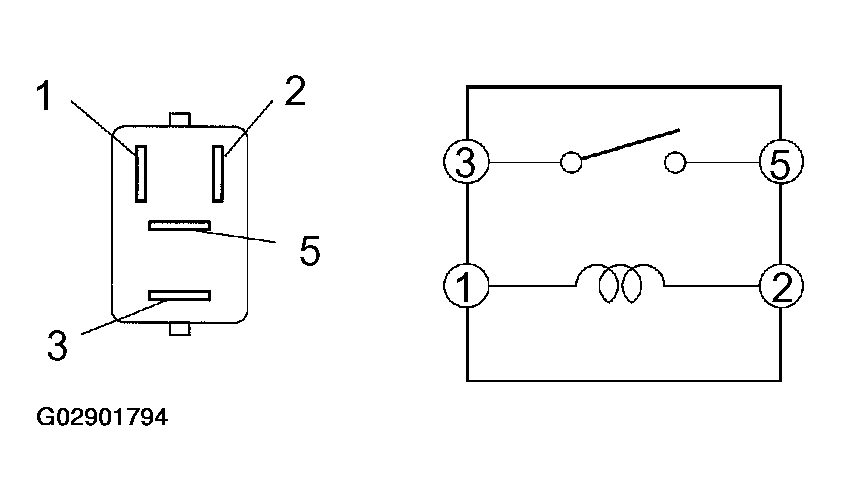
  3. INSPECT POWER RELAY CONTINUITY 
    Fig 4: Identifying Power Relay Terminals
    G02901794Courtesy of © TOYOTA, LICENSE AGREEMENT TMS1002
    POWER RELAY CONTINUITY

    Condition Tester Connection Specified Condition
    Constant 1 - 2 Continuity
    Apply B+ between terminals 1 and 2. 3 - 5 Continuity

    If the continuity is not as specified, replace the switch.

  4. CHECK INTEGRATION RELAY 
    Fig 5: Identifying Integration Relay Terminals
    G02901795Courtesy of © TOYOTA, LICENSE AGREEMENT TMS1002

    Remove the integration relay from the driver side junction block, and check the voltage or continuity of each terminal on the junction block side. (See step 7 or 8 of INSPECTION )