LEMON Manuals: Even more car manuals for everyone: 1960-2025
Home >> Toyota >> 2003 >> Tundra Base, Standard >> Repair and Diagnosis >> Body & Frame >> Windows >> Windshield >> Installation
April 5, 2026: LEMON Manuals is launched! Read the announcement.

Body & Frame: Windows: Windshield: Installation

  1. CLEAN AND SHAPE CONTACT SURFACE OF BODY 
    Fig 1: Cleaning & Shaping Contact Surface Of Body
    G02901997Courtesy of © TOYOTA, LICENSE AGREEMENT TMS1002
    1. Using a knife, cut away any rough areas on the body.
      NOTE: Leave as much of the adhesive on the body as possible.
    2. Clean the cutting surface of the adhesive with a shop rag saturated in cleaner.
    NOTE: Even if all the adhesive has been removed, clean the body.
  2. CLEAN REMOVED GLASS 
    Fig 2: Cleaning & Removing Glass
    G02901998Courtesy of © TOYOTA, LICENSE AGREEMENT TMS1002
    1. Remove the damaged stoppers and dam.
    2. Using a scraper, remove the adhesive sticking to the glass.
    3. Clean the glass with cleaner.
    NOTE: Do not touch the glass after cleaning it.
  3. INSTALL NEW STOPPERS 
    Fig 3: Installing New Stoppers
    G02901999Courtesy of © TOYOTA, LICENSE AGREEMENT TMS1002

    Attach new stoppers to the glass with the ceramic notches on the glass aligned with the stoppers as shown in the illustration.

  4. INSTALL NEW DAM 
    Fig 4: Installing New Dam
    G02902000Courtesy of © TOYOTA, LICENSE AGREEMENT TMS1002

    Install a new dam with double-stick tape as shown in the illustration.

    1. A: 7.0 mm (0.276 in.) 
    NOTE: Do not touch the glass surface after cleaning it.
  5. POSITION GLASS 
    1. Place the glass in the correct position.
    2. Fig 5: Placing Glass In Correct Position
      G02902001Courtesy of © TOYOTA, LICENSE AGREEMENT TMS1002
    3. Check that all contacting parts of the glass rim are perfectly even.
    4. Place reference marks between the glass and body.
    5. Remove the glass.
  6. CLEAN CONTACT SURFACE OF GLASS 
    Fig 6: Cleaning Contact Surface Of Glass
    G02902002Courtesy of © TOYOTA, LICENSE AGREEMENT TMS1002

    Using a cleaner, clean the contact surface which is black-colored area around the entire glass rim.

    NOTE: Do not touch the glass face after cleaning it.
  7. COAT CONTACT SURFACE OF BODY WITH PRIMER "M" 

    Using a brush, coat Primer M to the exposed part of body on the vehicle side.

    Fig 7: Coating Contact Surface Of Body With Primer "M" Using A Brush
    G02902003Courtesy of © TOYOTA, LICENSE AGREEMENT TMS1002
    NOTE:
    • Let the primer coating dry for 3 minutes or more.
    • Do not coat Primer M to the adhesive.
    • Do not keep any of the opened Primer M for later use.
  8. COAT CONTACT SURFACE OF GLASS WITH PRIMER "G" 
    1. Using a brush or sponge, coat the edge of the glass and the contact surface with Primer "G".
    2. Fig 8: Coating Contact Surface Of Glass With Primer "G" Using A Brush
      G02902004Courtesy of © TOYOTA, LICENSE AGREEMENT TMS1002
    3. When the primer is coated wrongly to the area other than the specified, wipe it off with a clean shop rag before the primer dries.
    NOTE:
    • Let the primer coating dry for 3 minutes or more.
    • Do not keep any of the opened Primer G for later use.
  9. APPLY ADHESIVE 
    1. Cut off the tip of the cartridge nozzle.
      Fig 9: Cutting Off Tip Of Cartridge Nozzle
      G02902005Courtesy of © TOYOTA, LICENSE AGREEMENT TMS1002
      1. Part No. 08850-00801 or equivalent 
      NOTE: After cutting off the tip, use all adhesive within the time described in the table below.
      TEMPERATURE-TACKFREE TIME

      Temperature Tackfree Time
      35 °C (95 °F) 15 Minutes
      20°C (68°F) 100 Minutes
      5 °C (41 °F) 8 Hours
    2. Load the cartridge into the sealer gun.
    3. Coat the glass with adhesive as shown in the illustration.
      1. A: 12 mm (0.47 in.) 
      2. B: 8 mm (0.31 in.) 
  10. INSTALL WINDSHIELD GLASS AND MOULDING 
    Fig 10: Installing Windshield Glass & Moulding
    G02902006Courtesy of © TOYOTA, LICENSE AGREEMENT TMS1002
    1. Install the glass, aligning the reference marks using a suction rubber.
      NOTE: Check that stoppers engage correctly viewing.
    2. Lightly press the glass front surface for close contact.
    3. Correct insufficient or protruded adhesive agent using a spatula.
      NOTE: Apply the adhesive agent up to the windshield glass edge.
      Fig 11: Applying Adhesive Agent Up To Windshield Glass Edge
      G02902007Courtesy of © TOYOTA, LICENSE AGREEMENT TMS1002
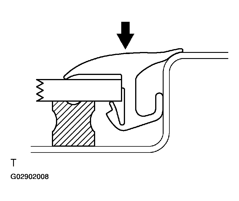
    4. Install a new windshield outside upper moulding to the windshield glass before the adhesive agent hardens.
    5. Fig 12: Installing A New Windshield Outside Upper Moulding To Windshield Glass Before Adhesive Agent Hardens
      G02902008Courtesy of © TOYOTA, LICENSE AGREEMENT TMS1002
    6. Using a scraper, remove any excessive adhesive agent before it hardens.
    7. Hold the glass and moulding in place securely with a protective tape or equivalent until the adhesive hardened.
    NOTE: Take care not to drive the vehicle during the time described in the table below.
    TEMPERATURE-MINIMUM TIME PRIOR TO DRIVING

    Temperature Minimum Time
    35 °C (95 °F) 1.5 Hours
    20 °C (68 °F) 5 Hours
    5 °C (41 °F) 24 Hours
  11. INSPECT FOR LEAKAGE AND REPAIR 
    NOTE: Conduct a leak test after the hardening time has elapsed.
  12. INSTALL WINDSHIELD OUTSIDE MOULDING 
    Fig 13: Installing Windshield Outside Moulding
    G02902009Courtesy of © TOYOTA, LICENSE AGREEMENT TMS1002
    1. Install the 4 screws and windshield outside moulding.
    2. Employ the same manner described above to the other side.
  13. INSTALL FRONT PART OF ROOF SIDE RAIL WEATHERSTRIP LH AND RH 

    Install the front part of roof side rail weatherstrip LH and RH.

  14. INSTALL COWL LOUVER 

    Install the cowl louver with the 8 screws and 6 clips.

  15. INSTALL WIPER ARMS 
    1. Operate the wipers once and turn the wiper switch OFF.
    2. Install the wiper arms and tighten the nuts by hand.
    3. Adjust the installation positions of the wiper arms to the positions shown in the illustration.
      Fig 14: Adjusting Installation Positions Of Wiper Arms To Positions
      G02902010Courtesy of © TOYOTA, LICENSE AGREEMENT TMS1002
      1. A: Approx. 25.7 mm (1.012 in.) 
      2. B: Approx. 39.7 mm (1.563 in.) 
      NOTE: When installing wiper arms, make sure that the tips of the blades are not beyond the ceramic edge as indicated by "C" part in the illustration.
    4. Torque the nuts.
      1. Torque: 20 N.m ( 204 kgf.cm, 15 ft.lbf) 
    5. Install the caps.
  16. INSTALL FRONT PART OF ROOF HEADLINING 
  17. INSTALL SUN VISOR HOLDERS 

    Install the 2 sun visor holders with the 2 screws.

  18. INSTALL FRONT PERSONAL LIGHT 
    1. Connect the connector, then install the front personal light.
    2. Install the 2 screws and the clip.
      NOTE: When installing the front personal light, attach the clip to the housing and push it to the bracket.
    3. Install the left side lens.
  19. INSTALL SUB-VISORS 

    Install the 2 sub-visors with the 4 screws.

  20. INSTALL SUN VISORS 
    1. w/ Light:
      1. Connect the connector.
    2. Install the 2 sun visors with the 4 screws.
  21. INSTALL FRONT PILLAR GARNISH 
    Fig 15: Installing Front Pillar Garnish
    G02902011Courtesy of © TOYOTA, LICENSE AGREEMENT TMS1002
    1. Install the front pillar garnish.
    2. Employ the same manner described above to the other side.
  22. INSTALL ASSIST GRIPS 
    Fig 16: Installing Assist Grips
    G02902012Courtesy of © TOYOTA, LICENSE AGREEMENT TMS1002
    1. Driver's side:
      1. Using a torx socket wrench, install the assist grip with the 2 torx screws.
      2. Torx driver: T30 (Part No. 09041-00030 or locally manufactured tool) 
    2. Passenger's side:
      1. Using a torx socket wrench, install the 2 assist grips with the 4 torx screws.
      2. Torx driver: T30 (Part No. 09041-00030 or locally manufactured tool) 
    3. Install the caps.
  23. INSTALL INNER REAR VIEW MIRROR 
    Fig 17: Installing Inner Rear View Mirror
    G02902013Courtesy of © TOYOTA, LICENSE AGREEMENT TMS1002

    Install the inner rear view mirror as shown in the illustration.