LEMON Manuals: Even more car manuals for everyone: 1960-2025
Home >> Toyota >> 2004 >> ECHO 2D Sedan, Standard >> Repair and Diagnosis >> Body & Frame >> Windows >> Windshield >> Installation
April 5, 2026: LEMON Manuals is launched! Read the announcement.

Body & Frame: Windows: Windshield: Installation

  1. CLEAN AND SHAPE CONTACT SURFACE OF BODY 
    1. Using a knife, cut away any rough adhesive on the contact surface of the body to ensure the appropriate surface shape.

      HINT:

      Leave as much of the adhesive on the body as possible.

    2. Clean the contact surface of the body with piece of shop rag saturated with cleaner.

      HINT:

      Even if all the adhesive has been removed, clean the body.

      Fig 1: Removing Adhesive From Body
      G02907132Courtesy of © TOYOTA, LICENSE AGREEMENT TMS1002
  2. CLEAN REMOVED GLASS 
    1. Using a scraper, remove the damaged stopper, dam and adhesive sticking to the glass.
    2. Clean the glass with cleaner.
      NOTE:
      • Do not touch the glass face after cleaning it. 
      • Be careful not to damage the glass. 
      Fig 2: Removing Damaged Stopper, Dam & Adhesive From Glass
      G02907133Courtesy of © TOYOTA, LICENSE AGREEMENT TMS1002
  3. INSTALL NEW STOPPERS 

    Install new stoppers onto the glass.

    Fig 3: Identifying Stoppers Installing Dimensions
    G02907134Courtesy of © TOYOTA, LICENSE AGREEMENT TMS1002
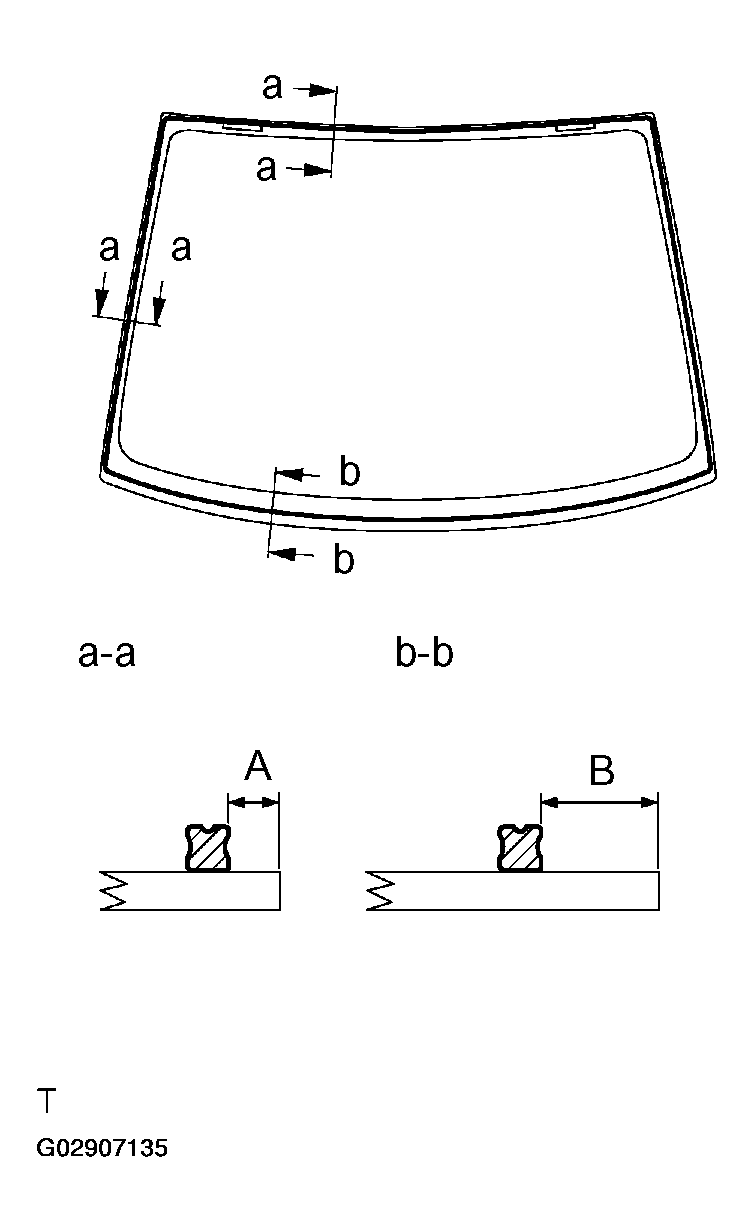
  4. INSTALL NEW DAM 

    Install a new dam with adhesive tape as shown in Fig 4 .

    A: 7.0 mm (0.276 in.) 

    B: 23.5 mm (0.925 in.) 

    Fig 4: Identifying Dam Installing Dimensions
    G02907135Courtesy of © TOYOTA, LICENSE AGREEMENT TMS1002
  5. POSITION GLASS 
    1. Using a suction cup, place the glass in the correct position.
    2. Check that all contacting parts of the glass rim are perfectly even.
    3. Place reference marks between the glass and body.
    4. Remove the glass.
      Fig 5: Aligning Reference Marks & Placing Glass
      G02907136Courtesy of © TOYOTA, LICENSE AGREEMENT TMS1002
  6. CLEAN CONTACT SURFACE OF GLASS 

    Using a cleaner, clean the contact surface around the entire glass rim.

    NOTE: Do not touch the glass face after cleaning it. 
    Fig 6: Cleaning Contact Surface Of Glass
    G02907137Courtesy of © TOYOTA, LICENSE AGREEMENT TMS1002
  7. COAT CONTACT SURFACE OF BODY WITH PRIMER M 

    Using a brush, coat the exposed part of the body on the vehicle side with primer M.

    NOTE:
    • Allow the primer coating to dry for 3 minutes or more. 
    • Do not coat Primer M to the adhesive. 
    • Throw away any opened Primer M. 
    Fig 7: Applying Coat Over Body Contact Surface
    G02907138Courtesy of © TOYOTA, LICENSE AGREEMENT TMS1002
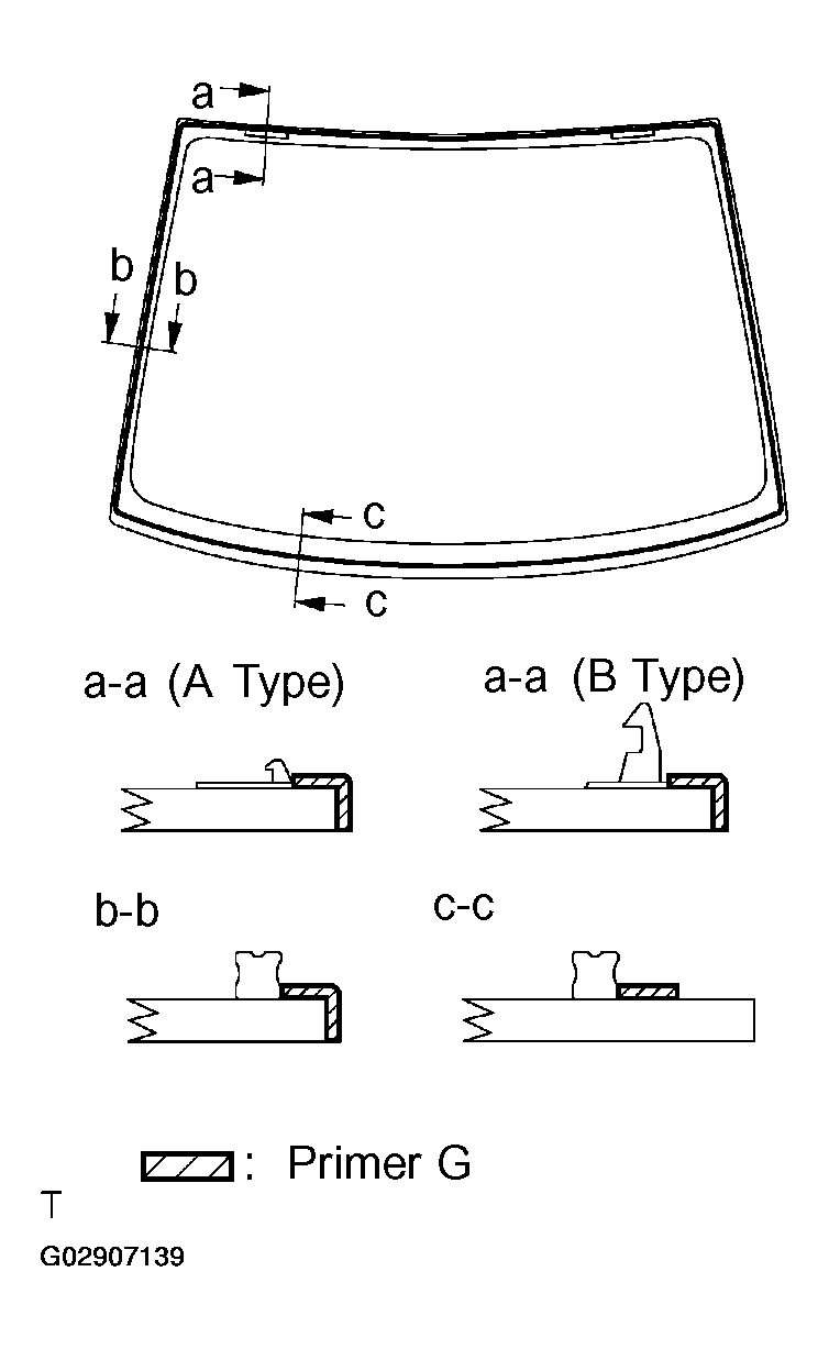
  8. COAT CONTACT SURFACE OF GLASS WITH PRIMER G 
    1. Using a brush or a sponge, coat the edge of the glass and the contact surface with Primer G.
    2. If the primer is coated to the area other than that specified by accident, wipe it off with a clean shop rag before the primer dries.
      NOTE:
      • Allow the primer coating to dry for 3 minutes or more. 
      • Throw away any opened Primer G. 
  9. APPLY ADHESIVE 
    1. Cut off the tip of the cartridge nozzle.

      Part No. 08850-00801 or equivalent 

      HINT:

      After cutting off the tip, use all adhesive within the time described in ADHESIVE USAGE SPECIFICATIONS  .

      ADHESIVE USAGE SPECIFICATIONS

      Temperature Tackfree time
      35°C (95°F) 15 minutes
      20°C (68°F) 100 minutes
      5°C (41°F) 8 hours
    2. Load the cartridge into the sealer gun.
      Fig 8: Identifying Coating Contact Surface Area Of Glass With Primer G
      G02907139Courtesy of © TOYOTA, LICENSE AGREEMENT TMS1002
    3. Coat the glass with adhesive, as shown in Fig 9 .

      A: 12.5 mm (0.492 in.) 

      B: 8.0 mm (0.315 in.) 

      Fig 9: Identifying Coating Area Of Glass With Adhesive
      G02907140Courtesy of © TOYOTA, LICENSE AGREEMENT TMS1002
  10. INSTALL WINDSHIELD GLASS AND MOULDING 
    1. Using a suction cup, install the glass, aligning the reference marks.

      HINT:

      Check to see that the stoppers are attached to the body correctly

    2. Lightly press the glass front surface for close contact.
      Fig 10: Installing Windshield Glass
      G02907141Courtesy of © TOYOTA, LICENSE AGREEMENT TMS1002
    3. Correct insufficient or protruded adhesive agent using a spatula.

      HINT:

      Apply adhesive agent up to the windshield glass edge.

      Fig 11: Identifying Proper Way Of Applying Adhesive
      G02907142Courtesy of © TOYOTA, LICENSE AGREEMENT TMS1002
    4. Install a new windshield moulding to the windshield glass before the adhesive agent hardens.

      HINT:

      Install the moulding, aligning the center of the moulding with the center of the body.

    5. Remove any excessive adhesive agent before it hardens.
    6. Hold the glass and moulding in place securely with a protective tape or equivalent until the adhesive hardens.
      Fig 12: Installing Windshield Moulding To Windshield Glass
      G02907143Courtesy of © TOYOTA, LICENSE AGREEMENT TMS1002
    NOTE: Take care not to drive the vehicle during the time described in  VEHICLE DRIVING TIME DESCRIPTIONS   . 
    VEHICLE DRIVING TIME DESCRIPTIONS

    Temperature Minimum time prior to driving the vehicle
    35°C (95°F) 1.5 hours
    20°C (68°F) 5 hours
    5°C (41°F) 24 hours
  11. INSPECT FOR LEAK AND REPAIR 
    NOTE: Conduct a leak test after the hardening time has elapsed. 
  12. INSTALL FRONT SIDE OF ROOF HEADLINING 

    Sedan model: (See  INSTALLATION  or  INSTALLATION  ) 

    Hatchback model: (See  INSTALLATION  ) 

  13. INSTALL ASSIST GRIP 
  14. INSTALL COWL TOP VENTILATOR LOUVERS 
  15. INSTALL COWL TOP VENTILATOR CENTER AND HOOD TO COWL TOP SEAL 
  16. INSTALL WIPER ARMS 
    1. Operate the wiper motor once and turn the wiper switch OFF.
    2. Install the wiper arms and tighten the nuts by hand.
    3. Adjust the installation positions of the wiper arms to the positions as shown in Fig 13 .

      A: Approx. 35.3 mm (1.39 in.) 

      B: Approx. 30.0 mm (1.18 in.) 

      Fig 13: Identifying Wiper Arms Adjusting Dimensions
      G02907144Courtesy of © TOYOTA, LICENSE AGREEMENT TMS1002
    4. Torque the nuts.

      Torque: 20 N.m (205 kgf.cm, 15 ft.lbf 

    5. Install the 2 wiper arm head caps.
  17. INSTALL FRONT PILLAR GARNISHES 
  18. INSTALL SUN VISORS AND HOLDERS 
  19. INSTALL INNER REAR VIEW MIRROR