LEMON Manuals: Even more car manuals for everyone: 1960-2025
Home >> Toyota >> 2004 >> ECHO 2D Sedan, Standard >> Repair and Diagnosis >> Engine Performance >> Engine Control Systems >> SFI System >> Knock Sensor >> Inspection
April 5, 2026: LEMON Manuals is launched! Read the announcement.

Knock Sensor: Inspection

  1. REMOVE THROTTLE BODY (See  REMOVAL   ) 
  2. REMOVE INTAKE MANIFOLD (See  REMOVAL  ) 
  3. REMOVE KNOCK SENSOR 
    1. Disconnect the knock sensor connector.
    2. Using SST, remove the knock sensor.

      SST 09816-30010

      Fig 1: Removing Knock Sensor
      G02906224Courtesy of © TOYOTA, LICENSE AGREEMENT TMS1002
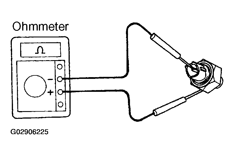
  4. INSPECT KNOCK SENSOR 

    Using an ohmmeter, check that there is continuity between the terminal and body.

    If there is continuity, replace the sensor.

  5. REINSTALL KNOCK SENSOR 
    1. Using SST, install the knock sensor.

      SST 09816-30010

    2. Connect the knock sensor connector.
      Fig 2: Inspecting Knock Sensor
      G02906225Courtesy of © TOYOTA, LICENSE AGREEMENT TMS1002
  6. REINSTALL INTAKE MANIFOLD (See  INSTALLATION  ) 
  7. REINSTALL THROTTLE BODY (See  INSTALLATION   )