LEMON Manuals: Even more car manuals for everyone: 1960-2025
Home >> Toyota >> 2004 >> Matrix Base, 4WD >> Repair and Diagnosis >> External Pages >> Different car >> Section 1000 (Fog Light System) >> Inspection
April 5, 2026: LEMON Manuals is launched! Read the announcement.

Section 1000 (Fog Light System): Inspection

WARNING: This page is about a different car, the 2004 Lexus IS 300. However, it is still accessible from the selected car via links, so may be relevant.
  1. INSPECT FRONT FOG LIGHT SWITCH CONTINUITY 
    FRONT FOG LIGHT SWITCH TERMINALS CONTINUITY

    Switch position Tester connection Specified condition
    OFF - No continuity
    ON 10-11 Continuity

    If continuity is not as specified, replace the switch.

    Fig 1: Inspecting Front Fog Light Switch Continuity
    G03494226Courtesy of © TOYOTA, LICENSE AGREEMENT TMS1002
  2. Connector disconnected: 

    INSPECT FRONT FOG LIGHT SWITCH CIRCUIT 

    Disconnect the connector from the switch and inspect the connector on the wire harness side, as shown in Fig 2 .

    Fig 2: Inspecting Front Fog Light Switch Circuit (Connector Disconnected)
    G03494227Courtesy of © TOYOTA, LICENSE AGREEMENT TMS1002
    FRONT FOG LIGHT SWITCH TERMINALS CONTINUITY

    Tester connection Condition Specified condition
    10-17 Always Continuity

    If circuit is not as specified, inspect the wire harness.

  3. Connector connected: 

    INSPECT FRONT FOG LIGHT SWITCH CIRCUIT 

    Connect the wire harness side connector to the light control and dimmer switch and inspect the connector from the backside, as shown in Fig 3 .

    Fig 3: Inspecting Front Fog Light Switch Circuit (Connector Connected)
    G03494228Courtesy of © TOYOTA, LICENSE AGREEMENT TMS1002
    FRONT FOG LIGHT SWITCH TERMINALS VOLTAGE

    Tester connection Condition Specified condition
    11 - Ground Light control switch HEAD and headlight dimmer switch LO and fog light switch ON No voltage
    11 - Ground Light control switch HEAD and headlight dimmer switch LO and fog light switch OFF Battery Positive Voltage

    If circuit is not as specified, inspect the wire harness.

  4. INSPECT REAR FOG LIGHT SWITCH CIRCUIT 

    Disconnect the connector from the switch and inspect the connector on the wire harness side, as shown in Fig 4 .

    Fig 4: Inspecting Rear Fog Light Switch Circuit
    G03494229Courtesy of © TOYOTA, LICENSE AGREEMENT TMS1002
    REAR FOG LIGHT SWITCH TERMINALS CONTINUITY

    Tester connection Condition Specified condition
    1 - Ground Always (1) Continuity
    2 - Ground Light control switch TAIL or HEAD Continuity
    3 - Ground Always Battery voltage
    5 - Ground Light control switch HEAD Continuity
    7 - Ground Always Continuity
    8 - Ground Always Continuity
    (1) There is resistance because this circuit is ground through the bulb.

    If the circuit is not as specified, replace the wire harness.

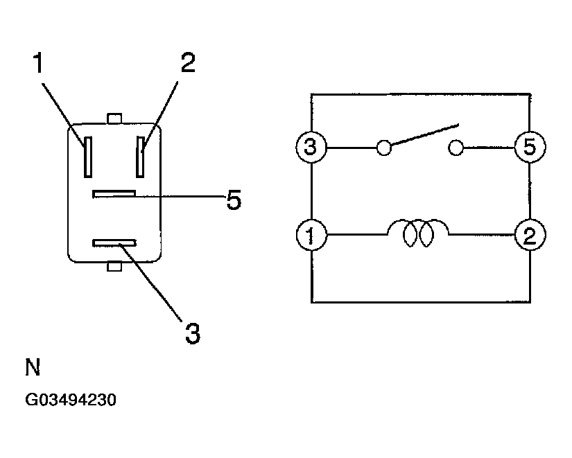
  5. INSPECT FRONT FOG LIGHT RELAY CONTINUITY 
    FRONT FOG LIGHT RELAY TERMINALS CONTINUITY

    Condition Tester connection Specified condition
    Always 1-2 Continuity
    Apply B+ between terminals 1 and 2. 3-5 Continuity

    If continuity is not as specified, replace the relay.

    Fig 5: Inspecting Front Fog Light Relay Continuity
    G03494230Courtesy of © TOYOTA, LICENSE AGREEMENT TMS1002