LEMON Manuals: Even more car manuals for everyone: 1960-2025
Home >> Toyota >> 2004 >> Matrix Base, 4WD >> Repair and Diagnosis >> External Pages >> Different car >> Section 1005 (Headlight Cleaner System) >> Inspection
April 5, 2026: LEMON Manuals is launched! Read the announcement.

Section 1005 (Headlight Cleaner System): Inspection

WARNING: This page is about a different car, the 2004 Lexus IS 300. However, it is still accessible from the selected car via links, so may be relevant.
  1. INSPECT HEADLIGHT CLEANER SWITCH CONTINUITY 
    HEADLIGHT CLEANER SWITCH TERMINALS CONTINUITY

    Switch position Tester connection Specified condition
    OFF - No continuity
    ON 1-4 Continuity
    Illumination circuit 2-3 Continuity

    If continuity is not as specified, replace the switch.

    Fig 1: Identifying Headlight Cleaner Switch Terminals
    G03494276Courtesy of © TOYOTA, LICENSE AGREEMENT TMS1002
  2. INSPECT HEADLIGHT CLEANER SWITCH CIRCUIT 

    Disconnect the switch connector and inspect the connector on wire harness side, as shown in Fig 2 .

    Fig 2: Identifying Headlight Cleaner Switch Terminals (Wire Harness Side)
    G03494277Courtesy of © TOYOTA, LICENSE AGREEMENT TMS1002
    HEADLIGHT CLEANER SWITCH TERMINALS CONTINUITY

    Tester connection Condition Specified condition
    1 - Ground Headlight ON Continuity
    1 - Ground Headlight OFF No continuity

    If circuit is not as specified, inspect the circuits connected to other parts.

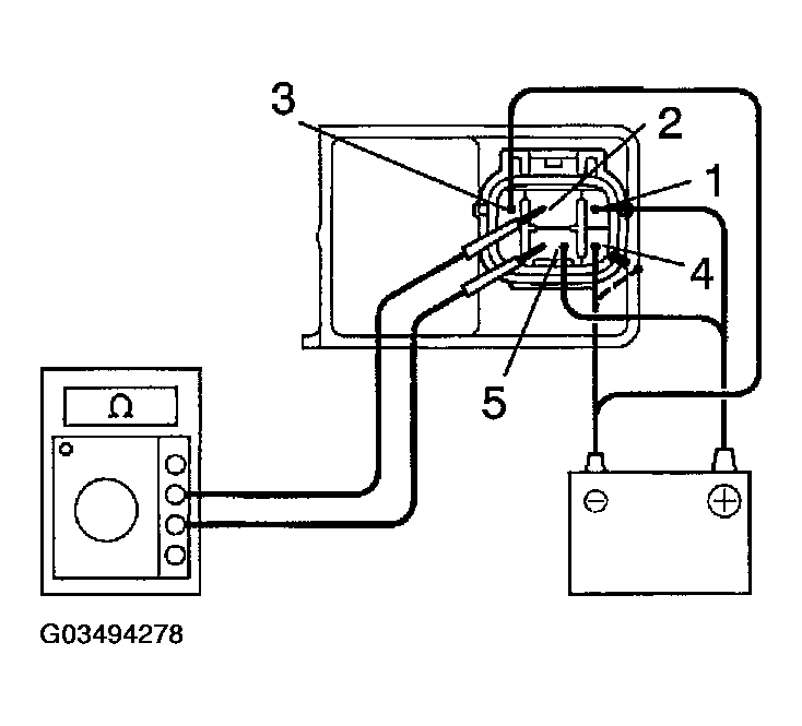
  3. INSPECT HEADLIGHT CLEANER RELAY OPERATION 
    1. Check that no continuity exists between terminals 2 and 5.
    2. Connect the positive (+) lead from the battery to terminals 1 and 5, and the negative (-) lead to terminal 3.
    3. Connect the negative (-) lead from the battery to terminal 4, and check that continuity exists between terminals 2 and 5 for 0.9 - 1.1 seconds, then no continuity exists.

    If operation is not as specified, replace the motor.

    Fig 3: Checking Headlight Cleaner Relay Operation
    G03494278Courtesy of © TOYOTA, LICENSE AGREEMENT TMS1002
  4. INSPECT HEADLIGHT CLEANER RELAY CIRCUIT 

    Disconnect the connector from the relay and inspect the connector on wire harness side, as shown in Fig 4 .

    Fig 4: Identifying Headlight Cleaner Relay Connector Terminals
    G03494279Courtesy of © TOYOTA, LICENSE AGREEMENT TMS1002
    HEADLIGHT CLEANER RELAY CONNECTOR TERMINALS CONTINUITY

    Tester connection Condition Specified condition
    2 - Ground
    3 - Ground
    Always Continuity
    4 - Ground Ignition switch ON, light control switch in HEAD and cleaner switch OFF No continuity
    4 - Ground Ignition switch ON, light control switch in HEAD and cleaner switch ON or daytime running light system operating Continuity
    1 - Ground Ignition switch OFF or ACC No voltage
    1 - Ground Ignition switch ON Battery voltage
    5 - Ground Always Battery voltage

    If circuit is not as specified, inspect the circuits connected to other parts.

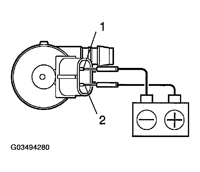
  5. INSPECT HEADLIGHT CLEANER MOTOR OPERATION 

    Connect the positive (+) lead from the battery to terminal 2 and the negative (-) lead to terminal 1, check that the motor operates.

    NOTE: These tests must be performed quickly (within 20 seconds) to prevent the coil from burning out. 

    If operation is not as specified, replace the motor.

    Fig 5: Checking Headlight Cleaner Motor Operation
    G03494280Courtesy of © TOYOTA, LICENSE AGREEMENT TMS1002
  6. INSPECT HEADLIGHT CLEANER MOTOR CIRCUIT 

    Disconnect the connector from the cleaner motor and inspect the connector on wire harness side, as shown in Fig 6 .

    Fig 6: Identifying Headlight Cleaner Motor Connector Terminals
    G03494281Courtesy of © TOYOTA, LICENSE AGREEMENT TMS1002
    HEADLIGHT CLEANER MOTOR CONNECTOR TERMINALS CONTINUITY

    Tester connection Condition Specified condition
    2 - Ground Always Continuity

    If circuit is not as specified, inspect the circuits connected to other parts.