LEMON Manuals: Even more car manuals for everyone: 1960-2025
Home >> Toyota >> 2004 >> Matrix Base, 4WD >> Repair and Diagnosis >> External Pages >> Different car >> Section 1032 (Steering Column) >> Steering >> Repair
April 5, 2026: LEMON Manuals is launched! Read the announcement.

Section 1032 (Steering Column): Steering: Repair

WARNING: This page is about a different car, the 2004 Toyota Prius. However, it is still accessible from the selected car via links, so may be relevant.
  1. STEERING OFF CENTER REPAIR PROCEDURE 
    1. Inspect steering wheel off center.
      1. Apply masking tape on the top center of the steering wheel and steering column upper cover.
      2. Drive the vehicle in a straight line for 100 meters at a constant speed of 35 mph (56 km/h), and hold the steering wheel to maintain the course.
        Fig 1: Identifying Top Center Of Steering Wheel
        G00933885Courtesy of © TOYOTA, LICENSE AGREEMENT TMS1002
      3. Draw a line on the masking tape as shown in the illustration.
        Fig 2: Drawing Line On Masking Tape
        G00933886Courtesy of © TOYOTA, LICENSE AGREEMENT TMS1002
      4. Turn the steering wheel to the center position.
        Fig 3: Turning Steering Wheel To Center Position
        G00933887Courtesy of © TOYOTA, LICENSE AGREEMENT TMS1002

        HINT:

        Look at the upper surface of the steering wheel, steering spoke and SRS airbag line to find the center position.

      5. Draw a new line on the masking tape on the steering wheel as shown in the illustration.
      6. Measure the distance between the 2 lines on the masking tape on the steering wheel.
      7. Convert the measured distance to steering angle.

        Measured distance 1 mm (0.04 in.) = Steering angle of approximately 1 degree. 

        HINT:

        Make a note of the steering angle.

    2. Adjust steering angle.
      1. Draw a line on the RH and LH tie rod ends and rack ends respectively where it can be easily seen.
      2. Using a paper gauge, measure the distance from the RH and LH tie rod ends to the rack end screws.
        Fig 4: Identifying Marked Line
        G00933888Courtesy of © TOYOTA, LICENSE AGREEMENT TMS1002

        HINT:

        • Measure both the RH and LH sides.
        • Make a note of the measured values.
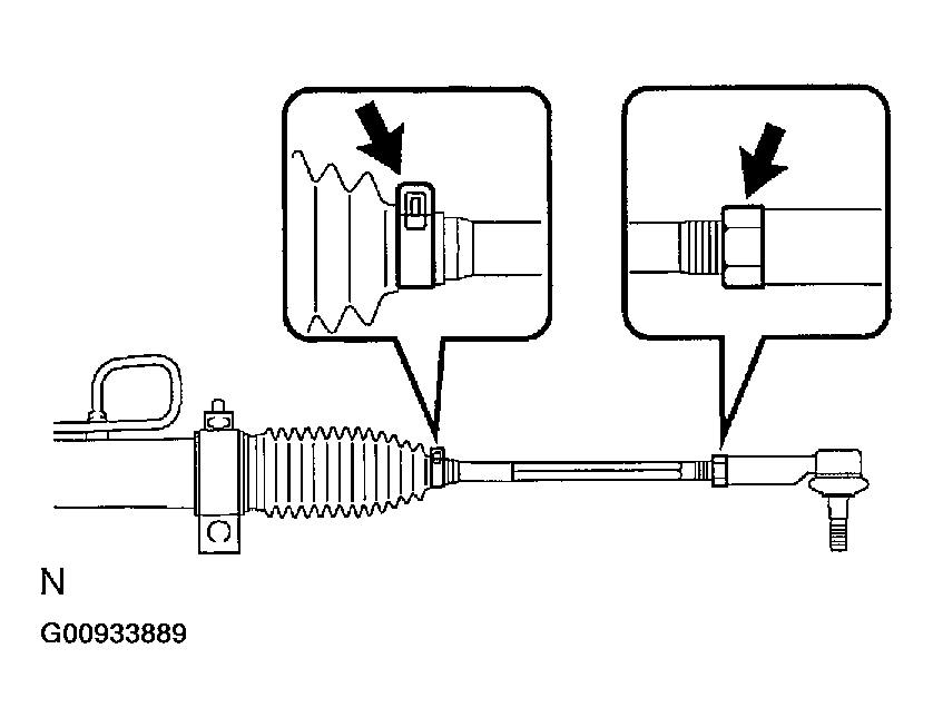
      3. Remove the RH and LH boot clips from the rack boots.
        Fig 5: Removing RH And LH Boot Clips From Rack Boots
        G00933889Courtesy of © TOYOTA, LICENSE AGREEMENT TMS1002
      4. Loosen the RH and LH lock nuts.
      5. Turn the RH and LH rack ends by the same amount (but in different directions) according to the steering angle.

        One 360 degree turn of rack end (1.5 mm (0.059 in.) horizontal movement) equals to 12 degrees of steering angle. 

      6. Tighten the RH and LH lock nuts by the specified torque.
        1. Torque: 74 N.m (750 kgf.cm, 54 ft.lbf) 
        NOTE: Make sure that the difference in length between the RH and LH tie rod ends and rack end screws are within 1.5 mm (0.059 in.).
      7. Install the RH and LH boot clips.
      8. Perform steering angle sensor zero point calibration (see CALIBRATION ).