LEMON Manuals: Even more car manuals for everyone: 1960-2025
Home >> Toyota >> 2004 >> Matrix Base, 4WD >> Repair and Diagnosis >> External Pages >> Different car >> Section 455 (Air Conditioning System) >> Air Conditioning Unit >> Air Conditioning Unit Disassembly
April 5, 2026: LEMON Manuals is launched! Read the announcement.

Air Conditioning Unit Disassembly

WARNING: This page is about a different car, the 2002 Toyota Prius. However, it is still accessible from the selected car via links, so may be relevant.
  1. Remove foot air ducts  .
  2. Remove thermistor  .
  3. Remove expansion valve  .
  4. Remove PTC heater  .
  5. Remove drain hose 
  6. Remove aspirator and hose  .
  7. Remove heater pipe cover  :
    1. Disconnect the connector.
    2. Remove the screw.
    3. Release the 2 claws and remove the heater pipe cover.
      Fig 1: Locating Heater Pipe Cover Claws
      G01065419Courtesy of © TOYOTA, LICENSE AGREEMENT TMS1002
  8. Remove heater radiator  :
    1. Remove the 3 screws and clamp.
      Fig 2: Locating Heater Radiator Mounting Screws
      G01065420Courtesy of © TOYOTA, LICENSE AGREEMENT TMS1002
    2. Remove the 3 screws and 2 clamps.
    3. Pull out the heater radiator.
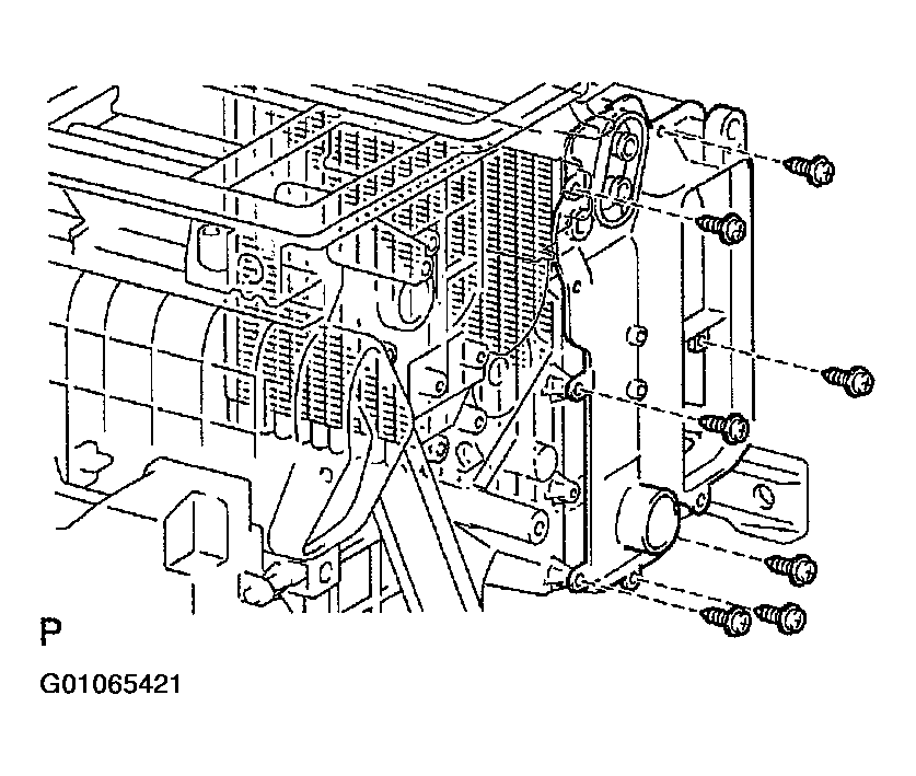
  9. Remove evaporator  :
    1. Remove the 7 screws and separate the evaporator cover.
    2. Pull out the evaporator.
      Fig 3: Locating Evaporator Cover Mounting Screws
      G01065421Courtesy of © TOYOTA, LICENSE AGREEMENT TMS1002
  10. Remove servomotor  :
    1. Disconnect the connectors.
    2. Remove the 3 screws and air outlet servomotor.
      Fig 4: Locating Air Outlet & Air Mix Servomotor Mounting Screws
      G01065422Courtesy of © TOYOTA, LICENSE AGREEMENT TMS1002
    3. Remove the 4 screws and air mix servomotor.