LEMON Manuals: Even more car manuals for everyone: 1960-2025
Home >> Toyota >> 2004 >> Matrix Base, 4WD >> Repair and Diagnosis >> External Pages >> Different car >> Section 548 (Cruise Control System - Diagnostics) >> Circuit Inspection >> Control Switch Circuit (Cruise Control Switch) >> Wiring Diagram
April 5, 2026: LEMON Manuals is launched! Read the announcement.

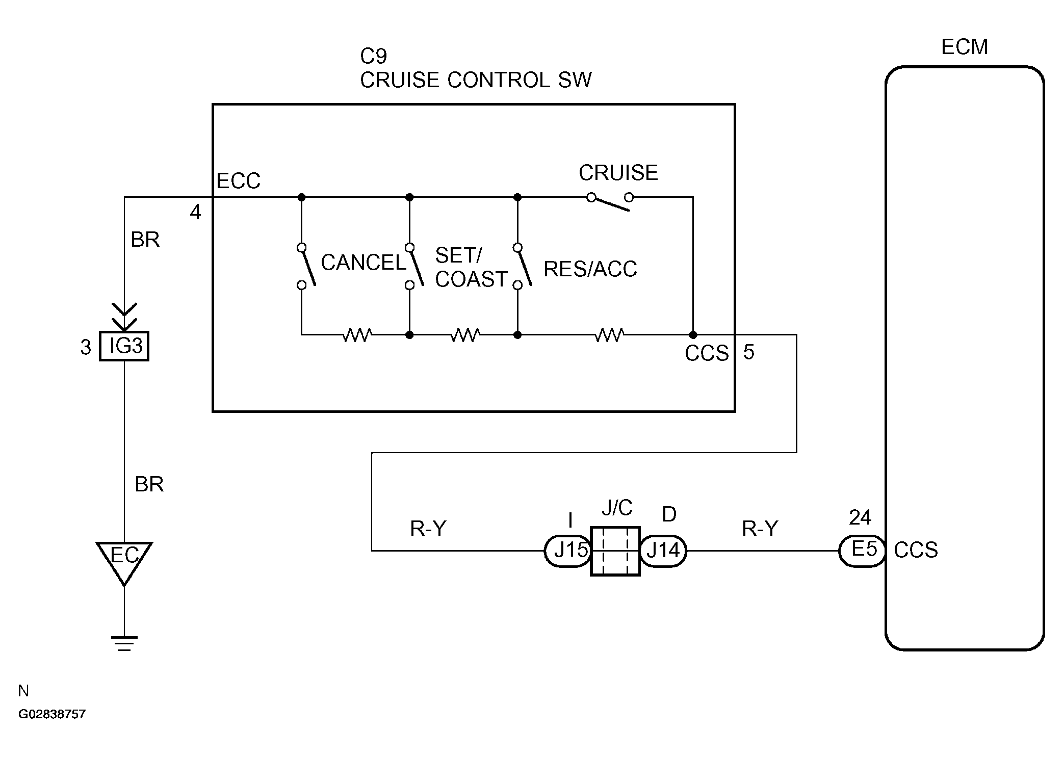
Control Switch Circuit (Cruise Control Switch): Wiring Diagram

WARNING: This page is about a different car, the 2003 Toyota Sequoia. However, it is still accessible from the selected car via links, so may be relevant.
Fig 1: Control Switch Circuit (Cruise Control Switch) - Wiring Diagram
G02838757Courtesy of © TOYOTA, LICENSE AGREEMENT TMS1002