LEMON Manuals: Even more car manuals for everyone: 1960-2025
Home >> Toyota >> 2004 >> Matrix Base, 4WD >> Repair and Diagnosis >> External Pages >> Different car >> Section 577 (Combination Meter) >> Inspection
April 5, 2026: LEMON Manuals is launched! Read the announcement.

Section 577 (Combination Meter): Inspection

WARNING: This page is about a different car, the 2003 Toyota Sequoia. However, it is still accessible from the selected car via links, so may be relevant.
  1. INSPECT SPEEDOMETER ON-VEHICLE 

    Using a speedometer tester, inspect the speedometer for allowable indication error and check the operation of the odometer.

    NOTE: Tire wear and tire over or under inflation will increase the indication error.
    ON-VEHICLE SPEEDOMETER INSPECTION

    USA (mph) CANADA (km/h)
    Standard Indication Allowable Range Standard Indication Allowable Range
    20 18 - 24 20 17 - 24
    40 38 - 44 40 38 - 46
    60 58 - 66 60 57.5 - 67
    80 78 - 88 80 77 - 88
    100 98 - 110 100 96 - 109
        120 115 - 130
        140 134 - 151.5
        160 153 - 173

    If error is excessive, replace the speedometer.

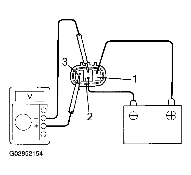
  2. INSPECT VEHICLE SPEED SENSOR OPERATION 
    1. Connect the positive (+) lead from the battery to terminal 1 and negative (-) lead to terminal 2.
    2. Connect the positive (+) lead from the tester to terminal 3 and the negative (-) lead to terminal 2.
    3. Rotate the shaft.
    4. Check that voltage changes from approx. 0 V to 16 V or more between terminals 2 and 3.
      Fig 1: Inspecting Vehicle Speed Sensor Operation
      G02852154Courtesy of © TOYOTA, LICENSE AGREEMENT TMS1002
      NOTE: The voltage should change 4 times for every revolution of the speed sensor shaft.

      If operation is not as specified, replace the sensor.

  3. INSPECT SPEEDOMETER RESISTANCE 

    Measure the resistance between terminals while fixing pointer to the stopper.

    SPEEDOMETER RESISTANCE SPECIFICATIONS

    Tester Connection Resistance (Ω)
    A - D 250
    B - C 250

    If resistance value is not as specified, replace the meter.

    Fig 2: Inspecting Speedometer Resistance
    G02852155Courtesy of © TOYOTA, LICENSE AGREEMENT TMS1002
  4. INSPECT TACHOMETER 
    1. Connect a tune-up test tachometer, and start the engine.
      NOTE:
      • Reversing the connection of the tachometer will damage the transistors and diodes inside.
      • When removing or installing the tachometer, be careful not to drop or subject it to heavy shocks.
    2. Compare the tester and tachometer indications.

      DC 13.5 V 20°Cat (77°F) 

      TESTER AND TACHOMETER INDICATIONS COMPARE

      Standard Indication Allowable Range
      700 630 - 770
      1,000 900 - 1,100
      2,000 1,850 - 2,150
      3,000 2,800 - 3,200
      4,000 3,800 - 4,200
      5,000 4,800 - 5,200
      6,000 5,750 - 6,250
      7,000 6,700 - 7,300
  5. INSPECT TACHOMETER RESISTANCE 

    Measure the resistance between terminals with fixing pointer to the stopper.

    TACHOMETER RESISTANCE SPECIFICATIONS

    Tester Connection Resistance (Ω)
    A - D 250
    B - C 250

    If resistance value is not as specified, replace the meter.

    Fig 3: Inspecting Tachometer Resistance
    G02852156Courtesy of © TOYOTA, LICENSE AGREEMENT TMS1002
  6. INSPECT VOLT GAUGE RESISTANCE 

    Measure the resistance between terminals with fixing pointer to the stopper.

    VOLT GAUGE RESISTANCE SPECIFICATIONS

    Tester Connection Resistance (Ω)
    A - D 250
    B - C 250

    If resistance value is not as specified, replace the meter.

    Fig 4: Inspecting Volt Gauge Resistance
    G02852157Courtesy of © TOYOTA, LICENSE AGREEMENT TMS1002
  7. INSPECT FUEL RECEIVER GAUGE OPERATION 
    1. Disconnect the connector from the sender gauge.
    2. Turn the ignition switch ON, check that the receiver gauge needle indicates EMPTY.
      Fig 5: Inspecting Fuel Receiver Gauge Operation (1 Of 2)
      G02852158Courtesy of © TOYOTA, LICENSE AGREEMENT TMS1002
    3. Connect terminals 2 and 3 on the wire harness side connector through a 3.4 watts test bulb.
    4. Turn the ignition switch ON, check that the bulb comes on and the receiver gauge needle moves towards the full side.
      NOTE: Because of the silicon oil in the gauge, it will take a short time for needle to stabilize.

      If operation is not as specified, inspect the receiver gauge resistance.

      Fig 6: Inspecting Fuel Receiver Gauge Operation (2 Of 2)
      G02852159Courtesy of © TOYOTA, LICENSE AGREEMENT TMS1002
  8. INSPECT FUEL RECEIVER GAUGE RESISTANCE 

    Measure the resistance between terminals.

    FUEL RECEIVER GAUGE RESISTANCE SPECIFICATIONS

    Between Terminals Resistance (Ω)
    A - D 250
    B - C 250

    If resistance value is not as specified, replace the meter.

    Fig 7: Inspecting Fuel Receiver Gauge Resistance
    G02852160Courtesy of © TOYOTA, LICENSE AGREEMENT TMS1002
  9. INSPECT FUEL SENDER GAUGE RESISTANCE 

    Measure the resistance between terminals 2 and 3 for each float position.

    FUEL SENDER GAUGE RESISTANCE SPECIFICATIONS

    Float Position mm (in.) Resistance (Ω)
    F: Approx. -43.5 (1.71) +/- 2 (0.12) Approx. 3.0
    1/2: Approx. 70.8 (2.79) Approx. 32.5
    E: Approx. -178 (7.01) +/- 2 (0.12) Approx. 110

    If resistance value is not as specified, replace the main sender gauge.

    Fig 8: Inspecting Fuel Sender Gauge Resistance
    G02852161Courtesy of © TOYOTA, LICENSE AGREEMENT TMS1002
  10. INSPECT FUEL LEVEL WARNING LIGHT 
    1. Disconnect the connector from the sender gauge.
    2. Connect terminals 2 and 3 on the wire harness side connector.
    3. Turn the ignition switch ON, check that the warning light comes on.

      If the warning light does not come on, test the bulb or inspect wire harness.

      Fig 9: Inspecting Fuel Level Warning Light
      G02852162Courtesy of © TOYOTA, LICENSE AGREEMENT TMS1002
  11. INSPECT ENGINE COOLANT TEMPERATURE RECEIVER GAUGE OPERATION 
    1. Disconnect the connector from the sender gauge.
    2. Turn the ignition switch ON, check that the receiver gauge needle indicates COOL.

      If operation is not as specified, measure the receiver gauge resistance.

      Fig 10: Inspecting Engine Coolant Temperature Receiver Gauge Operation (1 Of 2)
      G02852163Courtesy of © TOYOTA, LICENSE AGREEMENT TMS1002
    3. Ground terminal on the wire harness side connector through a 3.4 W test bulb.
    4. Turn the ignition switch ON, check that the bulb comes on and the receiver gauge needle moves to the hot side.

      If operation is as specified, replace the sender gauge. Then, re-check the system.

      If operation is not as specified, measure the receiver gauge resistance.

      Fig 11: Inspecting Engine Coolant Temperature Receiver Gauge Operation (2 Of 2)
      G02852164Courtesy of © TOYOTA, LICENSE AGREEMENT TMS1002
  12. INSPECT ENGINE COOLANT TEMPERATURE RECEIVER GAUGE RESISTANCE 

    Measure the resistance between terminals.

    ENGINE COOLANT TEMPERATURE RECEIVER GAUGE RESISTANCE SPECIFICATIONS

    Between Terminals Resistance (Ω)
    A - D 250
    B - C 250

    If resistance value is not as the specified, replace the meter.

    Fig 12: Inspecting Engine Coolant Temperature Receiver Gauge Resistance
    G02852165Courtesy of © TOYOTA, LICENSE AGREEMENT TMS1002
  13. INSPECT ENGINE COOLANT TEMPERATURE SENDER GAUGE RESISTANCE 

    Connect the wire harness as shown in the illustration, and adjust the ammeter pointer to indicate "0" using the slide rheostat, then read the rheostat indication.

    ENGINE COOLANT TEMPERATURE SENDER GAUGE RESISTANCE SPECIFICATIONS

    Temperature °C (°F) Resistance (Ω)
    50 (122.0) 160 - 240
    120 (248.0) 17.1 - 21.2

    If resistance value is not as specified, replace the engine coolant sender gauge.

    Fig 13: Inspecting Engine Coolant Temperature Sender Gauge Resistance
    G02852166Courtesy of © TOYOTA, LICENSE AGREEMENT TMS1002
  14. INSPECT OIL PRESSURE GAUGE RESISTANCE 

    Measure the resistance between terminals A and B.

    OIL PRESSURE GAUGE RESISTANCE SPECIFICATIONS

    Tester Connection Resistance (Ω)
    A - D 250
    B - C 250

    If resistance value is not as specified, replace the receiver gauge.

    Fig 14: Inspecting Oil Pressure Gauge Resistance
    G02852167Courtesy of © TOYOTA, LICENSE AGREEMENT TMS1002
  15. INSPECT OIL PRESSURE SENDER CONTINUITY 
    1. Disconnect the connector from the oil pressure sender.
    2. Check that no continuity exists between terminal and ground with the engine stopped.
    3. Check that continuity exists between terminal and ground with the engine running.
      Fig 15: Inspecting Oil Pressure Sender Continuity
      G02852168Courtesy of © TOYOTA, LICENSE AGREEMENT TMS1002
      NOTE: Oil pressure should be over 24.5 kPa (0.25 kgf/cm2 , 3.55 psi).

      If operation is not as specified, replace the oil pressure sender.

  16. INSPECT BRAKE WARNING LIGHT 
    1. Disconnect the connector from the brake fluid warning switch.
    2. Release the parking brake pedal.
    3. Connect the terminals on the harness side of the level warning switch connector.
    4. Start the engine, check that the warning light comes on.

      If warning light does not come on, test the bulb or wire harness.

      Fig 16: Inspecting Brake Warning Light
      G02852169Courtesy of © TOYOTA, LICENSE AGREEMENT TMS1002
  17. INSPECT BRAKE FLUID LEVEL WARNING SWITCH CONTINUITY 
    1. Remove the reservoir tank cap and strainer.
    2. Disconnect the connector.
    3. Check that no continuity exists between the terminals with the switch OFF (float up).
    4. Use siphon, etc. to take fluid out of the reservoir tank.
    5. Check that continuity exists between the terminals with the switch ON (float down).
    6. Pour the fluid back in the reservoir tank.
      Fig 17: Inspecting Brake Fluid Level Warning Switch Continuity
      G02852170Courtesy of © TOYOTA, LICENSE AGREEMENT TMS1002

      If operation is not as specified, replace switch.

  18. INSPECT PARKING BRAKE SWITCH 
    1. Check that continuity exists between the terminal and switch body with the switch ON (switch pin released).
    2. Check that no continuity exists between the terminal and switch body with the switch OFF (switch pin pushed in).

      If operation is not as specified, replace the switch or inspect ground point.

      Fig 18: Inspecting Parking Brake Switch
      G02852171Courtesy of © TOYOTA, LICENSE AGREEMENT TMS1002
  19. INSPECT WASHER LEVEL WARNING LIGHT 
    1. Disconnect the connectors from the combination meter.
    2. Connect the negative (-) lead from the battery to terminal 16.
    3. Turn the ignition switch ON, check that the warning light comes on.

      If the warning light does not come on, test the bulb.

      Fig 19: Inspecting Washer Level Warning Light
      G02852172Courtesy of © TOYOTA, LICENSE AGREEMENT TMS1002
  20. INSPECT WASHER LEVEL SWITCH CONTINUITY 
    1. Check that there is no continuity between terminals with switch OFF (float up).
    2. Check that there is continuity between terminals with the switch ON (float down).

      If operation is not as specified, replace the jar & pump assembly.

      Fig 20: Inspecting Washer Level Switch Continuity
      G02852173Courtesy of © TOYOTA, LICENSE AGREEMENT TMS1002
  21. INSPECT DRIVER'S SEAT BELT WARNING LIGHT 
    1. Disconnect the connector B from the combination meter.
    2. Connect the negative (-) lead from the battery to terminal 5.
    3. Turn the ignition switch ON and check that the warning light comes on.

      If the warning light does not come on, inspect the bulb or wire harness.

      Fig 21: Inspecting Driver'S Seat Belt Warning Light
      G02852174Courtesy of © TOYOTA, LICENSE AGREEMENT TMS1002
  22. w/o Power Seat (Passenger Side): INSPECT BUCKLE SWITCH CONTINUITY 
    1. Check that continuity exists between terminals 1 and 2 on the switch side connector with the switch ON (belt fastened).
    2. Check that no continuity exists between terminal 1 an 2 on the switch side connector with the switch OFF (belt unfastened).

      If operation is not as specified, replace the seat belt inner.

      Fig 22: Inspecting Buckle Switch Continuity - W/O Power Seat (Passenger Side)
      G02852175Courtesy of © TOYOTA, LICENSE AGREEMENT TMS1002
  23. w/o Power Seat (Driver Side): INSPECT BUCKLE SWITCH CONTINUITY 
    1. Check that continuity exists between terminals 5 and 6 on the switch side connector with the switch ON (belt fastened).
    2. Check that no continuity exists between terminal 5 and 6 on the switch side connector with the switch OFF (belt unfastened).
      Fig 23: Inspecting Buckle Switch Continuity - W/O Power Seat (Driver Side)
      G02852176Courtesy of © TOYOTA, LICENSE AGREEMENT TMS1002

      If operation is not as specified, replace the seat belt inner.

  24. w/ Power Seat: INSPECT BUCKLE SWITCH CONTINUITY 
    1. Check that continuity exists between terminals 1 and 2 on the switch side connector with the switch ON (belt fastened).
    2. Check that no continuity exists between terminal 1 and 2 on the switch side connector with the switch OFF (belt unfastened).

      If operation is not as specified, replace the seat belt inner.

      Fig 24: Inspecting Buckle Switch Continuity - With Power Seat
      G02852177Courtesy of © TOYOTA, LICENSE AGREEMENT TMS1002
  25. INSPECT "4Lo/4Hi", 4WD" INDICATOR LIGHT 
    1. Disconnect the connectors from the combination meter.
    2. "Center Diff Lock" indicator:

      Ground terminal 13 on the wire harness side connector.

    3. "4WD" indicator:

      Ground terminal 14 on the wire harness side connector.

      Fig 25: Inspecting 4Lo/4Hi, 4WD And Indicator Light
      G02852178Courtesy of © TOYOTA, LICENSE AGREEMENT TMS1002
  26. INSPECT LIGHT CONTROL RHEOSTAT 
    1. Connect terminal 1 and 2 through a 3.4 - W test bulb.
    2. Connect the positive (+) lead from the battery to terminal 1 and the negative (-) lead to terminal 3.
    3. Turn the rheostat knob to fully counterclockwise, check that the test bulb goes off.
    4. Gradually turn the rheostat knob to clockwise, check that the test bulb brightness changes from dark to bright.

      If operation is not as specified, replace the rheostat.

      Fig 26: Inspecting Light Control Rheostat
      G02852179Courtesy of © TOYOTA, LICENSE AGREEMENT TMS1002
  27. INSPECT OPEN DOOR WARNING LIGHT 
    1. Disconnect the connector from the door courtesy switch and ground terminal on the wire harness side connector.
    2. Check that the warning light comes on.

      If the warning light does not light up, test the bulb.

      Fig 27: Inspecting Open Door Warning Light
      G02852180Courtesy of © TOYOTA, LICENSE AGREEMENT TMS1002
  28. Passenger's Seat Only: INSPECT SEAT BELT WARNING OCCUPANT DETECTION SENSOR CONTINUITY 

    Check that continuity exists between the terminals 1 and 2 when pressing the sensing part.

    If operation is not as specified, replace the sensor.

    Fig 28: Inspecting Seat Belt Warning Occupant Detection Sensor Continuity (Passenger's Seat Only)
    G02852181Courtesy of © TOYOTA, LICENSE AGREEMENT TMS1002
  29. INSPECT PASSENGER SEAT BELT WARNING LIGHT 
    1. Remove the center cluster finish panel.
    2. Disconnect the connectors from the center cluster integration.
    3. Connect the positive (+) lead from the battery to the terminal 4 and negative (-) lead terminal 10, and check that the warning light lights up.

      If the warning light does not light up, inspect the bulb or wire harness.

      Fig 29: Inspecting Passenger Seat Belt Warning Light
      G02852182Courtesy of © TOYOTA, LICENSE AGREEMENT TMS1002