LEMON Manuals: Even more car manuals for everyone: 1960-2025
Home >> Toyota >> 2004 >> Matrix Base, 4WD >> Repair and Diagnosis >> External Pages >> Different car >> Section 584 (Engine Immobilizer System) >> Registration Procedure
April 5, 2026: LEMON Manuals is launched! Read the announcement.

Registration Procedure

WARNING: This page is about a different car, the 2003 Toyota Sequoia. However, it is still accessible from the selected car via links, so may be relevant.
NOTE: In case you lose all the registered master keys, you cannot register or delete additionally. Change the Transponder key ECU and then register the new key codes following registration procedure of the automatic registration mode below.
  1. KEY REGISTRATION IN AUTOMATIC REGISTRATION MODE 
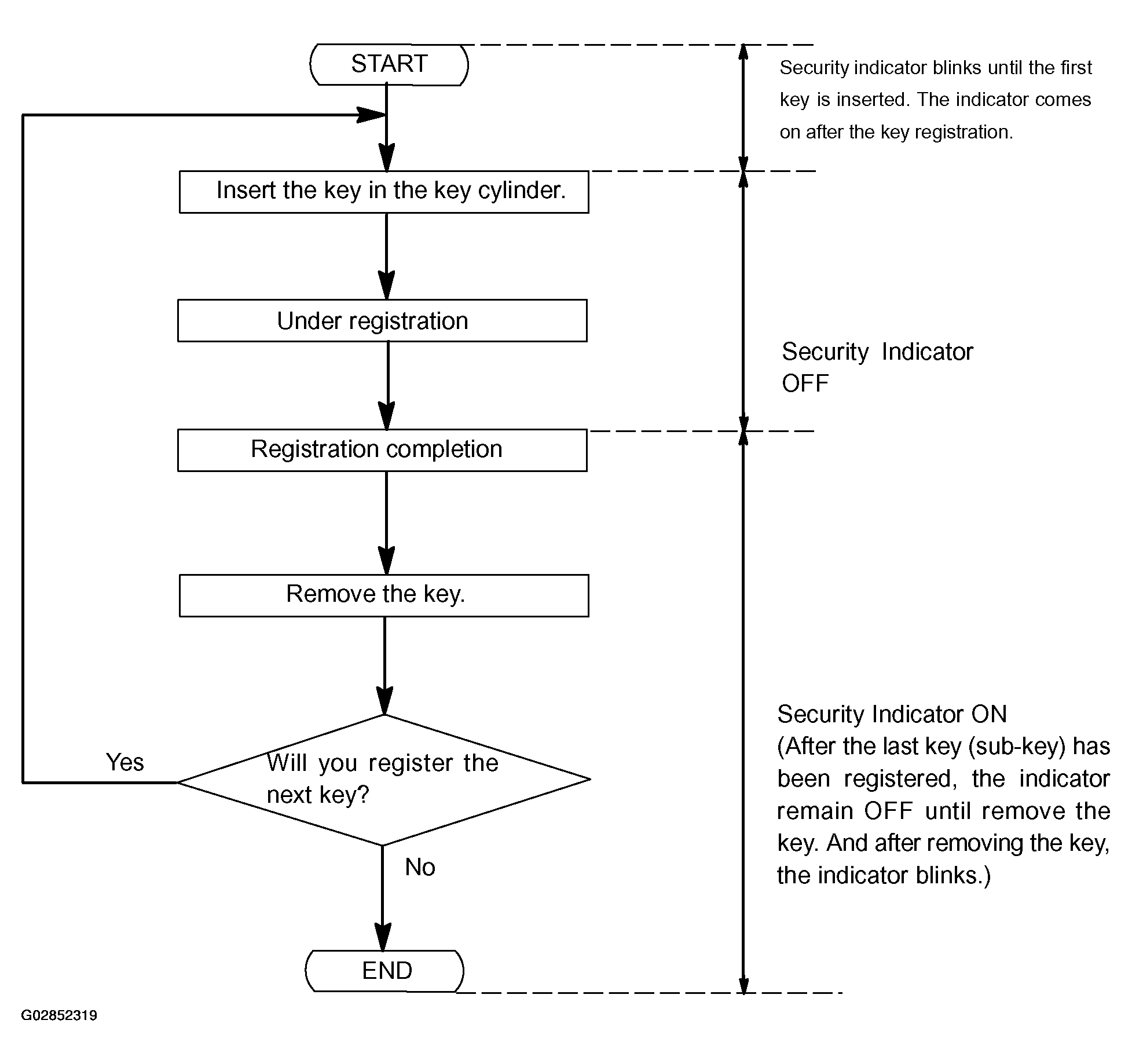
    1. Registration of a new transponder key.
      NOTE:
      • This procedure must be done when you install a new Transponder key ECU.
      • The new Transponder key ECU is on the automatic key code registration mode. The already fixed number of key codes for this Transponder key ECU can be registered.

        On this type of vehicle, up to 3 key codes can be registered.

      • In the automatic registration mode, the last key registered becomes sub-key.
      Fig 1: Key Registration In Automatic Registration Mode
      G02852319Courtesy of © TOYOTA, LICENSE AGREEMENT TMS1002
      NOTE:
      • When a key cannot be inserted in the key cylinder on the automatic registration mode, the security indicator always comes on.
      • When the immobilizer system operates normally and the key is pull out, the security indicator blinks.
      • When key code registration could not be performed on the automatic registration mode, code 2-1 is output from the security indicator and when the registered key in inserted, code 2-2 is output.
        Fig 2: Blinking Chart Of Security Indicator
        G02852320Courtesy of © TOYOTA, LICENSE AGREEMENT TMS1002
    2. Automatic registration mode completion

      If completing the mode forcibly when more than 1 keys code are registered on the automatic registration mode, perform the following procedures.

      After 1 more key code is registered with master key, turn the ignition switch LOCK --> ON 5 times within 10 secs. by inserting the registered key or without pulling the key out.

  2. REGISTRATION OF ADDITIONAL MASTER KEY AND SUB KEY 

    Do this operation to register an additional master key and sub key.

    Fig 3: Registration Of Additional Master Key & Sub Key Mode
    G02852321Courtesy of © TOYOTA, LICENSE AGREEMENT TMS1002
    1. *1: Insert master key into the key cylinder.

      Turn the ignition switch to LOCK --> ON position 5 times within 15 seconds.

    2. *2: Open --> Close the driver's door 6 times within 20 seconds after completion of the previous operation.
    3. *3: Remove the master key from the ignition switch and insert another key to be registered in the key cylinder within 10 seconds after completion of the previous operation.
    4. *4: Turn the ignition switch to ON position and wait for 60 seconds or more. The key registration will be completed.
    5. *5: Ten seconds or more elapses after removal of the key or Open --> Close the driver's door, key registration completed.
    6. *6: When registering multiple keys, insert the key to be registered in the key cylinder.
    NOTE:
    • It is possible to register up to 4 master key codes including the registered key code.
    • It is possible to register up to 2 sub key codes including the registed key code.
    • When any operation time described below is over, registration mode completes.
    • When the next procedure is performed while the timer is working, the timer completes counting time, then next timer starts.
  3. ERASURE OF TRANSPONDER KEY CODE 

    Do this operation to erase transponder key registration from the transponder key computer.

    NOTE: Delete all other master and sub-key codes leaving the master key code to use the operation. When using the key which was used before deletion, it is necessary to register the code again.
    Fig 4: Erasure Of Transponder Key Code
    G02852322Courtesy of © TOYOTA, LICENSE AGREEMENT TMS1002
    1. *1: Insert master key into the key cylinder.

      Turn the ignition switch to LOCK --> ON 6 times within 15 seconds.

    2. *2: Open --> Close driver's door 7 times and remove the master key within 20 seconds after completion of the previous operation.
    NOTE:
    • When any operation time described below is over, registration mode completes.
    • When the next procedure is performed while the timer is working, the timer completes counting time, then next timer starts.
  4. ECU COMMUNICATION ID REGISTRATION 
    NOTE:
    • The ECU communication ID should be registered when the transponder key ECU and/or the ECM is replaced, in order to match these ECM COMMUNICATION ID.
    • The engine cannot be started unless the ECM COMMUNICATION ID matches.
    1. Register the ECU communication ID.
      1. (1) After the transponder key ECU and/or the ECM is replaced, turn the ignition switch ON (the engine is not running.).
      2. (2) Short the Tc and CG terminals of the DLC3 and leave it as is for 30 minutes.
      3. (3) Check that the engine starts.