LEMON Manuals: Even more car manuals for everyone: 1960-2025
Home >> Toyota >> 2004 >> Matrix Base, 4WD >> Repair and Diagnosis >> External Pages >> Different car >> Section 628 (Navigation System - Diagnostics) >> Radio Broadcast Cannot Be Received (Poor Reception) >> Inspection Procedure
April 5, 2026: LEMON Manuals is launched! Read the announcement.

Inspection Procedure

WARNING: This page is about a different car, the 2004 Toyota Camry. However, it is still accessible from the selected car via links, so may be relevant.
  1. CHECK RADIO AND NAVIGATION ASSY 
    1. Check the radio's automatic search function.
      1. Check that the radio's automatic station search function works properly.

        Standard: The radio's automatic station search function works properly. 

    1. OK: REPLACE RADIO AND NAVIGATION ASSY (SEE  REPLACEMENT  ) 
    2. NG: Go to next step. 
  2. CHECK OPTIONAL COMPONENTS 
    1. Check the optional components (sun-shade film, telephone antenna, etc.).
      1. Check if optional components, such as sun-shade film or telephone antenna that may decrease reception sensitivity, are installed.

        Standard: Optional components are installed. 

    1. OK: REMOVE OPTIONAL COMPONENTS AND CHECK AGAIN 
    2. NG: Go to next step. 
  3. CHECK THE ANTENNA 
    1. Check the antenna for noise.
      1. Turn the ignition switch to the ACC position, turn the radio on, and put the radio into AM mode. Bring the tip of a screwdriver into contact with the antenna assy and check that noise can be heard from the speaker.

        Standard: Noise occurs. 

    1. OK: REPAIR ANTENNA ASSY (SEE  REPAIR  ) 
    2. NG: Go to next step. 
  4. CHECK RADIO AND NAVIGATION ASSY 
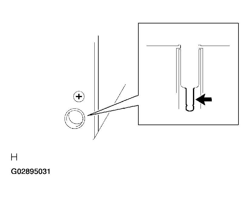
    1. Preparation for check
      1. Remove the antenna plug from the radio and navigation assy.
    2. Check for noise
      1. Turn the ignition switch to the ACC position with the radio and navigation assy connector connected.
      2. Turn the radio on and select AM mode.
      3. Bring a flat head screwdriver, thin wire, or other metal object into contact with the radio receiver's antenna jack. Check that noise can be heard from the speaker.

      Standard: Noise occurs. 

      Fig 1: Checking Radio And Navigation Assy
      G02895031Courtesy of © TOYOTA, LICENSE AGREEMENT TMS1002
    1. NG: REPLACE RADIO AND NAVIGATION ASSY (SEE  REPLACEMENT  ) 
    2. OK: PROCEED TO NEXT CIRCUIT INSPECTION SHOWN IN PROBLEM SYMPTOMS TABLE (see  PROBLEM SYMPTOMS TABLE  )