LEMON Manuals: Even more car manuals for everyone: 1960-2025
Home >> Toyota >> 2004 >> Matrix Base, 4WD >> Repair and Diagnosis >> External Pages >> Different car >> Section 695 (Lighting System - Diagnostics) >> Diagnosis System
April 5, 2026: LEMON Manuals is launched! Read the announcement.

Diagnosis System

WARNING: This page is about a different car, the 2004 Toyota Camry Solara. However, it is still accessible from the selected car via links, so may be relevant.
  1. CHECK THE DLC3 
    1. Measure the resistance according to the value(s) in SPECIFIED CONDITION  .

      Standard: 

      SPECIFIED CONDITION

      Tester connection Condition Specified condition
      4 - Body ground Always Below 1 Ω

      If the resistance is not as specified, inspect the TC terminal circuit (see TC TERMINAL CIRCUIT ).

      Fig 1: Identifying DLC3 Terminals - CG
      G03049301Courtesy of © TOYOTA, LICENSE AGREEMENT TMS1002
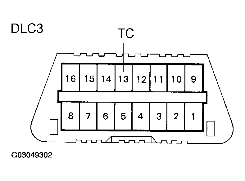
    2. Measure the voltage according to the value(s) in SPECIFIED CONDITION  .

      Standard: 

      SPECIFIED CONDITION

      Tester connection Condition Specified condition
      13 - Body ground Ignition Switch ON 10 to 14 V

      If the resistance is not as specified, inspect the TC terminal circuit (see TC TERMINAL CIRCUIT ).

      Fig 2: Identifying DLC3 Terminals - TC
      G03049302Courtesy of © TOYOTA, LICENSE AGREEMENT TMS1002