LEMON Manuals: Even more car manuals for everyone: 1960-2025
Home >> Toyota >> 2004 >> Matrix Base, 4WD >> Repair and Diagnosis >> External Pages >> Different car >> Section 728 (Engine Control System - Diagnosis) >> DTC P2A00: A/F Sensor Circuit Slow Response (Bank 1 Sensor 1), DTC P2A03 A/F Sensor Circuit Slow Response (Bank 2 Sensor 1) >> Inspection Procedure
April 5, 2026: LEMON Manuals is launched! Read the announcement.

Inspection Procedure

WARNING: This page is about a different car, the 2004 Lexus ES 330. However, it is still accessible from the selected car via links, so may be relevant.

HINT:

Hand-held tester only:

It is possible the malfunctioning area can be found using the ACTIVE TEST A/F CONTROL operation. The A/F CONTROL operation can determine if the A/F sensor, heated oxygen sensor or other potential trouble areas are malfunctioning or not.

  1. Perform the ACTIVE TEST A/F CONTROL operation.

    HINT:

    The A/F CONTROL operation lowers the injection volume 12.5% or increases the injection volume 25%.

    1. Connect the hand-held tester to the DLC3 on the vehicle.
    2. Turn the ignition switch ON.
    3. Warm up the engine by running the engine at 2,500 RPM for approximately 90 seconds.
    4. Enter the following menus: DIAGNOSIS / ENHANCED OBD II / ACTIVE TEST / A/F CONTROL.
    5. Perform the A/F CONTROL operation with the engine in an idle condition (press the right or left button).

      Result: 

      A/F sensor reacts in accordance with increase and decrease of injection volume: 

      +25 % --> RICH output: Less than 3.0 V 

      -12.5 % --> LEAN output: More than 3.35 V 

      Heated oxygen sensor reacts in accordance with increase and decrease of injection volume: 

      +25 % --> RICH output: More than 0.55 V 

      -12.5 % --> LEAN output: Less than 0.4 V 

NOTE: The A/F sensor output has a few seconds of delay and the heated oxygen sensor output has about 20 seconds of delay at maximum.
Fig 1: A/F Sensor And Heated Oxygen Sensor Output Voltage Chart
G01438560Courtesy of © TOYOTA, LICENSE AGREEMENT TMS1002

The following procedure of A/F CONTROL enables the user to check its output (show its graph indication) of A/F sensor and heated oxygen sensor.

To display the graph, enter ACTIVE TEST/ A/F CONTROL/USER DATA, then select "AFS B1S1 and O2S B1S2" or "AFS B2S1 and O2S B2S2" by pressing the "YES" button followed by the "ENTER" button and then the "F4" button.

HINT:

  1. CHECK OTHER DTC OUTPUT (IN ADDITION TO A/F SENSOR DTC) 
    1. Connect the hand-held tester or the OBD II scan tool to the DLC3.
    2. Turn the ignition switch to ON and turn the hand-held tester or the OBD II scan tool ON.
    3. Select the item: DIAGNOSIS / ENHANCED OBD II / DTC INFO / CURRENT CODES.
    4. Read the DTCs.

      Result: 

      Fig 2: DTC Output Result Table
      G01438561Courtesy of © TOYOTA, LICENSE AGREEMENT TMS1002

    HINT:

    If any other code besides P2A00 and/or P2A03 are output, perform troubleshooting for those DTCs first.

    B: GO TO RELEVANT DTC CHART (See  DIAGNOSTIC TROUBLE CODE CHART  ) 

    A: GO TO NEXT STEP. 

  2. READ VALUE OF OBD II SCAN TOOL OR HAND-HELD TESTER (OUTPUT VOLTAGE OF A/F SENSOR) 
    1. Connect the hand-held tester or the OBD II scan tool to the DLC 3.
    2. Warm up the A/F sensors (bank 1, 2 sensor 1) by running the engine at 2,500 RPM for approximately 90 seconds.
    3. Read A/F sensor voltage output on the OBD II scan tool or the hand-held tester.
    4. Hand-held tester only:

      On the hand-held tester, enter the following menus: DIAGNOSIS / ENHANCED OBD II / SNAPSHOT / MANUAL SNAPSHOT / USER DATA. Read the values.

    5. Select "AFS B1 S1 or AFS B2 S1 / ENGINE SPD" and press YES.
    6. Monitor the A/F sensor voltage carefully.
    7. Check the A/F sensor voltage output under the following conditions:
      1. Allow the engine to idle for 30 seconds.
      2. Run the engine at approximately 2,500 RPM. Do not suddenly change the RPM.
      3. Raise the engine speed to 4,000 RPM and quickly release the accelerator pedal so that the throttle is fully closed.

        Standard: 

        Condition (1) and (2) 

        Voltage change of 3.3 V (0.66 V) (*) (between approximately 3.1 to 3.5 V) as shown in the illustration. 

        Condition (3) 

        A/F sensor voltage increases to 3.8 V (0.76 V) (*) or more when fuel is cut during engine deceleration as shown in the illustration. 

        (*) Voltage when using the OBD II scan tool.

      Fig 3: A/F Sensor Voltage And Engine RPM Chart (Normal And Malfunction Condition)
      G01438562Courtesy of © TOYOTA, LICENSE AGREEMENT TMS1002

    HINT:

    • Whenever the A/F sensor output voltage remains at approximately 3.3 V (0.660 V) (*) (see "Malfunction Condition" graphic) under any condition as well as the above conditions, the A/F sensor may have an open-circuit. This will happen also when the A/F sensor heater has an open-circuit.
    • Whenever the A/F sensor output voltage remains at a certain value of approximately 3.8 V (0.76 V) (*) or more, or 2.8 V (0.56 V) (*) or less (see "Malfunction Condition" graphic) under any condition as well as the above conditions, the A/F sensor may have a short-circuit.
    • The ECM will stop fuel injection (fuel is cut) during engine deceleration. This will cause a LEAN condition and should result in a momentary increase in A/F sensor output voltage.
    • The ECM must establish a closed throttle position learned value to perform fuel cut. If the battery cable was reconnected, the vehicle must be driven over 10 mph to allow the ECM to learn the closed throttle position.
    • When the vehicle is driven:

      The output voltage of the A/F sensor may be below 2.8 V (0.76 V) (*) during fuel enrichment. For the vehicle, this translates to a sudden increase in speed with the accelerator pedal fully depressed when trying to overtake another vehicle. The A/F sensor is functioning normally.

    • The A/F sensor is a current output element, and therefore the current is converted into voltage inside the ECM. If measuring voltage at connectors of A/F sensor or ECM, you will observe a constant voltage.

    Voltage when using the OBD II scan tool.

    OK: Go to step   11 

    NG: GO TO NEXT STEP. 

  3. INSPECT AIR FUEL RATIO SENSOR (RESISTANCE OF A/F SENSOR HEATER) 
    1. Disconnect the A10 or A11 A/F sensor connector.
    2. Measure the resistance between the terminals of the A/F sensor.

      Standard: 

      Fig 4: A/F Sensor Connector Terminals Specified Condition Chart
      G01438563Courtesy of © TOYOTA, LICENSE AGREEMENT TMS1002
    3. Reconnect the A/F sensor connector.
      Fig 5: Identifying A/F Sensor Connector
      G01438564Courtesy of © TOYOTA, LICENSE AGREEMENT TMS1002

    NG: REPLACE AIR FUEL RATIO SENSOR 

    OK: GO TO NEXT STEP. 

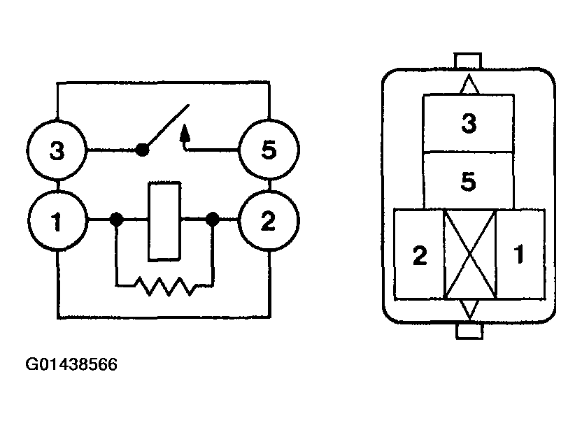
  4. INSPECT AIR FUEL RATIO SENSOR HEATER RELAY 
    1. Remove the A/F sensor heater relay from the engine room R/B.
    2. Check for continuity in the A/F sensor heater relay.

      Standard: 

      Fig 6: A/F Sensor Heater Relay Terminals Continuity Chart
      G01438565Courtesy of © TOYOTA, LICENSE AGREEMENT TMS1002
    3. Reinstall the A/F sensor heater relay.
      Fig 7: Checking Continuity Between A/F Sensor Heater Relay Terminals
      G01438566Courtesy of © TOYOTA, LICENSE AGREEMENT TMS1002

    NG: REPLACE AIR FUEL RATIO SENSOR HEATER RELAY 

    OK: GO TO NEXT STEP. 

  5. CHECK HARNESS AND CONNECTOR (A/F SENSOR - ECM) 
    1. Disconnect the A10 or A11 A/F sensor connector.
    2. Disconnect the E9 ECM connector.
    3. Check the resistance between the wire harness side connectors.

      Standard (Check for open): 

      Fig 8: A/F Sensor And ECM Terminals Specified Condition Chart (Check For Open)
      G01438567Courtesy of © TOYOTA, LICENSE AGREEMENT TMS1002

      Standard (Check for short): 

      Fig 9: A/F Sensor And ECM Terminals Specified Condition Chart (Check For Short)
      G01438568Courtesy of © TOYOTA, LICENSE AGREEMENT TMS1002
    4. Reconnect the A/F sensor connector.
    5. Reconnect the ECM connector.
      Fig 10: Identifying A/F Sensor Connector
      G01438569Courtesy of © TOYOTA, LICENSE AGREEMENT TMS1002
      Fig 11: Disconnecting E9 ECM Connector
      G01438570Courtesy of © TOYOTA, LICENSE AGREEMENT TMS1002
      Fig 12: A/F Sensor Heater Relay Reference Chart (Bank 1 Sensor 1)
      G01438571Courtesy of © TOYOTA, LICENSE AGREEMENT TMS1002

    NG: REPAIR OR REPLACE HARNESS OR CONNECTOR 

    OK: GO TO NEXT STEP. 

  6. CHECK AIR INDUCTION SYSTEM 
    1. Check for vacuum leaks in the air induction system.

    NG: REPAIR OR REPLACE AIR INDUCTION SYSTEM 

    OK: GO TO NEXT STEP. 

  7. CHECK CONNECTION OF PCV HOSE 

    NG: REPAIR OR REPLACE PCV HOSE 

    OK: GO TO NEXT STEP. 

  8. CHECK FUEL PRESSURE (See  ON-VEHICLE INSPECTION  ) 
    1. Check fuel pressure (High or low fuel pressure).

    NG: REPAIR OR REPLACE FUEL SYSTEM 

    OK: GO TO NEXT STEP. 

  9. INSPECT FUEL INJECTOR ASSY (See  INSPECTION  ) 
    1. Check injector injection (High or low fuel injection quantity or poor injection pattern).

    NG: REPLACE FUEL INJECTOR ASSY (See  FUEL INJECTOR ASSY (3MZ-FE)  ) 

    OK: GO TO NEXT STEP. 

  10. REPLACE AIR FUEL RATIO SENSOR 

    GO: GO TO NEXT STEP. 

  11. PERFORM CONFIRMATION DRIVING PATTERN (See  DTC P2195 OXYGEN (A/F) SENSOR SIGNAL STUCK LEAN (BANK 1 SENSOR 1), DTC P2196 OXYGEN (A/F) SENSOR SIGNAL STUCK RICH (BANK 1 SENSOR 1), DTC P2197 OXYGEN (A/F) SENSOR SIGNAL STUCK LEAN (BANK 2 SENSOR 1), DTC P2198 OXYGEN (A/F) SENSOR SIGNAL STUCK RICH (BANK 2 SENSOR 1)  ) 

    HINT:

    Clear all DTCs prior to performing the confirmation driving pattern (See DTC P2195 OXYGEN (A/F) SENSOR SIGNAL STUCK LEAN (BANK 1 SENSOR 1), DTC P2196 OXYGEN (A/F) SENSOR SIGNAL STUCK RICH (BANK 1 SENSOR 1), DTC P2197 OXYGEN (A/F) SENSOR SIGNAL STUCK LEAN (BANK 2 SENSOR 1), DTC P2198 OXYGEN (A/F) SENSOR SIGNAL STUCK RICH (BANK 2 SENSOR 1) ).

    GO: GO TO NEXT STEP. 

  12. READ OUTPUT DTC (SEE IF A/F SENSOR DTC OUTPUT AGAIN) 
    1. Connect the hand-held tester or the OBD II scan tool to the DLC3.
    2. Turn the ignition switch to ON and turn the hand-held tester or the OBD II scan tool ON.
    3. Select the item: DIAGNOSIS / ENHANCED OBD II / DTC INFO / CURRENT CODES.
    4. Read the DTCs.

      Result: 

      Fig 13: DTC Output Result Table (1 Of 3)
      G01438572Courtesy of © TOYOTA, LICENSE AGREEMENT TMS1002

    B: REPLACE ECM (See  ECM (3MZ-FE)  ) AND PERFORM CONFIRMATION DRIVING PATTERN (See  DTC P2195 OXYGEN (A/F) SENSOR SIGNAL STUCK LEAN (BANK 1 SENSOR 1), DTC P2196 OXYGEN (A/F) SENSOR SIGNAL STUCK RICH (BANK 1 SENSOR 1), DTC P2197 OXYGEN (A/F) SENSOR SIGNAL STUCK LEAN (BANK 2 SENSOR 1), DTC P2198 OXYGEN (A/F) SENSOR SIGNAL STUCK RICH (BANK 2 SENSOR 1)  ) 

    A: GO TO NEXT STEP. 

  13. CONFIRM IF VEHICLE HAS RUN OUT OF FUEL IN PAST 

    NO: CHECK FOR INTERMITTENT PROBLEMS (See  CHECK FOR INTERMITTENT PROBLEMS  ) 

    YES: GO TO NEXT STEP. 

    DTC IS CAUSED BY RUNNING OUT OF FUEL 

  14. PERFORM CONFIRMATION DRIVING PATTERN (See  DTC P2195 OXYGEN (A/F) SENSOR SIGNAL STUCK LEAN (BANK 1 SENSOR 1), DTC P2196 OXYGEN (A/F) SENSOR SIGNAL STUCK RICH (BANK 1 SENSOR 1), DTC P2197 OXYGEN (A/F) SENSOR SIGNAL STUCK LEAN (BANK 2 SENSOR 1), DTC P2198 OXYGEN (A/F) SENSOR SIGNAL STUCK RICH (BANK 2 SENSOR 1)  ) 

    HINT:

    Clear all DTCs prior to performing the confirmation driving pattern (See DTC P2195 OXYGEN (A/F) SENSOR SIGNAL STUCK LEAN (BANK 1 SENSOR 1), DTC P2196 OXYGEN (A/F) SENSOR SIGNAL STUCK RICH (BANK 1 SENSOR 1), DTC P2197 OXYGEN (A/F) SENSOR SIGNAL STUCK LEAN (BANK 2 SENSOR 1), DTC P2198 OXYGEN (A/F) SENSOR SIGNAL STUCK RICH (BANK 2 SENSOR 1) ).

    GO: GO TO NEXT STEP. 

  15. READ OUTPUT DTC (SEE IF A/F SENSOR DTC OUTPUT AGAIN) 
    1. Connect the hand-held tester or the OBD II scan tool to the DLC3.
    2. Turn the ignition switch ON and push the hand-held tester or the OBD II scan tool main switch ON.
    3. Select the item: DIAGNOSIS / ENHANCED OBD II / DTC INFO / CURRENT CODES.
    4. Read the DTCs.

      Result: 

      Fig 14: DTC Output Result Table (2 Of 3)
      G01438573Courtesy of © TOYOTA, LICENSE AGREEMENT TMS1002

    B: RESET MEMORY AND PERFORM CONFIRMATION DRIVING PATTERN (See  DTC P2195 OXYGEN (A/F) SENSOR SIGNAL STUCK LEAN (BANK 1 SENSOR 1), DTC P2196 OXYGEN (A/F) SENSOR SIGNAL STUCK RICH (BANK 1 SENSOR 1), DTC P2197 OXYGEN (A/F) SENSOR SIGNAL STUCK LEAN (BANK 2 SENSOR 1), DTC P2198 OXYGEN (A/F) SENSOR SIGNAL STUCK RICH (BANK 2 SENSOR 1)  ) 

    A: GO TO NEXT STEP. 

  16. REPLACE AIR FUEL RATIO SENSOR 

    GO: GO TO NEXT STEP. 

  17. PERFORM CONFIRMATION DRIVING PATTERN (See  DTC P2195 OXYGEN (A/F) SENSOR SIGNAL STUCK LEAN (BANK 1 SENSOR 1), DTC P2196 OXYGEN (A/F) SENSOR SIGNAL STUCK RICH (BANK 1 SENSOR 1), DTC P2197 OXYGEN (A/F) SENSOR SIGNAL STUCK LEAN (BANK 2 SENSOR 1), DTC P2198 OXYGEN (A/F) SENSOR SIGNAL STUCK RICH (BANK 2 SENSOR 1)  ) 

    HINT:

    Clear all DTCs prior to performing the confirmation driving pattern (See DTC P2195 OXYGEN (A/F) SENSOR SIGNAL STUCK LEAN (BANK 1 SENSOR 1), DTC P2196 OXYGEN (A/F) SENSOR SIGNAL STUCK RICH (BANK 1 SENSOR 1), DTC P2197 OXYGEN (A/F) SENSOR SIGNAL STUCK LEAN (BANK 2 SENSOR 1), DTC P2198 OXYGEN (A/F) SENSOR SIGNAL STUCK RICH (BANK 2 SENSOR 1) ).

    GO: GO TO NEXT STEP. 

  18. READ OUTPUT DTC (SEE IF A/F SENSOR DTC OUTPUT AGAIN) 
    1. Connect the hand-held tester or the OBD II scan tool to the DLC3.
    2. Turn the ignition switch to ON and turn the hand-held tester or the OBD II scan tool ON.
    3. Select the item: DIAGNOSIS / ENHANCED OBD II / DTC INFO / CURRENT CODES.
    4. Read the DTCs.

      Result: 

      Fig 15: DTC Output Result Table (3 Of 3)
      G01438574Courtesy of © TOYOTA, LICENSE AGREEMENT TMS1002

    B: REPLACE ECM (See  ECM (3MZ-FE)  ) AND PERFORM CONFIRMATION DRIVING PATTERN (See  DTC P2195 OXYGEN (A/F) SENSOR SIGNAL STUCK LEAN (BANK 1 SENSOR 1), DTC P2196 OXYGEN (A/F) SENSOR SIGNAL STUCK RICH (BANK 1 SENSOR 1), DTC P2197 OXYGEN (A/F) SENSOR SIGNAL STUCK LEAN (BANK 2 SENSOR 1), DTC P2198 OXYGEN (A/F) SENSOR SIGNAL STUCK RICH (BANK 2 SENSOR 1)  ) 

    A: GO TO NEXT STEP. 

  19. CONFIRM IF VEHICLE HAS RUN OUT OF FUEL IN PAST 

    NO: CHECK FOR INTERMITTENT PROBLEMS (See  CHECK FOR INTERMITTENT PROBLEMS  ) 

    YES: GO TO NEXT STEP. 

    DTC IS CAUSED BY RUNNING OUT OF FUEL