LEMON Manuals: Even more car manuals for everyone: 1960-2025
Home >> Toyota >> 2004 >> Matrix Base, 4WD >> Repair and Diagnosis >> External Pages >> Different car >> Section 772 (Engine Control System - Diagnosis) >> Circuit Inspection >> DTC P0171: System too Lean (Bank 1), DTC P0172 System Too Rich (Bank 1), DTC P0174: System Too Lean (Bank 2), DTC P0175: System Too Rich (Bank 2) >> Monitor Description
April 5, 2026: LEMON Manuals is launched! Read the announcement.

Monitor Description

WARNING: This page is about a different car, the 2004 Lexus IS 300. However, it is still accessible from the selected car via links, so may be relevant.
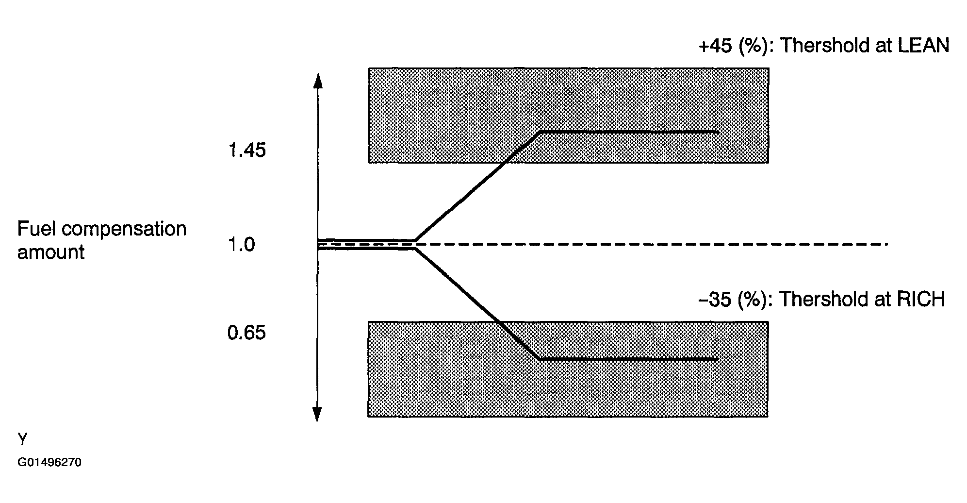
Fig 1: Monitor Description Diagram
G01496270Courtesy of © TOYOTA, LICENSE AGREEMENT TMS1002

Under closed-loop fuel control, fuel injection amounts that deviate from the ECM's estimated fuel amount will cause a change in the long-term fuel trim compensation value. This long-term fuel trim is adjusted when there are persistent deviations in the short-term fuel trim values. And the deviation from a simulated fuel injection amount by the ECM affects a smoothed short term fuel trim (fuel feedback compensation value) and smoothed long term fuel trim (learning value of the air-fuel ratio). When the smoothed fuel trim learning value exceeds the DTC threshold, the ECM interprets this as a fault in the fuel system and sets a DTC.

Example:

If the smoothed fuel trim leaning value is more than +45% or less than -35% The ECM interprets this as a malfunction in the fuel system.