LEMON Manuals: Even more car manuals for everyone: 1960-2025
Home >> Toyota >> 2004 >> Matrix Base, FWD, Automatic >> Repair and Diagnosis (Single Page) >> Brakes >> Traction Control >> Abs With EBD System - Diagnostics >> DTC C1249/49: Open Circuit In Stop Light Switch Circuit >> Inspection Procedure
April 5, 2026: LEMON Manuals is launched! Read the announcement.

Inspection Procedure

  1. INSPECT STOP LAMP SWITCH ASSY 
    1. Check that the stop lamp lights up when brake pedal is depressed and turns OFF when the brake pedal is released.
    1. NG: Go to step   4 
    2. OK: Go to next step. 
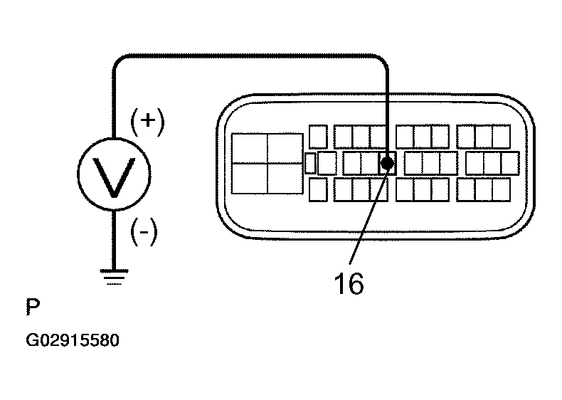
  2. INSPECT SKID CONTROL ECU TERMINAL VOLTAGE (STP TERMINAL) 
    1. Disconnect skid control ECU connector.
    2. Measure voltage between terminal STP (S1-18) and body ground of skid control ECU harness side connector when the brake pedal is depressed.
      Fig 1: Measuring Voltage Between Terminal STP (S1-18) Of Skid Control ECU
      G02915580Courtesy of © TOYOTA, LICENSE AGREEMENT TMS1002

      Voltage: 10 - 14 V 

    1. OK: CHECK AND REPLACE BRAKE ACTUATOR ASSY (See  ELECTRONIC CIRCUIT INSPECTION PROCEDURE  ) 
    2. NG: Go to next step. 
  3. CHECK HARNESS AND CONNECTOR (STOP LIGHT SWITCH - SKID CONTROL ECU) (See  ELECTRONIC CIRCUIT INSPECTION PROCEDURE  ) 
    1. Check for open and short circuit in harness and connector between stop lamp switch and skid control ECU (See ELECTRONIC CIRCUIT INSPECTION PROCEDURE ).
    1. NG: REPAIR OR REPLACE HARNESS OR CONNECTOR 
    2. OK: PROCEED TO NEXT CIRCUIT INSPECTION SHOWN ON PROBLEM SYMPTOMS TABLE (See  PROBLEM SYMPTOMS TABLE  ). 
  4. CHECK HARNESS AND CONNECTOR (STOP LIGHT CIRCUIT) 
    1. Check for open and short circuit in harness and connector of the stop lamp circuit (See ELECTRONIC CIRCUIT INSPECTION PROCEDURE ).
    1. OK: REPLACE STOP LAMP SWITCH ASSY 
    2. NG: REPAIR OR REPLACE HARNESS OR CONNECTOR