LEMON Manuals: Even more car manuals for everyone: 1960-2025
Home >> Toyota >> 2004 >> Matrix Base, FWD, Automatic >> Repair and Diagnosis >> External Pages >> Different car >> Section 12 (Engine Controls - Theory & Operation) >> Ignition Systems >> DISTRIBUTORLESS Ignition System >> Tacoma 2.4L 4-Cyl. & 2.7L 4-Cyl.
April 5, 2026: LEMON Manuals is launched! Read the announcement.

Tacoma 2.4L 4-Cyl. & 2.7L 4-Cyl.

WARNING: This page does not describe the selected car, but rather 16 other vehicles, including the 2002 Toyota Tundra, 2002 Toyota Tacoma, 2002 Toyota Sienna, 2002 Toyota Sequoia, and 2002 Toyota RAV4. However, it is still accessible from the selected car via links, so may be relevant.

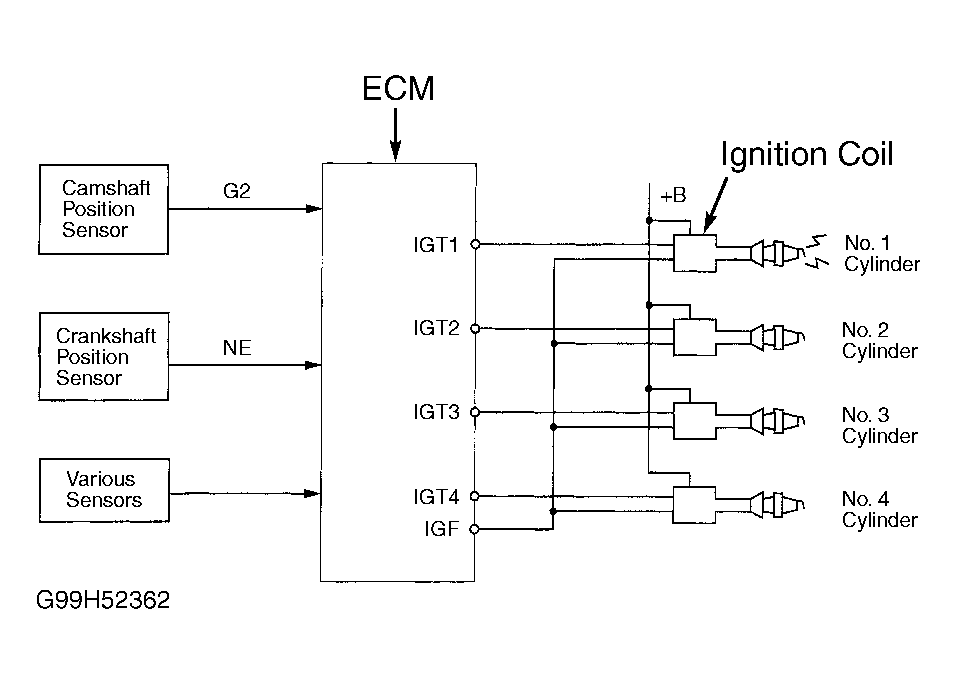
Distributorless Ignition System (DIS) uses Engine Control Module (ECM) for determining ignition timing (spark advance). ECM may determine ignition timing (spark advance) based on various input signals, engine RPM and knock sensor input signal.

Conventional distributor and pick-up coil have been replaced by camshaft position sensor and crankshaft position sensor. Camshaft position sensor and crankshaft position sensor deliver input signals to ECM. ECM detects standard crankshaft position based on camshaft position sensor input signals and actual crankshaft position, and engine speed by crankshaft position sensor input signals. Camshaft position sensor is located at driver's side front corner of cylinder head, just in front of intake manifold. See Figure. Crankshaft position sensor is located near crankshaft pulley, just above oil pan on driver's side of engine. See Figure. For knock sensor location, see KNOCK SENSOR under ENGINE SENSORS & SWITCHES in REMOVAL, OVERHAUL & INSTALLATION - 4-CYLINDER article.

ECM uses 4 ignition primary control signals to ignitors for ignition coils. DIS uses 4 ignition coils with internal ignitors, one ignition coil for each cylinder. See Figure. Cylinder No. 1 is front cylinder at timing chain end of engine and cylinder No. 4 is rear cylinder at flywheel end of engine. ECM monitors IGF circuit at ignitor to ensure ignition coils have fired.