LEMON Manuals: Even more car manuals for everyone: 1960-2025
Home >> Toyota >> 2004 >> Matrix Base, FWD, Automatic >> Repair and Diagnosis >> External Pages >> Different car >> Section 185 (Body Control System) >> Circuit Tests >> Illumination Circuit >> Circuit Description
April 5, 2026: LEMON Manuals is launched! Read the announcement.

Circuit Description

WARNING: This page is about a different car, the 2002 Lexus RX 300. However, it is still accessible from the selected car via links, so may be relevant.

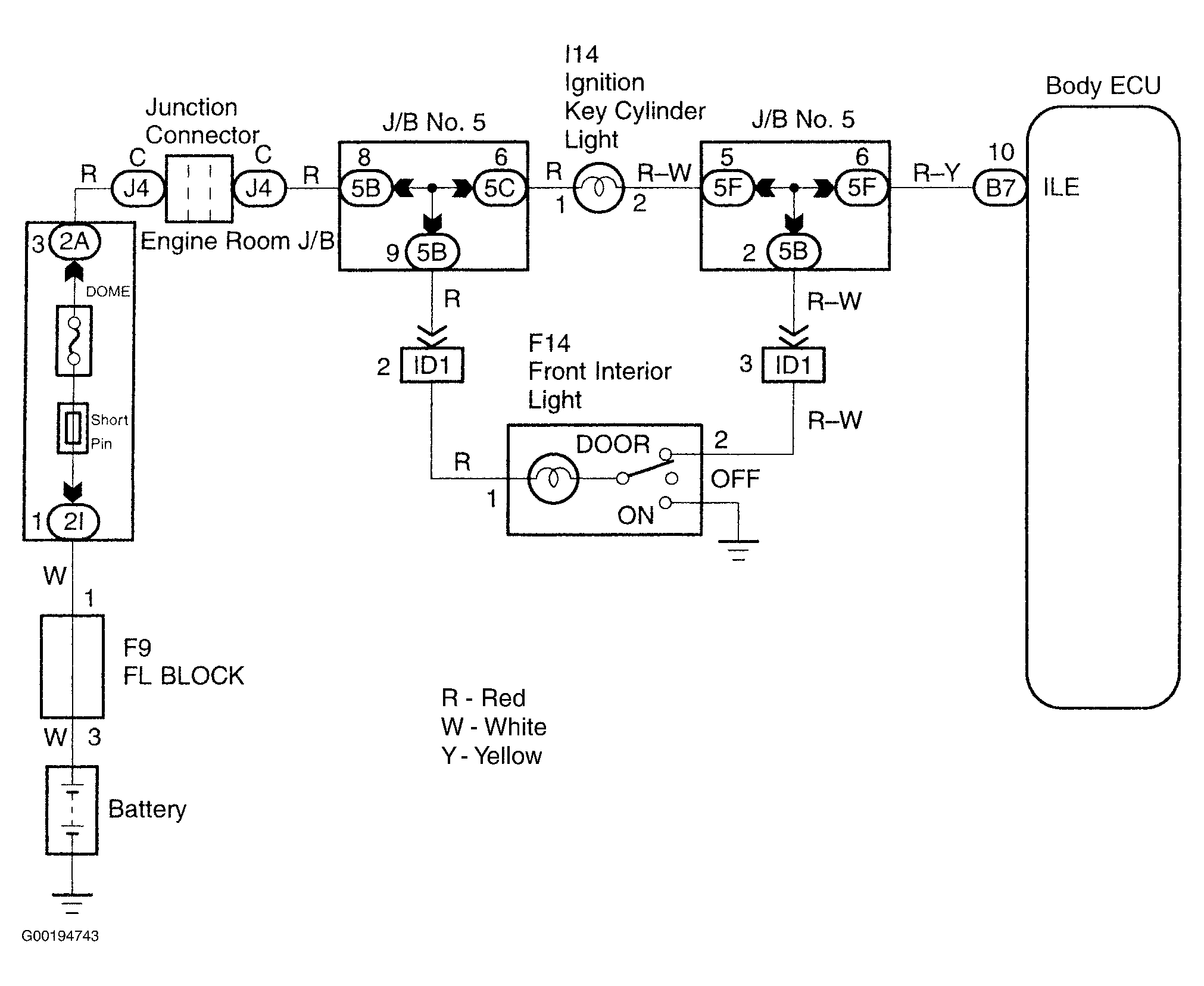
Receiving the courtesy signal from either of the door ECU, the body ECU will make the front interior light and ignition light, come on. See Fig 1.

Fig 1: Identifying Illumination Circuit
G00194743Courtesy of © TOYOTA, LICENSE AGREEMENT TMS1002