LEMON Manuals: Even more car manuals for everyone: 1960-2025
Home >> Toyota >> 2004 >> Matrix Base, FWD, Automatic >> Repair and Diagnosis >> External Pages >> Different car >> Section 392 (Wiper System & Washer System) >> Wiper And Washer System >> Inspection
April 5, 2026: LEMON Manuals is launched! Read the announcement.

Wiper And Washer System: Inspection

WARNING: This page is about a different car, the 2002 Toyota Sequoia. However, it is still accessible from the selected car via links, so may be relevant.
  1. Inspect front wiper and washer switch continuity  :
    Fig 1: Identifying Front Wiper & Washer Switch Positions & Locating Terminals
    G01896012Courtesy of © TOYOTA, LICENSE AGREEMENT TMS1002
    Fig 2: Front Wiper & Washer Switch Specifications
    G01896011Courtesy of © TOYOTA, LICENSE AGREEMENT TMS1002

    If continuity is not as specified, replace the switch.

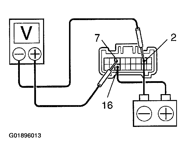
  2. Inspect front wiper intermittent operation  :
    1. Turn the wiper switch to INT position.
    2. Turn the intermittent time control switch to FAST position.
    3. Connect the positive (+) lead from the battery to terminal 16 and the negative (-) lead to terminal 2.
    4. Connect the positive (+) lead from the voltmeter to terminal 7 and the negative (-) lead to terminal 2, check that the meter needle indicates battery positive voltage.
      Fig 3: Locating Front Wiper Intermittent Connector Terminals & Testing Operation
      G01896013Courtesy of © TOYOTA, LICENSE AGREEMENT TMS1002
      Fig 4: Intermittent Front Wiper Specifications
      G01896014Courtesy of © TOYOTA, LICENSE AGREEMENT TMS1002

      If continuity is not as specified, replace the switch.

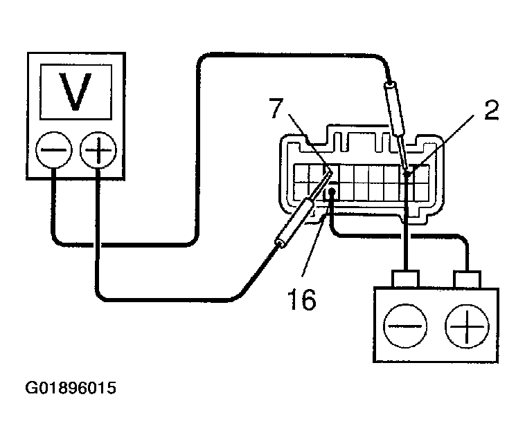
  3. Inspect front washer linked operation  :
    1. Connect the positive (+) lead from the battery to terminal 16 and the negative (-) lead to terminal 2.
    2. Connect the positive (+) lead from the voltmeter to terminal 7 and the negative (-) lead to terminal 2.
    3. Push in the washer switch, and check that the voltage changes as shown in the table.
      Fig 5: Testing Front Washer Linked Operation
      G01896015Courtesy of © TOYOTA, LICENSE AGREEMENT TMS1002
      Fig 6: Front Washer Linked Operation Specifications
      G01896016Courtesy of © TOYOTA, LICENSE AGREEMENT TMS1002

      If operation is not as specified, replace the wiper and washer switch.

  4. Inspect rear wiper and washer switch continuity  :
    Fig 7: Identifying Rear Wiper & Washer Switch Positions & Locating Terminals
    G01896018Courtesy of © TOYOTA, LICENSE AGREEMENT TMS1002
    Fig 8: Rear Wiper And Washer Switch Specifications
    G01896017Courtesy of © TOYOTA, LICENSE AGREEMENT TMS1002

    If continuity is not as specified, replace the switch.

    If operation is not as specified, replace the motor.

  5. Low speed  , inspect wiper motor operation:

    Connect the positive (+) lead from the battery to terminal 5 and the negative (-) lead from the battery to the motor body or terminal 4, and check that the motor operates at low speed.

    Fig 9: Testing Wiper Motor Low Speed
    G01896019Courtesy of © TOYOTA, LICENSE AGREEMENT TMS1002

    If operation is not as specified, replace the motor.

  6. High Speed  , inspect wiper motor operation:

    Connect the positive (+) lead from the battery to terminal 3 and the negative (-) lead from the battery to the motor body or terminal 4, and check that the motor operates at high speed. If operation is not as specified, replace the motor.

    Fig 10: Testing Wiper Motor High Speed
    G01896020Courtesy of © TOYOTA, LICENSE AGREEMENT TMS1002
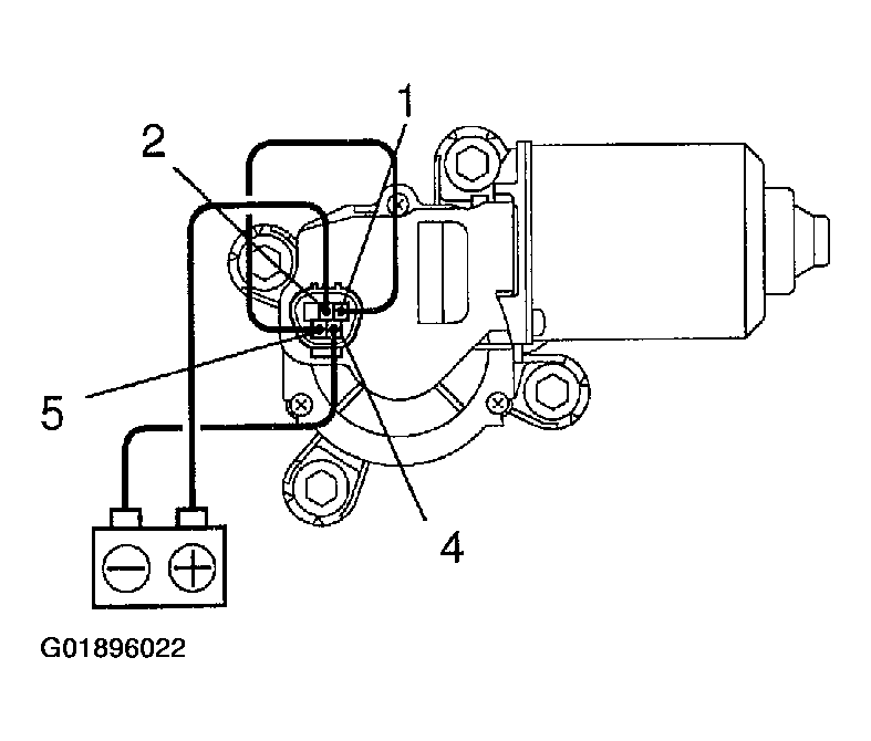
  7. Stopping at Stop Position  , inspect wiper motor operation:
    1. Operate the motor at low speed and stop the motor operation anywhere except at the stop position by disconnecting positive (+) lead from terminal 5.
      Fig 11: Testing Front Wiper Motor Stop Position (1 Of 2)
      G01896021Courtesy of © TOYOTA, LICENSE AGREEMENT TMS1002
    2. Connect terminals 1 and 5.
    3. Connect the positive (+) lead from the battery to terminal 2 and the negative (-) lead from the battery to the motor body or terminal 4, and check that the motor stops running at the stop position after the motor operates again.
      Fig 12: Testing Front Wiper Motor Stop Position (2 Of 2)
      G01896022Courtesy of © TOYOTA, LICENSE AGREEMENT TMS1002

      If operation is not as specified, replace the motor.

  8. CAUTION: These tests must be performed quickly (within 20 seconds) to prevent the coil from burning out.
    Fig 13: Testing Washer Motor
    G01896023Courtesy of © TOYOTA, LICENSE AGREEMENT TMS1002
  9. Inspect washer motor operation  :

    Connect the positive (+) lead from the battery to terminal 2 and the negative (-) lead to terminal 1, and check that the motor operates.

    If operation is not as specified, replace the motor.

  10. Inspect rear wiper motor operation  :

    Connect the positive (+) lead from the battery to terminal 5 and the negative (-) lead from the battery to the motor body or terminal 4, and check that the motor operates.

    Fig 14: Testing Rear Wiper Motor
    G01896024Courtesy of © TOYOTA, LICENSE AGREEMENT TMS1002

    If operation is not as specified, replace the motor.

  11. Stopping at Stop Position  , inspect rear wiper motor operation:
    1. Operate the motor at low speed and stop the motor operation anywhere except at the stop position by disconnecting positive (+) lead from terminal 3.
      Fig 15: Testing Front Wiper Motor Stop Position (1 Of 2)
      G01896025Courtesy of © TOYOTA, LICENSE AGREEMENT TMS1002
    2. Connect terminals 2 and 5.
    3. Connect the positive (+) lead from the battery to terminal 1 and the negative (-) lead from the battery to the motor body or terminal 4, and check that the motor stops running at the stop position after the motor operates again.
      Fig 16: Testing Front Wiper Motor Stop Position (2 Of 2)
      G01896026Courtesy of © TOYOTA, LICENSE AGREEMENT TMS1002

      If operation is not as specified, replace the motor.