LEMON Manuals: Even more car manuals for everyone: 1960-2025
Home >> Toyota >> 2004 >> Matrix Base, FWD, Automatic >> Repair and Diagnosis >> External Pages >> Different car >> Section 437 (Body Control Systems - Diagnostics) >> Circuit Inspection >> Engine Hood Courtesy Switch Circuit >> Inspection Procedure
April 5, 2026: LEMON Manuals is launched! Read the announcement.

Inspection Procedure

WARNING: This page is about a different car, the 2002 Toyota Prius. However, it is still accessible from the selected car via links, so may be relevant.
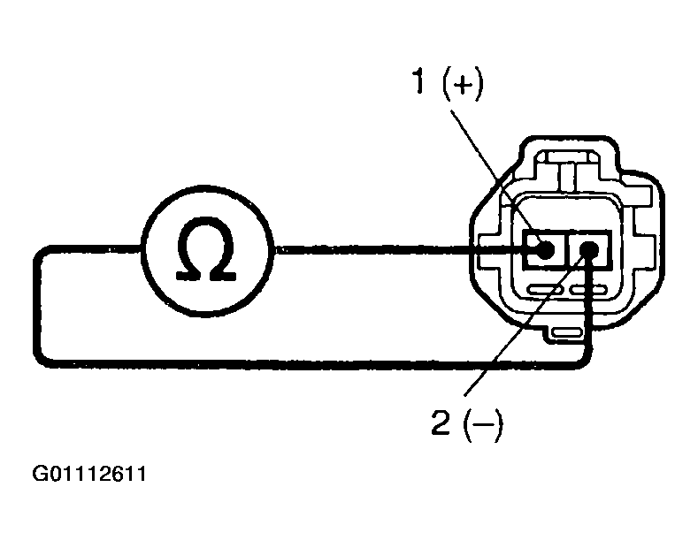
  1. Check engine hood courtesy switch. 

    PREPARATION: 

    1. Remove engine hood lock assembly.
    2. Disconnect engine hood courtesy switch connector.

    CHECK: 

    Check continuity between terminals 1 and 2 when engine hood lock is locked and unlocked.

    OK 

    Fig 1: Testing Engine Hood Courtesy Switch Continuity
    G01112611Courtesy of © TOYOTA, LICENSE AGREEMENT TMS1002
    Fig 2: Engine Hood Courtesy Switch Specifications
    G01112610Courtesy of © TOYOTA, LICENSE AGREEMENT TMS1002
    1. NG: Replace engine hood courtesy switch. 
    2. OK: Go to next step. 
  2. Check harness and connector between body ECU and switch, switch and body ground  . See HOW TO USE THE DIAGNOSTIC CHART AND INSPECTION PROCEDURE .
    1. NG: Repair or replace harness or connector. 
    2. OK: Go to next step. 

    Check and replace body ECU.  See HOW TO USE THE DIAGNOSTIC CHART AND INSPECTION PROCEDURE .