LEMON Manuals: Even more car manuals for everyone: 1960-2025
Home >> Toyota >> 2004 >> Matrix Base, FWD, Automatic >> Repair and Diagnosis >> External Pages >> Different car >> Section 471 (Engine Controls - Diagnostics) >> Circuit Inspection >> DTC P0171: System too Lean (Bank 1), DTC P0172: System too Rich (Bank 1) >> Monitor Description
April 5, 2026: LEMON Manuals is launched! Read the announcement.

Monitor Description

WARNING: This page is about a different car, the 2004 Toyota RAV4. However, it is still accessible from the selected car via links, so may be relevant.
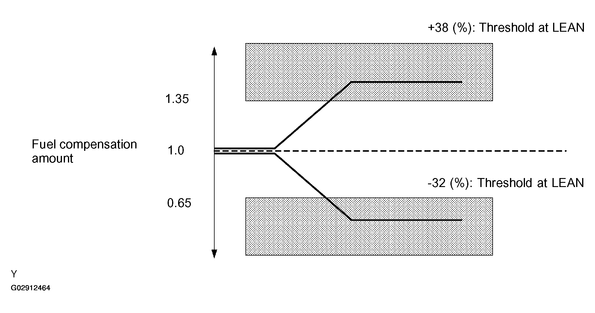
Fig 1: Fuel Compensation Amount Graph
G02912464Courtesy of © TOYOTA, LICENSE AGREEMENT TMS1002

Under closed-loop fuel control, fuel injection amounts that deviate from the ECM's estimated fuel amount will cause a change in the long-term fuel trim compensation value. This long-term fuel trim is adjusted when there are persistent deviations in the short-term fuel trim values. And, the deviation from the simulated fuel injection amount by the ECM affects the smoothed fuel trim learning value. The smoothed fuel trim learning value is the combination of smoothed short-term fuel trim (fuel feedback compensation value) and smoothed long-term fuel trim (learning value of the air-fuel ratio). When the smoothed fuel trim learning value exceeds the DTC threshold, the ECM interprets this as a fault in the fuel system and sets a DTC.

Example:

The smoothed fuel trim leaning value is more than +38 % or less than -32 %. The ECM interprets this as a fault in the fuel system.