LEMON Manuals: Even more car manuals for everyone: 1960-2025
Home >> Toyota >> 2004 >> Matrix Base, FWD, Automatic >> Repair and Diagnosis >> External Pages >> Different car >> Section 476 (Can Communication System - Diagnostics) >> Circuit Inspection >> Skid Control ECU Communication Stop Mode >> Inspection Procedure
April 5, 2026: LEMON Manuals is launched! Read the announcement.

Inspection Procedure

WARNING: This page is about a different car, the 2004 Toyota RAV4. However, it is still accessible from the selected car via links, so may be relevant.
  1. Measure resistance between terminals CANL and CANH of DLC3. 

    CHECK: 

    Measure the resistance between terminals CANL and CANH of the DLC3.

    Fig 1: Identifying DLC3 Terminals CANH, CANL
    G02913090Courtesy of © TOYOTA, LICENSE AGREEMENT TMS1002

    RESULT: 

    RESISTANCE MEASURES

    Result Proceed to
    54 to 66 Ω A
    1 MΩ or higher B
    Less than 54 Ω C
    108 to 132 Ω D
    1. B : Go to step   4 . 
    2. C : Go to step   7 . 
    3. D : Go to step   5 . 
    4. A : Go to next step. 
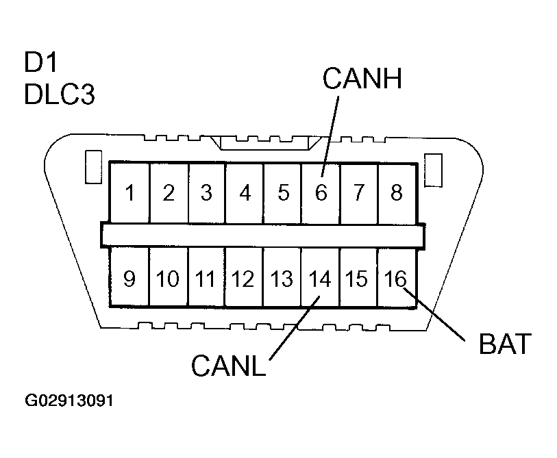
  2. Check for short circuit in harness and connector between CANL circuit and +B circuit, and CANH circuit and +B circuit. 

    CHECK: 

    Measure the resistance between terminals CANL and BAT of the DLC3.

    OK: 

    Resistance: 1 MΩ or higher 

    CHECK: 

    Measure the resistance between terminals CANH and BAT of the DLC3.

    Fig 2: Identifying DLC3 Terminals CANL, CANH, BAT
    G02913091Courtesy of © TOYOTA, LICENSE AGREEMENT TMS1002

    OK: 

    Resistance: 1 MΩ or higher 

    1. NG : Go to step   13 . 
    2. OK : Go to next step. 
  3. Check for short circuit in harness and connector between CANL circuit and ground circuit, and CANH circuit and ground circuit. 

    CHECK: 

    Measure the resistance between terminals CANL and CG of the DLC3.

    OK: 

    Resistance: 3 kΩ or higher 

    CHECK: 

    Measure the resistance between terminals CANH and CG of the DLC3.

    Fig 3: Identifying DLC3 Terminals CG, CANL, CANH
    G02913092Courtesy of © TOYOTA, LICENSE AGREEMENT TMS1002

    OK: 

    Resistance: 3 kΩ or higher 

    1. NG : Go to step   21 . 
    2. OK : If same code is still output after DTC is deleted, check contact condition of each connection. If connections are normal, ECU may be defective. 
  4. Check for short circuit in harness and connector between junction connector and DLC3. 

    PREPARATION: 

    Disconnect the bus line connectors from the junction connector.

    CHECK: 

    Measure the resistance between terminals CANL and CANH of the DLC3.

    Fig 4: Identifying Junction Connector & DLC3 Terminals CANH, CANL
    G02913093Courtesy of © TOYOTA, LICENSE AGREEMENT TMS1002

    OK: 

    Resistance: 1 MΩ or higher 

    1. NG : Repair or replace harness and connector between junction connector and DLC3 and go to step   1 . 
    2. OK : Go to step   1 . 
  5. Check for open circuit in harness and connector between terminals CANL and CANH of skid control ECU. 

    PREPARATION: 

    Disconnect the skid control ECU connector.

    CHECK: 

    Measure the resistance between terminals CANL and CANH of the skid control ECU wire harness side connector.

    Fig 5: Identifying Skid Control ECU Terminals
    G02913094Courtesy of © TOYOTA, LICENSE AGREEMENT TMS1002

    OK: 

    Resistance: 108 to 132 Ω 

    1. NG : Repair or replace harness and connector between terminal CANL and CANH of skid control ECU and go to step   1 . 
    2. OK : Go to next step. 
  6. Measure resistance between terminal CANL and CANH of skid control ECU. 

    PREPARATION: 

    Disconnect the skid control ECU connector.

    CHECK: 

    Measure the resistance between terminals CANL and CANH of the skid control ECU.

    Fig 6: Identifying Skid Control ECU Terminals
    G02913095Courtesy of © TOYOTA, LICENSE AGREEMENT TMS1002

    OK: 

    Resistance: 108 to 132 Ω 

    1. NG : Replace skid control ECU. 
    2. OK : If same code is still output after DTC is deleted, check contact condition of each connection. If connections are normal, ECU may be defective. 
  7. Check for short circuit in harness and connector between DLC3 and junction connector. 

    PREPARATION: 

    Disconnect the bus line connectors from the junction connector.

    CHECK: 

    Measure the resistance between terminals CANL and CANH of the DLC3.

    Fig 7: Identifying Junction Connector & DLC3 Terminals CANH, CANL
    G02913096Courtesy of © TOYOTA, LICENSE AGREEMENT TMS1002

    OK: 

    Resistance: 1 MΩ or higher 

    1. NG : Repair or replace harness and connector between junction connector and DLC3. 
    2. OK : Go to next step. 
  8. Check for short circuit in harness and connector between junction connector and skid control ECU. 

    PREPARATION: 

    1. Disconnect the bus line connectors from the junction connector.
    2. Disconnect the skid control ECU connector.

    CHECK: 

    Measure the resistance between terminals CANL and CANH of the skid control ECU wire harness side connector.

    Fig 8: Identifying Junction Connector & Skid Control ECU Terminals
    G02913097Courtesy of © TOYOTA, LICENSE AGREEMENT TMS1002

    OK: 

    Resistance: 1 MΩ or higher 

    1. NG : Repair or replace harness and connector between junction connector and skid control ECU. 
    2. OK : Go to next step. 
  9. Measure resistance between terminal CANL and CANH of skid control ECU. 

    PREPARATION: 

    Disconnect the skid control ECU connector.

    CHECK: 

    Measure the resistance between terminals CANL and CANH of the skid control ECU.

    Fig 9: Identifying Skid Control ECU Terminals
    G02913098Courtesy of © TOYOTA, LICENSE AGREEMENT TMS1002

    OK: 

    Resistance: 108 to 132 Ω 

    1. NG : Replace skid control ECU. 
    2. OK : Go to next step. 
  10. Check for short circuit in harness and connector between junction connector and steering angle sensor. 

    PREPARATION: 

    1. Disconnect the bus line connectors from the junction connector.
    2. Disconnect the steering angle sensor connector.

    CHECK: 

    Measure the resistance between terminals CANL and CANH of the steering angle sensor wire harness side connector.

    Fig 10: Identifying Junction Connector & Steering Angle Sensor Terminals
    G02913099Courtesy of © TOYOTA, LICENSE AGREEMENT TMS1002

    OK: 

    Resistance: 1 MΩ or higher 

    1. NG : Repair or replace harness and connector between junction connector and steering angle sensor. 
    2. OK : Go to next step. 
  11. Measure resistance between terminals CANL and CANH of steering angle sensor. 

    PREPARATION: 

    Disconnect the steering angle sensor connector.

    CHECK: 

    Measure the resistance between terminals CANL and CANH of the steering angle sensor.

    Fig 11: Identifying Steering Angle Sensor Terminals
    G02913100Courtesy of © TOYOTA, LICENSE AGREEMENT TMS1002

    OK: 

    Resistance: 108 to 132 Ω 

    1. NG : Replace steering angle sensor. 
    2. OK : Go to next step. 
  12. Check for short circuit in harness and connector between junction connector and yaw rate sensor. 

    PREPARATION: 

    1. Disconnect the bus line connectors from the junction connector.
    2. Disconnect the yaw rate sensor connector.

    CHECK: 

    Measure the resistance between terminals CANL and CANH of the yaw rate sensor wire harness side connector.

    Fig 12: Identifying Junction Connector & Yaw Rate Sensor
    G02913101Courtesy of © TOYOTA, LICENSE AGREEMENT TMS1002

    OK: 

    Resistance: 1 MΩ or higher 

    1. NG : Repair or replace harness and connector between junction connector and yaw rate sensor. 
    2. OK : Go to next step. 
  13. Check for short circuit in harness and connector between DLC3 and junction connector (+B short). 

    PREPARATION: 

    Disconnect the bus line connectors from the junction connector.

    CHECK: 

    Measure the resistance between terminals CANL and BAT of the DLC3.

    OK: 

    Resistance: 1 MΩ or higher 

    CHECK: 

    Measure the resistance between terminals CANH and BAT of the DLC3.

    Fig 13: Identifying Junction Connector & DLC3 Terminal CANL, CANH, BAT
    G02913102Courtesy of © TOYOTA, LICENSE AGREEMENT TMS1002

    OK: 

    Resistance: 1 MΩ or higher 

    1. NG : Repair or replace harness and connector between junction connector and DLC3. 
    2. OK : Go to next step. 
  14. Check skid control ECU. 

    PREPARATION: 

    Disconnect the skid control ECU connector.

    CHECK: 

    Measure the resistance between terminals CANL and BAT of the DLC3.

    OK: 

    Resistance: 1 MΩ or higher 

    CHECK: 

    Measure the resistance between terminals CANH and BAT of the DLC3.

    Fig 14: Identifying DLC3 Terminal CANH, CANL, BAT
    G02913103Courtesy of © TOYOTA, LICENSE AGREEMENT TMS1002

    OK: 

    Resistance: 1 MΩ or higher 

    1. NG : Replace skid control ECU. 
    2. OK : Go to next step. 
  15. Check steering angle sensor. 

    PREPARATION: 

    Disconnect the steering angle sensor connector.

    CHECK: 

    Measure the resistance between terminals CANL and BAT of the DLC3.

    OK: 

    Resistance: 1 MΩ or higher 

    CHECK: 

    Measure the resistance between terminals CANH and BAT of the DLC3.

    Fig 15: Identifying DLC3 Terminal CANH, CANL, BAT
    G02913104Courtesy of © TOYOTA, LICENSE AGREEMENT TMS1002

    OK: 

    Resistance: 1 MΩ or higher 

    1. NG : Replace steering angle sensor. 
    2. OK : Go to next step. 
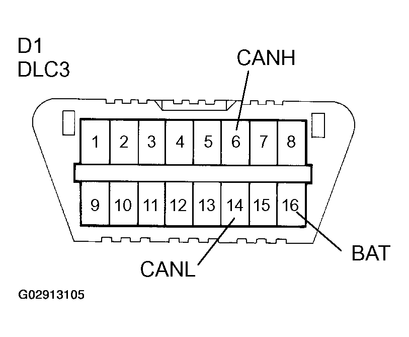
  16. Check yaw rate sensor. 

    PREPARATION: 

    Disconnect the yaw rate sensor connector.

    CHECK: 

    Measure the resistance between terminals CANL and BAT of the DLC3.

    OK: 

    Resistance: 1 MΩ or higher 

    CHECK: 

    Measure the resistance between terminals CANH and BAT of the DLC3.

    Fig 16: Identifying DLC3 Terminal CANH, CANL, BAT
    G02913105Courtesy of © TOYOTA, LICENSE AGREEMENT TMS1002

    OK: 

    Resistance: 1 MΩ or higher 

    1. NG : Replace yaw rate sensor. 
    2. OK : Go to next step. 
  17. Check junction connector. 

    PREPARATION: 

    Disconnect the bus line connectors from the junction connector.

    CHECK: 

    Measure the resistance between terminal BAT of the DLC3 and terminal 1 of the bus line connectors.

    OK: 

    Resistance: 1 MΩ or higher 

    CHECK: 

    Measure the resistance between terminal BAT of the DLC3 and terminal 2 of the bus line connectors.

    Fig 17: Identifying Junction Connector & DLC3 Terminals BAT
    G02913106Courtesy of © TOYOTA, LICENSE AGREEMENT TMS1002

    OK: 

    Resistance: 1 MΩ or higher 

    1. NG : Replace junction connector. 
    2. OK : Go to next step. 
  18. Check for short circuit in harness and connector between junction connector and skid control ECU. 

    PREPARATION: 

    1. Disconnect the bus line connectors from the junction connector.
    2. Disconnect the skid control ECU connector.

    CHECK: 

    Measure the resistance between terminal CANH of the skid control ECU wire harness side connector and terminal BAT of the DLC3.

    OK: 

    Resistance: 1 MΩ or higher 

    CHECK: 

    Measure the resistance between terminal CANL of the skid control ECU wire harness side connector and terminal BAT of the DLC3.

    Fig 18: Identifying Junction Connector, Skid Control ECU & DLC3 Terminals BAT
    G02913107Courtesy of © TOYOTA, LICENSE AGREEMENT TMS1002

    OK: 

    Resistance: 1 MΩ or higher 

    1. NG : Repair or replace harness and connector between junction connector and skid control ECU. 
    2. OK : Go to next step. 
  19. Check for short circuit in harness and connector between steering angle sensor and junction connector. 

    PREPARATION: 

    1. Disconnect the bus line connectors from the junction connector.
    2. Disconnect the steering angle sensor connector.

    CHECK: 

    Measure the resistance between terminal CANH of the steering angle sensor wire harness side connector and terminal BAT of the DLC3.

    OK: 

    Resistance: 1 MΩ or higher 

    CHECK: 

    Measure the resistance between terminal CANL of the steering angle sensor wire harness side connector and terminal BAT of the DLC3.

    Fig 19: Identifying Junction Connector, Steering Angle Sensor & DLC3 Terminals BAT
    G02913108Courtesy of © TOYOTA, LICENSE AGREEMENT TMS1002

    OK: 

    Resistance: 1 MΩ or higher 

    1. NG : Repair or replace harness and connector between junction connector and steering angle sensor. 
    2. OK : Go to next step. 
  20. Check for short circuit in harness and connector between yaw rate sensor and junction connector. 

    PREPARATION: 

    1. Disconnect the bus line connectors from the junction connector.
    2. Disconnect the yaw rate sensor connector.

    CHECK: 

    Measure the resistance between terminal CANH of the yaw rate sensor wire harness side connector and terminal BAT of the DLC3.

    OK: 

    Resistance: 1 MΩ or higher 

    CHECK: 

    Measure the resistance between terminal CANL of the yaw rate sensor wire harness side connector and terminal BAT of the DLC3.

    Fig 20: Identifying Junction Connector, Yaw Rate Sensor And DLC3 Terminals BAT
    G02913109Courtesy of © TOYOTA, LICENSE AGREEMENT TMS1002

    OK: 

    Resistance: 1 MΩ or higher 

    1. NG : Repair or replace harness and connector between junction connector and yaw rate sensor. 
    2. OK : If same code is still output after DTC is deleted, check contact condition of each connection. If connections are normal, ECU may be defective. 
  21. Check for short circuit in harness and connector between DLC3 and junction connector (GND short). 

    PREPARATION: 

    Disconnect the bus line connectors from the junction connector.

    CHECK: 

    Measure the resistance between terminals CANL and CG of the DLC3.

    OK: 

    Resistance: 1 MΩ or higher 

    CHECK: 

    Measure the resistance between terminals CANH and CG of the DLC3.

    Fig 21: Identifying Junction Connector And DLC3 Terminals CG, CANH, CANL
    G02913110Courtesy of © TOYOTA, LICENSE AGREEMENT TMS1002

    OK: 

    Resistance: 1 MΩ or higher 

    1. NG : Repair or replace harness and connector between junction connector and DLC3. 
    2. OK : Go to next step. 
  22. Check skid control ECU. 

    PREPARATION: 

    Disconnect the skid control ECU connector.

    CHECK: 

    Measure the resistance between terminals CANL and CG of the DLC3.

    OK: 

    Resistance: 3 kΩ or higher 

    CHECK: 

    Measure the resistance between terminals CANH and CG of the DLC3.

    Fig 22: Identifying DLC3 Terminals CG, CANH, CANL
    G02913111Courtesy of © TOYOTA, LICENSE AGREEMENT TMS1002

    OK: 

    Resistance: 3 kΩ or higher 

    1. NG : Go to step   23 . 
    2. OK : Replace skid control ECU. 
  23. Check steering angle sensor. 

    PREPARATION: 

    Disconnect the steering angle sensor connector.

    CHECK: 

    Measure the resistance between terminals CANL and CG of the DLC3.

    Fig 23: Identifying DLC3 Terminals CG, CANH, CANL
    G02913112Courtesy of © TOYOTA, LICENSE AGREEMENT TMS1002

    OK: 

    Resistance: 3 kΩ or higher 

    CHECK: 

    Measure the resistance between terminals CANH and CG of the DLC3.

    OK: 

    Resistance: 3 kΩ or higher 

    1. NG : Go to step   24 . 
    2. OK : Replace steering angle sensor. 
  24. Check yaw rate sensor. 

    PREPARATION: 

    Disconnect the yaw rate sensor connector.

    CHECK: 

    Measure the resistance between terminals CANL and CG of the DLC3.

    OK: 

    Resistance: 3 kΩ or higher 

    CHECK: 

    Measure the resistance between terminals CANH and CG of the DLC3.

    Fig 24: Identifying DLC3 Terminals CG, CANH, CANL
    G02913113Courtesy of © TOYOTA, LICENSE AGREEMENT TMS1002

    OK: 

    Resistance: 3 kΩ or higher 

    1. NG : Go to step   25 . 
    2. OK : Replace yaw rate sensor. 
  25. Check junction connector. 

    PREPARATION: 

    Disconnect the bus line connectors from the junction connector.

    CHECK: 

    Measure the resistance between terminal CG of the DLC3 and terminal 1 of the bus line connectors.

    OK: 

    Resistance: 1 MΩ or higher 

    CHECK: 

    Measure the resistance between terminal CG of the DLC3 and terminal 2 of the bus line connectors.

    Fig 25: Identifying Junction Connector, Bus Line Connectors And DLC3 Terminal CG
    G02913114Courtesy of © TOYOTA, LICENSE AGREEMENT TMS1002

    OK: 

    Resistance: 1 MΩ or higher 

    1. NG : Replace junction connector. 
    2. OK : Go to next step. 
  26. Check for short circuit in harness and connector between junction connector and skid control ECU. 

    PREPARATION: 

    1. Disconnect the bus line connectors from the junction connector.
    2. Disconnect the skid control ECU connector.

    CHECK: 

    Measure the resistance between terminal CANH of the skid control ECU wire harness side connector and terminal CG of the DLC3.

    OK: 

    Resistance: 1 MΩ or higher 

    CHECK: 

    Measure the resistance between terminal CANL of the skid control ECU wire harness side connector and terminal CG of the DLC3.

    Fig 26: Identifying Junction Connector, Skid Control ECU & DLC3 Terminal CG
    G02913115Courtesy of © TOYOTA, LICENSE AGREEMENT TMS1002

    OK: 

    Resistance: 1 MΩ or higher 

    1. NG : Repair or replace harness and connector between junction connector and skid control ECU. 
    2. OK : Go to next step. 
  27. Check for short circuit in harness and connector between steering angle sensor and junction connector. 

    PREPARATION: 

    1. Disconnect the bus line connectors from the junction connector.
    2. Disconnect the steering angle sensor connector.

    CHECK: 

    Measure the resistance between terminal CANH of the steering angle sensor wire harness side connector and terminal CG of the DLC3.

    OK: 

    Resistance: 1 MΩ or higher 

    CHECK: 

    Measure the resistance between terminal CANL of the steering angle sensor wire harness side connector and terminal CG of the DLC3.

    Fig 27: Identifying Junction Connector, Steering Angle Sensor & DLC3 Terminal CG
    G02913116Courtesy of © TOYOTA, LICENSE AGREEMENT TMS1002

    OK: 

    Resistance: 1 MΩ or higher 

    1. NG : Repair or replace harness and connector between junction connector and steering angle sensor. 
    2. OK : Go to next step. 
  28. Check for short circuit in harness and connector between yaw rate sensor and junction connector. 

    PREPARATION: 

    1. Disconnect the bus line connectors from the junction connector.
    2. Disconnect the yaw rate sensor connector.

    CHECK: 

    Measure the resistance between terminal CANH of the yaw rate sensor wire harness side connector and terminal CG of the DLC3.

    OK: 

    Resistance: 1 MΩ or higher 

    CHECK: 

    Measure the resistance between terminal CANL of the yaw rate sensor wire harness side connector and terminal CG of the DLC3.

    Fig 28: Identifying Junction Connector, Yaw Rate Sensor & DLC3 Terminal CG
    G02913117Courtesy of © TOYOTA, LICENSE AGREEMENT TMS1002

    OK: 

    Resistance: 1 MΩ or higher 

    1. NG : Repair or replace harness and connector between junction connector and yaw rate sensor. 
    2. OK : If same code is still output after DTC is deleted, check contact condition of each connection. If connections are normal, ECU may be defective.