LEMON Manuals: Even more car manuals for everyone: 1960-2025
Home >> Toyota >> 2004 >> Matrix Base, FWD, Automatic >> Repair and Diagnosis >> External Pages >> Different car >> Section 485 (Front Fog Light System) >> Inspection
April 5, 2026: LEMON Manuals is launched! Read the announcement.

Section 485 (Front Fog Light System): Inspection

WARNING: This page is about a different car, the 2004 Toyota RAV4. However, it is still accessible from the selected car via links, so may be relevant.
  1. INSPECT FRONT FOG LIGHT SWITCH CONTINUITY 
    TESTER CONNECTION SPECIFIED CONDITION

    Switch Position Tester Connection Specified Condition
    OFF 2 - 4 No continuity
    ON 2 - 4 Continuity

    If the continuity is not as specified, replace the switch.

    Fig 1: Locating Front Fog Light Switch Connector Terminal
    G02926343Courtesy of © TOYOTA, LICENSE AGREEMENT TMS1002
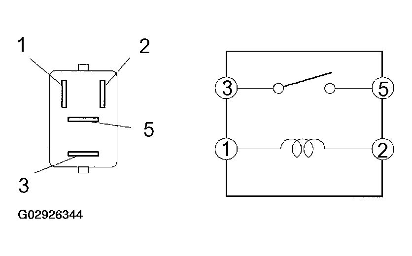
  2. INSPECT FRONT FOG LIGHT RELAY CONTINUITY 
    TESTER CONNECTION & SPECIFIED CONDITION

    Tester Connection Specified Condition
    3 - 5 No continuity
    3 - 5 Continuity (When battery voltage is applied to terminals 1 and 2)

    If the continuity is not as specified, replace the relay.

    Fig 2: Checking Front Fog Light Relay Continuity
    G02926344Courtesy of © TOYOTA, LICENSE AGREEMENT TMS1002