LEMON Manuals: Even more car manuals for everyone: 1960-2025
Home >> Toyota >> 2004 >> Matrix Base, FWD, Automatic >> Repair and Diagnosis >> External Pages >> Different car >> Section 514 (Power Window Control System - Diagnosis) >> Power Windows Do Not Operate At All >> Inspection Procedure
April 5, 2026: LEMON Manuals is launched! Read the announcement.

Inspection Procedure

WARNING: This page is about a different car, the 2004 Toyota Prius. However, it is still accessible from the selected car via links, so may be relevant.
  1. INSPECT FUSE (AM1, GAUGE, FR DOOR, ECU-IG, POWER) 
    1. Remove the AM1, GAUGE, FR DOOR, ECU-IG and POWER fuses from the instrument panel J/B assy.
    2. Measure the resistance.

      Standard: Below 1 Ω 

    NG: REPLACE FUSE 

    OK: Go to next step. 

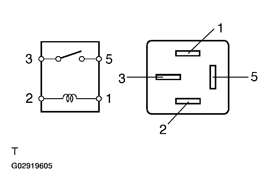
  2. INSPECT RELAY (IG1) 
    1. Remove the IG1 relay from the instrument panel J/B assy.
    2. Measure the resistance.

      Standard: 

      TERMINAL SPECIFIED CONDITION

      Terminal No. Specified Condition
      3 - 5 10 kΩ or higher
      3 - 5 Below 1 --> (when battery voltage is applied to terminals 1 and 2)
    Fig 1: Inspecting Relay (IG1)
    G02919605Courtesy of © TOYOTA, LICENSE AGREEMENT TMS1002

    NG: REPLACE RELAY 

    OK: Go to next step. 

  3. CHECK WIRE HARNESS (POWER WINDOW REGULATOR MASTER SWITCH ASSY - BODY GROUND) 
    1. Disconnect the P17 master switch connector.
    2. Measure the voltage or resistance of the wire harness side connector.

      Standard: 

      TESTER CONNECTION SPECIFIED CONDITION

      Tester Connection Condition Specified Condition
      P17-6 (B) - Body ground Power switch ON (IG) 10 to 14 V
      P17-7 (BW) - Body ground Constant 10 to 14 V
      P17-11 (BDR) - Body ground Power switch ON (IG) 10 to 14 V
      P17-1 (E) - Body ground Constant Below 1 Ω
    Fig 2: Identifying P17 Power Window Regulator Master Switch Connector Terminal
    G02919606Courtesy of © TOYOTA, LICENSE AGREEMENT TMS1002

    NG: Go to step 4 

    OK: REPLACE POWER WINDOW REGULATOR MASTER SWITCH ASSY 

  4. CHECK WIRE HARNESS (INSTRUMENT PANEL J/B ASSY - POWER WINDOW REGULATOR MASTER SWITCH ASSY) 
    1. Disconnect the 1G and 1H J/B connectors.
    2. Disconnect the P17 master switch connector.
    3. Measure the resistance of the wire harness side connectors.

      Standard: 

      TESTER CONNECTION SPECIFIED CONDITION

      Tester Connection Specified Condition
      1G-6 - P17-11 (BDR) Below 1 Ω
      1H-10 - P17-7 (BW) Below 1 Ω
      1H-11 - P17-6 (B) Below 1 Ω
      1G-6 - Body ground 10 kΩ or higher
      1H-10 - Body ground 10 kΩ or higher
      1H-11 - Body ground 10 kΩ or higher
    Fig 3: Identifying 1G And 1H J/B Connectors And P17 Master Switch Connector Terminals
    G02919607Courtesy of © TOYOTA, LICENSE AGREEMENT TMS1002

    NG: REPAIR OR REPLACE HARNESS AND CONNECTOR 

    OK: Go to next step. 

  5. CHECK WIRE HARNESS (FOR POWER SOURCE OF INSTRUMENT PANEL J/B ASSY) 
    1. Disconnect the 1B, 1E and 1J J/B connectors.
    2. Measure the voltage and resistance of the wire harness side connectors.

      Standard: 

      TESTER CONNECTION SPECIFIED CONDITION

      Tester Connection Condition Specified Condition
      1B-1 - Body ground Constant 10 to 14 V
      1E-17 - Body ground Constant Below 1 Ω
      1J-3 - Body ground Power switch ON (IG) 10 to 14 V
      1J-1 - Body ground Constant 10 to 14 V
    Fig 4: Identifying 1B, 1E And 1J J/B Connectors
    G02919608Courtesy of © TOYOTA, LICENSE AGREEMENT TMS1002

    NG: REPAIR OR REPLACE HARNESS AND CONNECTOR 

    OK: REPLACE INSTRUMENT PANEL J/B ASSY