LEMON Manuals: Even more car manuals for everyone: 1960-2025
Home >> Toyota >> 2004 >> Matrix Base, FWD, Automatic >> Repair and Diagnosis >> External Pages >> Different car >> Section 521 (Automatic Transmission Shift Control System - Diagnosis) >> System Diagram
April 5, 2026: LEMON Manuals is launched! Read the announcement.

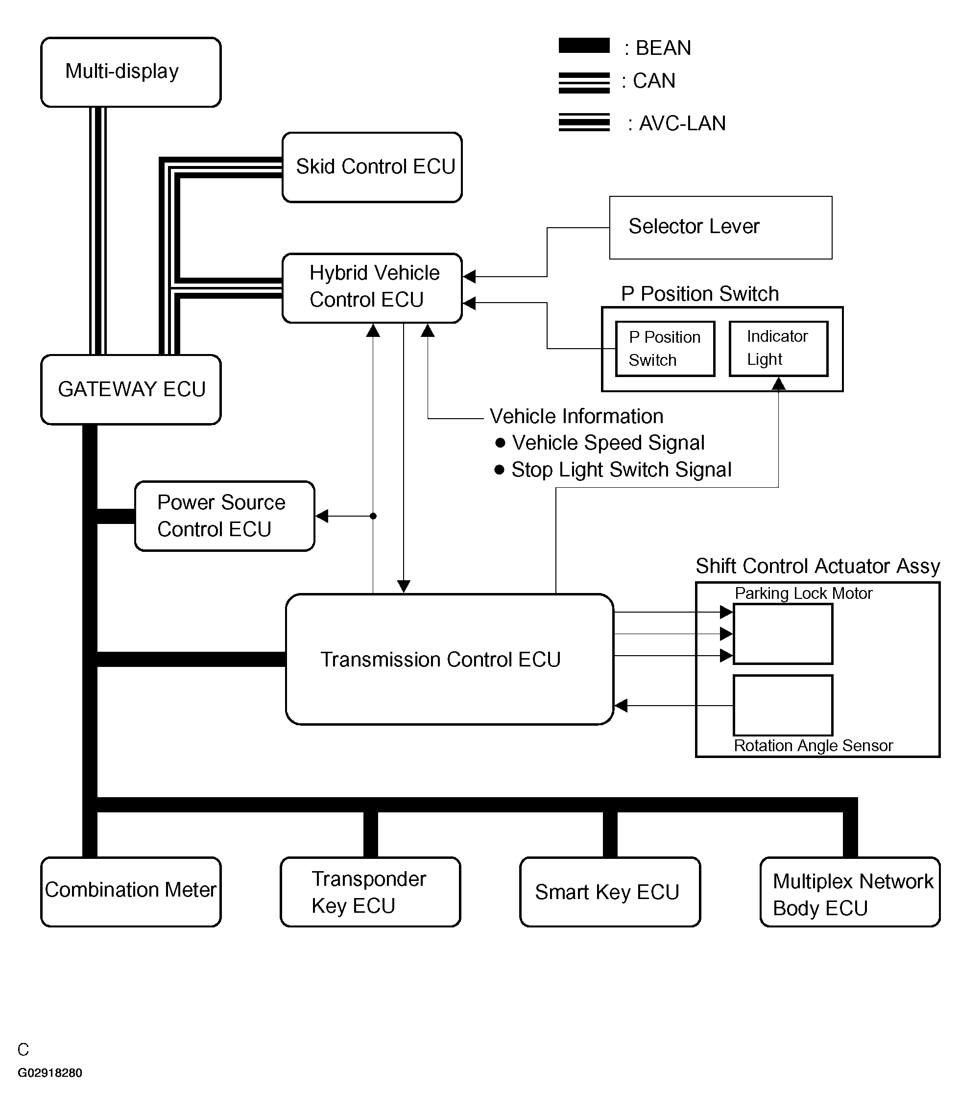
System Diagram

WARNING: This page is about a different car, the 2004 Toyota Prius. However, it is still accessible from the selected car via links, so may be relevant.
Fig 1: Identifying Shift Control System Diagram
G02918280Courtesy of © TOYOTA, LICENSE AGREEMENT TMS1002
Fig 2: ECU Signal Table
G02918281Courtesy of © TOYOTA, LICENSE AGREEMENT TMS1002