LEMON Manuals: Even more car manuals for everyone: 1960-2025
Home >> Toyota >> 2004 >> Matrix Base, FWD, Automatic >> Repair and Diagnosis >> External Pages >> Different car >> Section 549 (Body Control Systems - Diagnostics) >> Circuit Inspection >> Engine Hood Courtesy Switch Circuit >> Inspection Procedure
April 5, 2026: LEMON Manuals is launched! Read the announcement.

Inspection Procedure

WARNING: This page is about a different car, the 2003 Toyota Sequoia. However, it is still accessible from the selected car via links, so may be relevant.
NOTE: In case of using the TOYOTA hand-held tester, start the inspection from step 1 and in case of not using the TOYOTA hand-held tester, start from step 2.
  1. Check engine hood courtesy switch using TOYOTA hand-held tester. 

    PREPARATION:

    Connect the TOYOTA hand-held tester to the DLC 3.

    CHECK:

    Check the engine hood courtesy switch using DATA LIST.

    1. OK : Proceed to next circuit inspection shown in PROBLEM SYMPTOMS TABLE   . 
    2. NG : Go To Next Step. 
  2. Check engine hood courtesy switch. 

    PREPARATION:

    1. Remove engine hood lock assembly.
    2. Disconnect engine hood courtesy switch connector.

    CHECK:

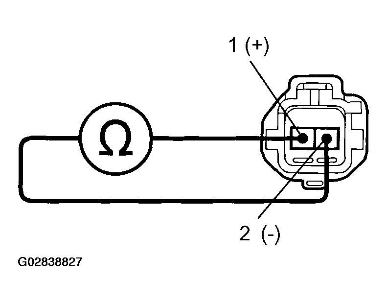
    Check continuity between terminals 1 and 2 when engine hood lock is locked and unlocked.

    OK:

    LOCKED AND UNLOCKED CONTINUITY REFERENCE

    Engine hood lock Tester connection Specified condition
    LOCK 1 - 2 No Continuity
    UNLOCK 1 - 2 Continuity
    Fig 1: Checking Engine Hood Courtesy Switch
    G02838827Courtesy of © TOYOTA, LICENSE AGREEMENT TMS1002
    1. NG : Replace engine hood courtesy switch. 
    2. OK : Go To Next Step. 
  3. Check harness and connector between body ECU and switch, switch and body ground (See  HOW TO USE THE DIAGNOSTIC CHART AND INSPECTION PROCEDURE  ). 
    1. NG : Repair or replace harness or connector. 
    2. OK : Proceed to next circuit inspection shown in problem symptoms table (See  HOW TO USE THE DIAGNOSTIC CHART AND INSPECTION PROCEDURE  ).