LEMON Manuals: Even more car manuals for everyone: 1960-2025
Home >> Toyota >> 2004 >> Matrix Base, FWD, Automatic >> Repair and Diagnosis >> External Pages >> Different car >> Section 697 (Power Window Control System (Coupe) - Diagnostics) >> Remote Up/Down Function Does Not Operate >> Inspection Procedure
April 5, 2026: LEMON Manuals is launched! Read the announcement.

Inspection Procedure

WARNING: This page is about a different car, the 2004 Toyota Camry Solara. However, it is still accessible from the selected car via links, so may be relevant.
  1. CHECK POWER WINDOW LOCK SWITCH 
    1. Turn the window lock switch OFF and operate the master switch (passenger side switch). Check that the remote UP/DOWN function operates normally.

      OK: Remote UP/DOWN function operates normally. 

    Fig 1: Identifying Power Window Lock Switch
    G03049784Courtesy of © TOYOTA, LICENSE AGREEMENT TMS1002
    1. NG: Go to step   2 
    2. OK: END 
  2. CHECK MANUAL UP/DOWN FUNCTION 
    1. Check that the passenger side power window manual UP/DOWN function operates normally.

      OK: Manual UP/DOWN function operates normally. 

    1. NG: OTHER PROBLEM (See  PROBLEM SYMPTOMS TABLE  ) 
    2. OK: Go to Next Step. 
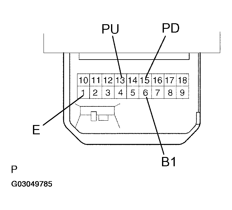
  3. INSPECT POWER WINDOW REGULATOR MASTER SWITCH ASSY (PASSENGER SIDE SWITCH) 
    1. Disconnect the D8 master switch connector.
    2. Measure the resistance of the switch when the switch is operated.
    Fig 2: Identifying Power Window Regulator Master Switch Connector (Passenger Side)
    G03049785Courtesy of © TOYOTA, LICENSE AGREEMENT TMS1002

    Standard: 

    Fig 3: Power Window Regulator Master Switch Resistance Specification Table
    G03049786Courtesy of © TOYOTA, LICENSE AGREEMENT TMS1002
    1. NG: REPLACE POWER WINDOW REGULATOR MASTER SWITCH ASSY 
    2. OK: REPAIR OR REPLACE HARNESS AND CONNECTOR (POWER WINDOW REGULATOR MASTER SWITCH ASSY - POWER WINDOW REGULATOR SWITCH ASSY (PASSENGER SIDE))