LEMON Manuals: Even more car manuals for everyone: 1960-2025
Home >> Toyota >> 2004 >> Matrix Base, FWD, Automatic >> Repair and Diagnosis >> External Pages >> Different car >> Section 726 (Engine Control System - Diagnosis) >> DTC P0171: System Too Lean (Bank 1), DTC P0172 System Too Rich (Bank 1), DTC P0174 System Too Lean (Bank 2), DTC P0175 System Too Rich (Bank 2) >> Inspection Procedure
April 5, 2026: LEMON Manuals is launched! Read the announcement.

Inspection Procedure

WARNING: This page is about a different car, the 2004 Lexus ES 330. However, it is still accessible from the selected car via links, so may be relevant.

HINT: Hand-held tester only:

It is possible the malfunctioning area can be found using the ACTIVE TEST A/F CONTROL operation. The A/F CONTROL operation can determine if the A/F sensor, heated oxygen sensor or other potential trouble areas are malfunctioning or not.

  1. Perform the ACTIVE TEST A/F CONTROL operation.

    HINT: The A/F CONTROL operation lowers the injection volume 12.5% or increases the injection volume 25%.

    1. Connect the hand-held tester to the DLC3 on the vehicle.
    2. Turn the ignition switch to ON.
    3. Warm up the engine by running the engine at 2,500 RPM for approximately 90 seconds.
    4. Select the item: DIAGNOSIS / ENHANCED OBD II / ACTIVE TEST / A/F CONTROL.
    5. Perform the A/F CONTROL operation with the engine in an idle condition (press the right or left button).

      Result: 

      A/F sensor reacts in accordance with increase and decrease of injection volume: 

      +25% --> rich output: Less than 3.0 V 

      -12.5% --> lean output: More than 3.35 V 

      Heated oxygen sensor reacts in accordance with increase and decrease of injection volume: 

      +25% --> rich output: More than 0.55 V 

      -12.5% --> lean output: Less than 0.4 V 

NOTE: The A/F sensor output has a few seconds of delay and the heated oxygen sensor output has about 20 seconds of delay at maximum.
Fig 1: A/F Sensor (Sensor 1) And Heated Oxygen Sensor (Sensor 2) Output Voltage Chart
G01438073Courtesy of © TOYOTA, LICENSE AGREEMENT TMS1002

The following A/F CONTROL procedure enables the technician to check and graph the voltage outputs of both the A/F sensor and the heated oxygen sensor.

To display the graph, enter ACTIVE TEST/ A/F CONTROL/USER DATA, then select "AFS B1S1 and O2S B1S2" or "AFS B2S1 and O2S B2S2" by pressing the "YES" button followed by the "ENTER" button and then the "F4" button.

HINT:

  1. CHECK AIR INDUCTION SYSTEM 
    1. Check for vacuum leaks in the air induction system.

    NG: REPAIR OR REPLACE AIR INDUCTION SYSTEM 

    OK: GO TO NEXT STEP. 

  2. CHECK CONNECTION OF PCV HOSE 

    NG: REPAIR OR REPLACE HOSE 

    OK: GO TO NEXT STEP. 

  3. INSPECT FUEL INJECTOR ASSY (INJECTION AND VOLUME) (See  INSPECTION  ) 

    NG: REPLACE FUEL INJECTOR ASSY (See  FUEL INJECTOR ASSY (3MZ-FE)  ) 

    OK: GO TO NEXT STEP. 

  4. INSPECT MASS AIR FLOW SENSOR 
    1. Remove the mass air flow sensor.
    2. Inspect output voltage.
      1. Apply battery voltage across terminals +B and E2G.
      2. Connect the positive (+) tester prove to terminal VG, and negative (-) tester prove to terminal E2G.
      3. Blow air into the mass air flow sensor, and check that the voltage fluctuates.
    3. Inspect resistance.
      1. Measure the resistance between the terminals of the intake air temperature sensor.

        Standard: 

        Fig 2: Mass Air Flow Sensor Terminals Specified Condition Chart
        G01438074Courtesy of © TOYOTA, LICENSE AGREEMENT TMS1002
    4. Reinstall the mass air flow sensor.
      Fig 3: Mass Air Flow Sensor Terminals Resistance Graph
      G01438075Courtesy of © TOYOTA, LICENSE AGREEMENT TMS1002

    NG: REPLACE MASS AIR FLOW SENSOR 

    OK: GO TO NEXT STEP. 

  5. INSPECT ENGINE COOLANT TEMPERATURE SENSOR (RESISTANCE) 
    1. Remove the engine coolant temperature sensor.
    2. Measure the resistance between the terminals of the engine coolant temperature sensor.

      Standard: 

      Fig 4: Engine Coolant Temperature Sensor Terminals Specified Condition Chart
      G01438076Courtesy of © TOYOTA, LICENSE AGREEMENT TMS1002
      NOTE: When checking the engine coolant temperature sensor in water, be careful not to allow water to contact the terminals. After checking, dry the sensor.

      HINT: Alternate procedure: Connect an ohmmeter to the installed engine coolant temperature sensor and read the resistance. Use an infrared thermometer to measure the engine temperature in the immediate vicinity of the sensor. Compare these values to the resistance/temperature graph. Change the engine temperature (warm up or allow to cool down) and repeat the test.

    3. Reinstall the engine coolant temperature sensor.
      Fig 5: Measure Resistance Between Terminals Of Engine Coolant Temperature Sensor
      G01438077Courtesy of © TOYOTA, LICENSE AGREEMENT TMS1002

    NG: REPLACE ENGINE COOLANT TEMPERATURE SENSOR 

    OK: GO TO NEXT STEP. 

  6. CHECK FOR SPARK AND IGNITION (See  IGNITION SYSTEM (3MZ-FE)  ) 

    NG: REPAIR OR REPLACE 

    OK: GO TO NEXT STEP. 

  7. CHECK FUEL PRESSURE (See  ON-VEHICLE INSPECTION  ) 
    1. Check the fuel pressure (high or low pressure).

    NG: REPAIR FUEL SYSTEM 

    OK: GO TO NEXT STEP. 

  8. CHECK FOR EXHAUST GAS LEAKAGE 

    NG: REPAIR OR REPLACE EXHAUST GAS LEAKAGE POINT (See  EXHAUST  ) 

    OK: GO TO NEXT STEP. 

  9. READ VALUE OF HAND-HELD TESTER OR OBD II SCAN TOOL (OUTPUT VOLTAGE OF AIR FUEL RATIO SENSOR (BANK 1, 2 SENSOR 1)) 
    1. Connect the hand-held tester or the OBD II scan tool to the DLC 3.
    2. Warm up the A/F sensors (bank 1, 2 sensor 1) by running the engine at 2,500 RPM for approximately 90 seconds.
    3. Read A/F sensor voltage output on the OBD II scan tool or the hand-held tester.
    4. Hand-held tester only:

      On the hand-held tester, enter the following menus: DIAGNOSIS / ENHANCED OBD II / SNAPSHOT / MANUAL SNAPSHOT / USER DATA. Read the values.

    5. Select the item "AFS B1 S1 or AFS B2 S1/ENGINE SPD" and press YES.
    6. Monitor the A/F sensor voltage carefully.
    7. Check the A/F sensor voltage output under the following conditions:
      1. Allow the engine to idle for 30 seconds.
      2. Running the engine at approximately 2,500 RPM (where engine RPM is not suddenly changed).
      3. Raise the engine speed to 4,000 RPM and quickly release the accelerator pedal so that the throttle is fully closed.

        Standard: 

        Condition (1) and (2) 

        Voltage change of 3.3 V (0.66 V) (*) (between approximately 3.1 to 3.5 V) as shown in the illustration. 

        Condition (3) 

        A/F sensor voltage increases to 3.8 V (0.76 V) (*) or more when fuel is cut during engine deceleration, as shown in the illustration. 

        (*) Voltage when using the OBD II scan tool.

        Fig 6: A/F Sensor Output Voltage Chart (Normal/Malfunction Condition)
        G01438078Courtesy of © TOYOTA, LICENSE AGREEMENT TMS1002

    HINT:

    • Whenever the output voltage of the A/F sensor remains at approximately 3.3 V (0.660 V) (*) (see "Malfunction Condition" graphic) under any condition as well as the above conditions, the A/F sensor may have an open-circuit. (This will happen also when the A/F sensor heater has an open-circuit.)
    • Whenever the output voltage of the A/F sensor remains at a certain value of approximately 3.8 V (0.76 V) (*) or more, or 2.8 V (0.56 V) (*) or less (see "Malfunction Condition" graphic) under any condition as well as the above conditions, the A/F sensor may have a short-circuit.
    • The ECM will stop fuel injection (fuel cut) during engine deceleration. This will cause a LEAN condition and should result in a momentary increase in A/F sensor voltage output.
    • The ECM must establish a closed throttle position learned value to perform fuel cut. If the battery terminal has been disconnected, the vehicle must be driven over 10 mph (16km/h) to allow the ECM to learn the closed throttle position.
    • When the vehicle is driven:

      The output voltage of the A/F sensor may be below 2.8 V (0.76 V) (*) during fuel enrichment. For the vehicle, this translates to a sudden increase in speed with the accelerator pedal fully depressed when trying to overtake another vehicle. The A/F sensor is functioning normally.

    • The A/F sensor is a current output element, and therefore the current is converted into voltage inside the ECM. If measuring voltage at connectors of A/F sensor or ECM, you will observe a constant voltage.

    Voltage when using the OBD II scan tool.

    OK: Go to step   14 

    NG: GO TO NEXT STEP. 

  10. INSPECT AIR FUEL RATIO SENSOR (HEATER RESISTANCE) 
    1. Disconnect the A10 or A11 A/F sensor connector.
    2. Measure the resistance between the terminals of the A/F sensor.

      Resistance: 

      Fig 7: Air Fuel Ratio Sensor Terminals Resistance Chart
      G01438079Courtesy of © TOYOTA, LICENSE AGREEMENT TMS1002
    3. Reconnect the A/F sensor connector.
      Fig 8: Identifying Air Fuel Ratio Sensor Terminals
      G01438080Courtesy of © TOYOTA, LICENSE AGREEMENT TMS1002

    NG: REPLACE AIR FUEL RATIO SENSOR 

    OK: GO TO NEXT STEP. 

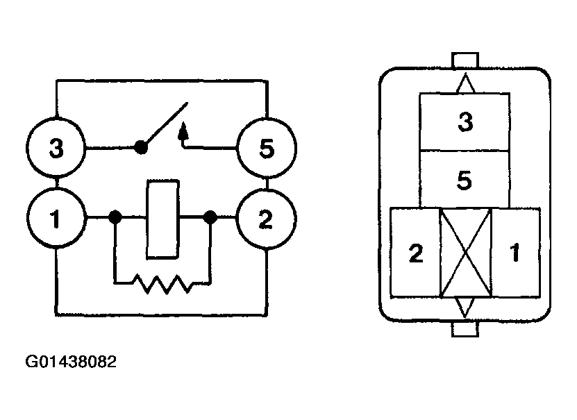
  11. INSPECT AIR FUEL RATIO SENSOR HEATER RELAY 
    1. Remove the A/F sensor heater relay from the engine room R/B.
    2. Check for continuity in the A/F sensor heater relay.

      Standard: 

      Fig 9: Air Fuel Ratio Sensor Heater Relay Terminals Continuity Chart
      G01438081Courtesy of © TOYOTA, LICENSE AGREEMENT TMS1002
    3. Reinstall the A/F sensor heater relay.
      Fig 10: Checking Continuity Between Air Fuel Ratio Sensor Heater Relay Terminals
      G01438082Courtesy of © TOYOTA, LICENSE AGREEMENT TMS1002

    NG: REPLACE AIR FUEL RATIO SENSOR HEATER RELAY 

    OK: GO TO NEXT STEP. 

  12. CHECK HARNESS AND CONNECTOR (A/F SENSOR - ECM) 
    1. Disconnect the A10 or A11 A/F sensor connector.
    2. Disconnect the E9 ECM connector.
    3. Check the resistance between the wire harness side connectors.

      Standard (Check for open): 

      Fig 11: A/F Sensor And ECM Terminals Specified Condition Chart (Check For Open)
      G01438083Courtesy of © TOYOTA, LICENSE AGREEMENT TMS1002

      Standard (Check for short): 

      Fig 12: A/F Sensor And ECM Terminals Specified Condition Chart (Check For Short)
      G01438084Courtesy of © TOYOTA, LICENSE AGREEMENT TMS1002
    4. Reconnect the A/F sensor connector.
    5. Reconnect the ECM connector.
      Fig 13: Identifying A/F Sensor Connector
      G01438085Courtesy of © TOYOTA, LICENSE AGREEMENT TMS1002
      Fig 14: Disconnecting E9 ECM Connector
      G01438086Courtesy of © TOYOTA, LICENSE AGREEMENT TMS1002
      Fig 15: A/F Sensor Connectors Reference Chart (Bank 1 Sensor 1 System Drawing)
      G01438087Courtesy of © TOYOTA, LICENSE AGREEMENT TMS1002

    NG: REPAIR OR REPLACE HARNESS OR CONNECTOR 

    OK: GO TO NEXT STEP. 

  13. REPLACE AIR FUEL RATIO SENSOR 

    GO: GO TO NEXT STEP. 

  14. PERFORM CONFIRMATION DRIVING PATTERN 
    Fig 16: Vehicle Speed Perform Confirmation Driving Pattern Chart
    G01438088Courtesy of © TOYOTA, LICENSE AGREEMENT TMS1002
    1. Clear the DTCs.
      1. Disconnect the battery terminal or remove the EFI and ETCS fuses for 60 seconds or more.
    2. Connect the hand-held tester to the DLC3.
    3. Switch the hand-held tester from the normal mode to the check mode (see CHECK MODE PROCEDURE ).
    4. Start the engine and warm it up with all the accessory switched OFF.
    5. Drive the vehicle at 38 to 75 mph (60 to 120 km/h) and engine speed at 1,400 to 3,200 RPM for 3 to 5 minutes.

    HINT: If a malfunction exists, the MIL will be illuminated during step (e).

    NOTE: If the conditions in this test are not strictly followed, no malfunction will be defected. If you do not have a hand-held tester, turn the ignition switch OFF after performing steps (d) and (e), then perform step (e) again.

    GO: GO TO NEXT STEP. 

  15. READ OUTPUT DTC (SEE IF DTC P0171, P0172, P0174 AND/OR P0175 ARE OUTPUT AGAIN) 
    1. Connect the hand-held tester or the OBD II scan tool to the DLC3.
    2. Turn the ignition switch to ON and turn the hand-held tester or the OBD II scan tool ON.
    3. Select the item: DIAGNOSIS / ENHANCED OBD II / DTC INFO / CURRENT CODES.
    4. Read the DTCs.

      Result: 

      Fig 17: DTC Output Result Table (1 Of 3)
      G01438089Courtesy of © TOYOTA, LICENSE AGREEMENT TMS1002

    B: REPLACE ECM (See  ECM (3MZ-FE)  ) AND PERFORM CONFIRMATION DRIVING PATTERN (Refer to step 14) 

    A: GO TO NEXT STEP. 

  16. CONFIRM IF VEHICLE HAS RUN OUT OF FUEL IN PAST 

    NO: CHECK FOR INTERMITTENT PROBLEMS (See  CHECK FOR INTERMITTENT PROBLEMS  ) 

    YES: GO TO NEXT STEP. 

    DTC IS CAUSED BY RUNNING OUT OF FUEL (DTCS P0171, P0172, P0174 AND/OR P0175) 

  17. PERFORM CONFIRMATION DRIVING PATTERN 

    HINT: Clear all DTCs prior to performing the confirmation driving pattern (Refer to step 14).

    GO: GO TO NEXT STEP. 

  18. READ OUTPUT DTC (SEE IF DTC P0171, P0172, P0174 AND/OR P0175 ARE OUTPUT AGAIN) 
    1. Connect the hand-held tester or the OBD II scan tool to the DLC3.
    2. Turn the ignition switch to ON and turn the hand-held tester or the OBD II scan tool ON.
    3. Select the item: DIAGNOSIS / ENHANCED OBD II / DTC INFO / CURRENT CODES.
    4. Read the DTCs.

      Result: 

      Fig 18: DTC Output Result Table (2 Of 3)
      G01438090Courtesy of © TOYOTA, LICENSE AGREEMENT TMS1002

    B: Go to step   22 

    A: GO TO NEXT STEP. 

  19. REPLACE AIR FUEL RATIO SENSOR 

    GO: GO TO NEXT STEP. 

  20. PERFORM CONFIRMATION DRIVING PATTERN 

    HINT: Clear all DTCs prior to performing the confirmation driving pattern (Refer to step 14).

    GO: GO TO NEXT STEP. 

  21. READ OUTPUT DTC (SEE IF DTC P0171, P0172, P0174 AND/OR P0175 ARE OUTPUT AGAIN) 
    1. Connect the hand-held tester or the OBD II scan tool to the DLC3.
    2. Turn the ignition switch to ON and turn the hand-held tester or the OBD II scan tool ON.
    3. Select the item: DIAGNOSIS / ENHANCED OBD II / DTC INFO / CURRENT CODES.
    4. Read the DTCs.

      Result: 

      Fig 19: DTC Output Result Table (3 Of 3)
      G01438091Courtesy of © TOYOTA, LICENSE AGREEMENT TMS1002

    B: REPLACE ECM (See  ECM (3MZ-FE)  ) AND PERFORM CONFIRMATION DRIVING PATTERN (Refer to step 14) 

    A: GO TO NEXT STEP. 

  22. CONFIRM IF VEHICLE HAS RUN OUT OF FUEL IN PAST 

    NO: CHECK FOR INTERMITTENT PROBLEMS (See  CHECK FOR INTERMITTENT PROBLEMS  ) 

    YES: GO TO NEXT STEP. 

    DTC IS CAUSED BY RUNNING OUT OF FUEL (DTCS P0171, P0172, P0174 AND/OR P0175)