LEMON Manuals: Even more car manuals for everyone: 1960-2025
Home >> Toyota >> 2004 >> Matrix Base, FWD, Automatic >> Repair and Diagnosis >> External Pages >> Different car >> Section 75 (Automatic Transmission Shift Interlock Systems) >> Component Tests >> Shift Interlock Solenoid >> Toyota Avalon (Column Shift)
April 5, 2026: LEMON Manuals is launched! Read the announcement.

Toyota Avalon (Column Shift)

WARNING: This page does not describe the selected car, but rather 45 other vehicles, including the 2002 Toyota Tundra, 2002 Toyota Tacoma, 2002 Toyota Sienna, 2002 Toyota Sequoia, and 2002 Toyota RAV4. However, it is still accessible from the selected car via links, so may be relevant.
NOTE: Manufacturer does not provide removal and installation information for shift interlock solenoid.
  1. Disconnect the solenoid connector. Using an ohmmeter, measure resistance between terminals. See Fig 1. Resistance should be 29-35 ohms. If resistance value is not as specified, replace the solenoid. See Figure.
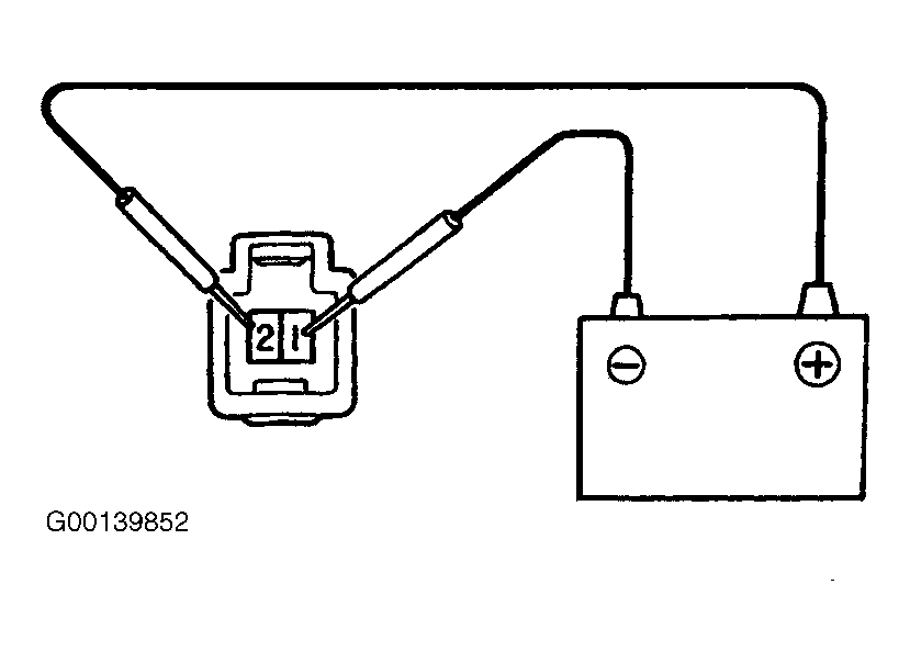
  2. Momentarily supply battery positive voltage and ground at terminals. See Fig 2. Ensure that an operating noise can be heard from the solenoid. If the solenoid does not operate, replace the solenoid. See Figure.
Fig 1: Measuring Resistance At Shift Interlock Solenoid (Column Shift - Toyota Avalon)
G00139851Courtesy of © TOYOTA, LICENSE AGREEMENT TMS1002
Fig 2: Testing Operation Of Shift Interlock Solenoid (Column Shift - Toyota Avalon)
G00139852Courtesy of © TOYOTA, LICENSE AGREEMENT TMS1002