LEMON Manuals: Even more car manuals for everyone: 1960-2025
Home >> Toyota >> 2004 >> Matrix Base, FWD, Standard >> Repair and Diagnosis >> Accessories & Equipment >> Anti-Theft Systems >> Vehicle Intrusion Protection System - Diagnostics >> Ignition Switch Circuit >> Inspection Procedure
April 5, 2026: LEMON Manuals is launched! Read the announcement.

Inspection Procedure

  1. CHECK IGNITION OR STARTER SWITCH ASSY 
    1. Check the ignition switch continuity, as shown in Fig 1 and Fig 2.

      Standard: 

      Fig 1: Checking Ignition Switch Assembly
      G02916025Courtesy of © TOYOTA, LICENSE AGREEMENT TMS1002
      Fig 2: Ignition Switch Terminal Continuity Table
      G02916024Courtesy of © TOYOTA, LICENSE AGREEMENT TMS1002
    1. NG: REPAIR OR REPLACE IGNITION OR STARTER SWITCH ASSY 
    2. OK: Go to next step. 
  2. CHECK FUSE (ECU-IG) 
    1. Remove the fuse from the instrument panel J/B.
    2. Check the continuity of the fuse.

      Standard: Continuity 

      Fig 3: Locating ECU-IG Fuse
      G02916026Courtesy of © TOYOTA, LICENSE AGREEMENT TMS1002
    1. NG: REPLACE FUSE 
    2. OK: Go to next step. 
  3. CHECK RELAY 
    1. Remove the ignition relay from the instrument J/B.
    2. Check the ignition relay continuity, as shown in Fig 4 and TESTING IGNITION RELAY TERMINAL CONTINUITY .

      Standard: 

      Fig 4: Identifying Ignition Relay
      G02916027Courtesy of © TOYOTA, LICENSE AGREEMENT TMS1002
      TESTING IGNITION RELAY TERMINAL CONTINUITY

      Test Between Terminals No. Condition Specified condition
      1 <=> 2 Constant Continuity
      3 <=> 5 Apply B+ between terminals 1 and 2 Continuity
    1. NG: REPLACE RELAY 
    2. OK: Go to next step. 
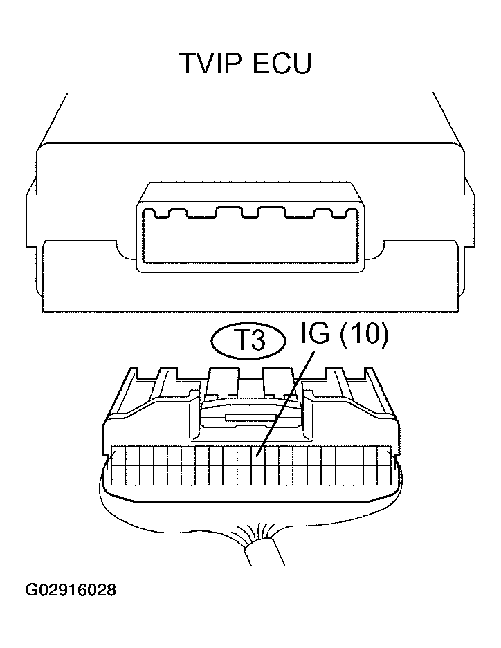
  4. CHECK WIRE HARNESS (TVIP ECU <=> BODY GROUND) 
    1. Disconnect the TVIP ECU connector.
    2. Turn the ignition switch ON.
    3. Check the voltage between the terminal of the ECU connector and the body ground, as shown in Fig 5 and TESTING ECU TERMINAL VOLTAGE .

      Standard: 

      Fig 5: Locating TVIP ECU Connector T3 Terminal IG (10)
      G02916028Courtesy of © TOYOTA, LICENSE AGREEMENT TMS1002
      TESTING ECU TERMINAL VOLTAGE

      Test Between Terminals No. Specified Condition
      IG (T3-10) <=> Body Ground 10 - 14 V
    1. NG: REPAIR OR REPLACE WIRE HARNESS AND CONNECTOR 
    2. OK: CHECK AND REPLACE TVIP ECU (Refer to  ELECTRONIC CIRCUIT INSPECTION PROCEDURE  ).