LEMON Manuals: Even more car manuals for everyone: 1960-2025
Home >> Toyota >> 2004 >> Matrix Base, FWD, Standard >> Repair and Diagnosis >> External Pages >> Different car >> Section 210 (Body Control System) >> Circuit Tests >> Diagnosis Circuit >> Circuit Description
April 5, 2026: LEMON Manuals is launched! Read the announcement.

Circuit Description

WARNING: This page is about a different car, the 2003 Lexus IS 300 and 2002 Lexus IS 300. However, it is still accessible from the selected car via links, so may be relevant.

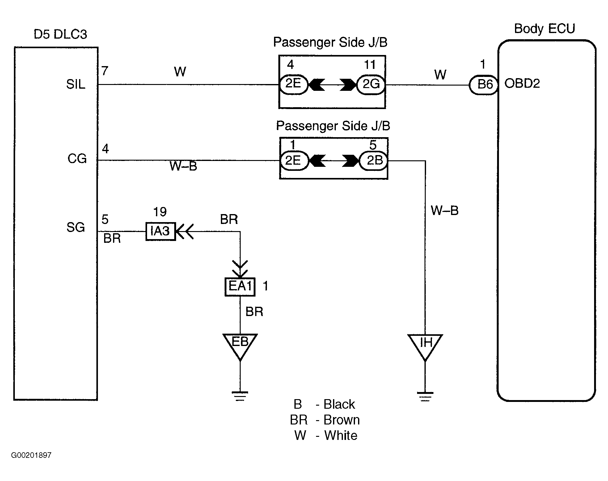
This circuit sends a signal to the ECU that DTC output is required. For circuit diagram, see Fig 1.

Fig 1: Identifying Diagnosis Circuit
G00201897Courtesy of © TOYOTA, LICENSE AGREEMENT TMS1002