LEMON Manuals: Even more car manuals for everyone: 1960-2025
Home >> Toyota >> 2004 >> Matrix Base, FWD, Standard >> Repair and Diagnosis >> External Pages >> Different car >> Section 452 (Air Conditioning System - Diagnostics) >> Circuit Inspection >> Compressor Circuit >> Inspection Procedure
April 5, 2026: LEMON Manuals is launched! Read the announcement.

Inspection Procedure

WARNING: This page is about a different car, the 2002 Toyota Prius. However, it is still accessible from the selected car via links, so may be relevant.
  1. Check voltage between terminal MGC of A/C amplifier and body ground. 

    Check

    1. Start engine.
    2. Push AUTO SW.
    3. Measure voltage between terminal MGC of A/C amplifier connector and body ground when A/C switch is On and OFF. If OK  , see Fig 2.
      Fig 1: Locating A/C Amplifier MGC Terminal
      G01112420Courtesy of © TOYOTA, LICENSE AGREEMENT TMS1002
      Fig 2: A/C Amplifier MGC Terminal Specifications (A/C & Auto Switches ON)
      G01112419Courtesy of © TOYOTA, LICENSE AGREEMENT TMS1002
    1. If OK  , go to step  5.
    2. NG:  Go to step  2.
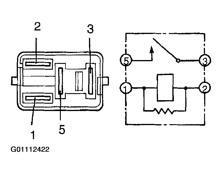
  2. Check magnetic clutch relay. 

    PREPARATION:  Remove magnetic clutch relay from engine room J/B.

    Check:  continuity between each pair of terminals of magnetic clutch relay. If OK  , see Fig 4.

    Fig 3: Identifying Magnetic Clutch Relay Terminals
    G01112422Courtesy of © TOYOTA, LICENSE AGREEMENT TMS1002
    Fig 4: Magnetic Clutch Relay Terminal Specifications
    G01112421Courtesy of © TOYOTA, LICENSE AGREEMENT TMS1002

    PREPARATION:  Apply battery positive (+) voltage between terminals 1 and 2.

    Check:  continuity between terminals 3 and 5. If OK  , continuity exists.

    1. NG:  Replace magnetic clutch relay.
    2. If OK  , go to step  3.
  3. Check A/C magnetic clutch. 

    PREPARATION:  Disconnect magnetic clutch connector.

    Check:  Connect positive (+) lead connected to battery to magnetic clutch connector terminal 3 and negative (-) lead to body ground. If OK  , magnetic clutch is energized.

    Fig 5: Identifying Magnetic Clutch Connector Terminal 1
    G01112423Courtesy of © TOYOTA, LICENSE AGREEMENT TMS1002
    1. NG:  Repair A/C magnetic clutch.
    2. OK: Go to step   4 . 
  4. Check harness and connector between magnetic clutch relay and A/C amplifier, A/C compressor and body ground  . See HOW TO USE THE DIAGNOSTIC CHART AND INSPECTION .
    1. NG:  Repair or replace harness or connector.
    2. If OK  , proceed to next circuit inspection shown on problem symptoms table. See PROBLEM SYMPTOMS TABLE .
  5. Check voltage between terminal ACT of A/C amplifier connector side and body ground. 

    Preparation

    1. Disconnect A/C amplifier connector.
    2. Turn ignition switch ON.

      Check:  voltage between terminal ACT of A/C amplifier harness side connector.

      If OK  , voltage : 10 - 14 V.

      Fig 6: Locating A/C Amplifier ACT Terminal
      G01112424Courtesy of © TOYOTA, LICENSE AGREEMENT TMS1002
    1. NG:  Check and replace engine ECU.
    2. OK: Go to step   6 . 
  6. Check voltage between terminal ACT of A/C amplifier connector and body ground. 

    Preparation

    1. Remove center cluster module control with connector still connected.
    2. Start the engine and push AUTO switch.

      Check:  the voltage between terminal ACT of A/C amplifier connector and body ground when magnetic clutch is ON and OFF by A/C switch. If OK  , see Fig 8.

      Fig 7: Locating A/C amplifier ACT Terminal
      G01112426Courtesy of © TOYOTA, LICENSE AGREEMENT TMS1002
      Fig 8: A/C amplifier ACT Terminal Specifications (Magnetic Clutch On/Off)
      G01112425Courtesy of © TOYOTA, LICENSE AGREEMENT TMS1002
    1. NG:  Check and replace A/C amplifier.
    2. If OK  , go to step  7.
  7. Check harness and connector between magnetic clutch relay and A/C amplifier  . See HOW TO USE THE DIAGNOSTIC CHART AND INSPECTION .
    1. NG:  Repair or replace harness or connector.
    2. If OK  , proceed to next circuit inspection shown on problem symptoms table. See PROBLEM SYMPTOMS TABLE .