LEMON Manuals: Even more car manuals for everyone: 1960-2025
Home >> Toyota >> 2004 >> Matrix Base, FWD, Standard >> Repair and Diagnosis >> External Pages >> Different car >> Section 452 (Air Conditioning System - Diagnostics) >> Circuit Inspection >> IG Power Source Circuit >> Inspection Procedure
April 5, 2026: LEMON Manuals is launched! Read the announcement.

Inspection Procedure

WARNING: This page is about a different car, the 2002 Toyota Prius. However, it is still accessible from the selected car via links, so may be relevant.
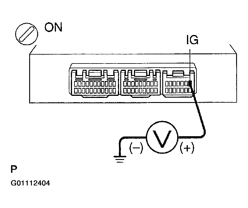
  1. Check voltage between terminals IG and GND of A/C amplifier connector. 

    Preparation

    1. Remove center cluster module control with connectors still connected.
    2. Turn ignition switch ON.

      Check:  Measure voltage between terminals IG and GND of A/C amplifier. If OK  , voltage: 10 - 14 V.

      Fig 1: Locating A/C Amplifier Connector IG Terminal
      G01112404Courtesy of © TOYOTA, LICENSE AGREEMENT TMS1002
    1. If OK  , proceed to next circuit inspection shown on problem symptoms table. See PROBLEM SYMPTOMS TABLE .
    2. NG:  Go to step  2.
  2. Check continuity between terminal GND of A/C amplifier and body ground. 

    Check:  Measure resistance between terminal GND of A/C amplifier and body ground. If OK  , resistance: Below 1 Ω.

    Fig 2: Locating A/C Amplifier Connector GND Terminal
    G01112405Courtesy of © TOYOTA, LICENSE AGREEMENT TMS1002
    1. NG:  Repair or replace harness or connector.
    2. If OK:  Go to step  3.
  3. Check HTR fuse. 

    PREPARATION:  Remove HTR fuse from instrument panel J/B.

    Check:  continuity of HTR fuse. If OK  , continuity exists.

    Fig 3: Locating HTR Fuse
    G01112406Courtesy of © TOYOTA, LICENSE AGREEMENT TMS1002
    1. NG:  Check for shot in all the harness and components connected to the HTR fuse.
    2. If OK  , check and repair harness and connector between A/C amplifier and battery.