LEMON Manuals: Even more car manuals for everyone: 1960-2025
Home >> Toyota >> 2004 >> Matrix Base, FWD, Standard >> Repair and Diagnosis >> External Pages >> Different car >> Section 577 (Back Door Power Window Control System) >> Inspection
April 5, 2026: LEMON Manuals is launched! Read the announcement.

Section 577 (Back Door Power Window Control System): Inspection

WARNING: This page is about a different car, the 2003 Toyota Sequoia. However, it is still accessible from the selected car via links, so may be relevant.
  1. INSPECT BACK DOOR POWER WINDOW SWITCH CONTINUITY 
    BACK DOOR POWER WINDOW SWITCH CONTINUITY SPECIFICATIONS

    Switch Position Tester Connection Specified Condition
    UP 3-6 Continuity
    OFF - No Continuity
    DOWN 35 Continuity

    If continuity is not as specified, replace the switch.

    Fig 1: Identify Back Door Power Window Switch Terminals
    G02852216Courtesy of © TOYOTA, LICENSE AGREEMENT TMS1002
  2. INSPECT BACK DOOR CONTROL SWITCH CONTINUITY 
    BACK DOOR CONTROL SWITCH CONTINUITY SPECIFICATIONS

    Switch Position Tester Connection Specified Condition
    UP 1-3 Continuity
    OFF - No Continuity
    DOWN 23 Continuity

    If continuity is not as specified, replace the switch.

    Fig 2: Inspecting Back Door Control Switch Continuity
    G02852217Courtesy of © TOYOTA, LICENSE AGREEMENT TMS1002
  3. INSPECT WINDOW LIMIT SWITCH CONTINUITY 
    WINDOW LIMIT SWITCH CONTINUITY SPECIFICATIONS

    Switch Position Tester Connection Specified Condition
    Switch Lever Pushed (OFF Position) - No Continuity
    Switch Lever Released (ON Position) 1 - 2 Continuity

    If continuity is not as specified, replace the back door power window regulator assembly.

    Fig 3: Inspecting Window Limit Switch Continuity
    G02852218Courtesy of © TOYOTA, LICENSE AGREEMENT TMS1002
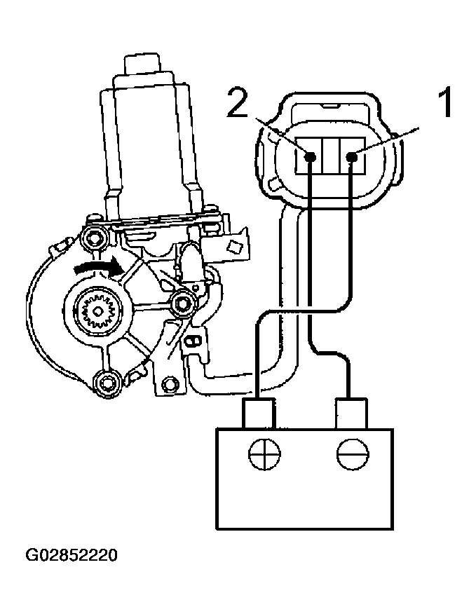
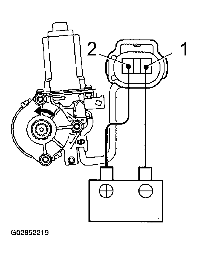
  4. INSPECT BACK DOOR POWER WINDOW MOTOR OPERATION 
    1. Connect the positive (+) lead from the battery to terminal 2 and the negative (-) lead to terminal 1 and check that the motor turns counterclockwise.
      Fig 4: Inspecting Back Door Power Window Motor Operation (1 Of 2)
      G02852219Courtesy of © TOYOTA, LICENSE AGREEMENT TMS1002
    2. Connect the positive (+) lead from the battery to terminal 1 and the negative (-) lead to terminal 2 and check that the motor turns clockwise.

    If operation is not as specified, replace the back door power window motor.

    Fig 5: Inspecting Back Door Power Window Motor Operation (2 Of 2)
    G02852220Courtesy of © TOYOTA, LICENSE AGREEMENT TMS1002