LEMON Manuals: Even more car manuals for everyone: 1960-2025
Home >> Toyota >> 2004 >> Matrix Base, FWD, Standard >> Repair and Diagnosis >> External Pages >> Different car >> Section 578 (Power Door Lock Control System) >> Inspection
April 5, 2026: LEMON Manuals is launched! Read the announcement.

Section 578 (Power Door Lock Control System): Inspection

WARNING: This page is about a different car, the 2003 Toyota Sequoia. However, it is still accessible from the selected car via links, so may be relevant.
  1. INSPECT DRIVER DOOR KEY LOCK AND UNLOCK SWITCH CONTINUITY 
    Fig 1: Identifying Driver Door Key Lock And Unlock Switch Terminals
    G02852222Courtesy of © TOYOTA, LICENSE AGREEMENT TMS1002
    DRIVER DOOR KEY LOCK AND UNLOCK SWITCH SPECIFICATIONS

    Switch Position Tester Connection Specified Condition
    LOCK 3 - 5 Continuity
    OFF - No Continuity
    UNLOCK 3-6 Continuity

    If continuity is not as specified, replace the door lock motor.

  2. INSPECT PASSENGER'S DOOR KEY LOCK AND UNLOCK SWITCH CONTINUITY 
    Fig 2: Identifying Passenger Door Key Lock And Unlock Switch Terminals
    G02852223Courtesy of © TOYOTA, LICENSE AGREEMENT TMS1002
    PASSENGER SIDE DOOR KEY LOCK AND UNLOCK SWITCH SPECIFICATIONS

    Switch Position Tester Connection Specified Condition
    LOCK 2 - 4 Continuity
    OFF - No Continuity
    UNLOCK 1-4 Continuity

    If continuity is not as specified, replace the door lock motor.

  3. INSPECT DRIVER'S DOOR UNLOCK DETECTION SWITCH CONTINUITY 
    Fig 3: Identifying Driver Side Door Unlock Detection Switch Terminals
    G02852224Courtesy of © TOYOTA, LICENSE AGREEMENT TMS1002
    DRIVER SIDE DOOR UNLOCK DETECTION SWITCH SPECIFICATIONS

    Switch Position Tester Connection Specified Condition
    OFF (Door Lock Set To LOCK) - No Continuity
    ON (Door Lock Set To UNLOCK) 3-4 Continuity

    If continuity is not as specified, replace the door lock motor.

  4. INSPECT PASSENGER'S DOOR UNLOCK DETECTION SWITCH CONTINUITY 
    Fig 4: Identifying Passenger Side Door Unlock Detection Switch Terminals
    G02852225Courtesy of © TOYOTA, LICENSE AGREEMENT TMS1002
    PASSENGER SIDE DOOR UNLOCK DETECTION SWITCH SPECIFICATIONS

    Switch Position Tester Connection Specified Condition
    OFF (Door Lock Set To LOCK) - No Continuity
    ON (Door Lock Set To UNLOCK) 3-4 Continuity

    If continuity is not as specified, replace the door lock motor.

  5. INSPECT REAR DOOR UNLOCK DETECTION SWITCH CONTINUITY 
    Fig 5: Identifying Rear Door Unlock Detection Switch Terminals
    G02852226Courtesy of © TOYOTA, LICENSE AGREEMENT TMS1002
    REAR DOOR UNLOCK DETECTION SWITCH CONTINUITY SPECIFICATIONS

    Switch Position Tester Connection Specified Condition
    OFF (Door Lock Set To LOCK) - No Continuity
    ON (Door Lock Set To UNLOCK) 3-4 (Left Side) 1 - 2 (Right Side) Continuity

    If continuity is not as specified, replace the door lock motor.

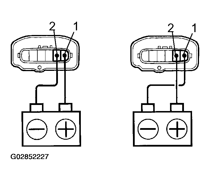
  6. INSPECT DRIVER'S DOOR LOCK MOTOR OPERATION 
    1. Connect the positive (+) lead from the battery to terminal 1 and the negative (-) lead to terminal 2, and check that the door lock cable moves to UNLOCK position.
    2. Reverse the polarity and check that the door lock cable moves to LOCK position.

    If operation is not as specified, replace the door lock motor.

    Fig 6: Inspecting Driver Side Door Lock Motor Operation
    G02852227Courtesy of © TOYOTA, LICENSE AGREEMENT TMS1002
  7. INSPECT PASSENGER'S DOOR LOCK MOTOR OPERATION 
    1. Connect the positive (+) lead from the battery to terminal 5 and the negative (-) lead to terminal 6, and check that the door lock cable moves to UNLOCK position.
      Fig 7: Inspecting Passenger Side Door Lock Motor Operation
      G02852228Courtesy of © TOYOTA, LICENSE AGREEMENT TMS1002
    2. Reverse the polarity and check that the door lock cable moves to LOCK position.

    If operation is not as specified, replace the door lock motor.

  8. INSPECT REAR LEFT SIDE DOOR LOCK MOTOR OPERATION 
    1. Connect the positive (+) lead from the battery to terminal 1 and the negative (-) lead to terminal 2, and check that the door lock cable moves to UNLOCK position.
      Fig 8: Inspecting Rear Left Side Door Lock Motor Operation
      G02852229Courtesy of © TOYOTA, LICENSE AGREEMENT TMS1002
    2. Reverse the polarity and check that the door lock cable moves to LOCK position.

    If operation is not as specified, replace the door lock motor.

  9. INSPECT REAR RIGHT SIDE DOOR LOCK MOTOR OPERATION 
    1. Connect the positive (+) lead from the battery to terminal 3 and the negative (-) lead to terminal 4, and check that the door lock cable moves to UNLOCK position.
      Fig 9: Inspecting Rear Right Side Door Lock Motor Operation
      G02852230Courtesy of © TOYOTA, LICENSE AGREEMENT TMS1002
    2. Reverse the polarity and check that the door lock cable moves to LOCK position.

    If operation is not as specified, replace the door lock motor.

  10. INSPECT BACK DOOR LOCK MOTOR OPERATION 
    1. Connect the positive (+) lead from the battery to terminal 3 and the negative (-) lead to terminal 4, and check that the door lock cable moves to UNLOCK position.
      Fig 10: Inspecting Back Door Lock Motor Operation
      G02852231Courtesy of © TOYOTA, LICENSE AGREEMENT TMS1002
    2. Reverse the polarity and check that the door lock cable moves to LOCK position.

    If operation is not as specified, replace the door lock motor.

  11. INSPECT BACK DOOR UNLOCK DETECTION SWITCH CONTINUITY 
    Fig 11: Identifying Back Door Unlock Detection Switch Terminals
    G02852232Courtesy of © TOYOTA, LICENSE AGREEMENT TMS1002
    BACK DOOR UNLOCK DETECTION SWITCH SPECIFICATIONS

    Switch Position Tester Connection Specified Condition
    OFF (Door Lock Set To LOCK) - No Continuity
    ON (Door Lock Set To UNLOCK) 1-2 Continuity

    If continuity is not as specified, replace the back door lock motor.

  12. INSPECT BACK DOOR KEY LOCK AND UNLOCK CONTROL SWITCH CONTINUITY 
    Fig 12: Inspecting Back Door Key Lock And Unlock Control Switch Continuity
    G02852233Courtesy of © TOYOTA, LICENSE AGREEMENT TMS1002
    BACK DOOR KEY LOCK AND UNLOCK CONTROL SWITCH CONTINUITY SPECIFICATIONS

    Switch Position Tester Connection Specified Condition
    LOCK 1 - 3 Continuity
    OFF - No Continuity
    UNLOCK 2 - 3 Continuity

    If continuity is not as specified, replace the switch.