LEMON Manuals: Even more car manuals for everyone: 1960-2025
Home >> Toyota >> 2004 >> Prius >> Repair and Diagnosis >> Body & Frame >> Mirrors >> Power Mirror Control System >> Inspection
April 5, 2026: LEMON Manuals is launched! Read the announcement.

Power Mirror Control System: Inspection

  1. INSPECT OUTER MIRROR SWITCH ASSY 
    1. Press L on the left/right adjustment switch. Measure the resistance between the mirror switch terminals.

      Standard (Left side): 

      TERMINAL CONNECTION AND SPECIFIED CONDITION CHART

      Terminal Connection Switch Condition Specified Condition
      4 - 8
      6 - 7
      UP Below 1 Ω
      4 - 7
      6 - 8
      DOWN Below 1 Ω
      5 - 8
      6 - 7
      LEFT Below 1 Ω
      5 - 7
      6 - 8
      RIGHT Below 1 Ω

      If the result is not as specified, replace the switch assy.

      Fig 1: Identifying Outer Mirror Switch Assy
      G03629724Courtesy of © TOYOTA, LICENSE AGREEMENT TMS1002
    2. Press R on the left/right adjustment switch. Measure the resistance between the mirror switch terminals.

      Standard (Right side): 

      TERMINAL CONNECTION AND SPECIFIED CONDITION CHART

      Terminal Connection Switch Condition Specified Condition
      3 - 8
      6 - 7
      UP Below 1 Ω
      3 - 7
      6 - 8
      DOWN Below 1 Ω
      2 - 8
      6 - 7
      LEFT Below 1 Ω
      2 - 7
      6 - 8
      RIGHT Below 1 Ω

    If the result is not as specified, replace the switch assy.

  2. INSPECT OUTER REAR VIEW MIRROR ASSY LH 
    1. Disconnect the mirror connector.
    2. Apply battery voltage to the mirror terminals and check operation of the mirror face, as shown in the table and illustration.

      OK: 

      MEASUREMENT CONDITION AND MIRROR OPERATION CHART

      Measurement Condition Mirror Operation
      Battery positive (+) --> Terminal 5 (MV)
      Battery negative (-) --> Terminal 4 (M+)
      Turns upward (A)
      Battery positive (+) --> Terminal4 (M+)
      Battery negative (-) --> Terminal 5 (MV)
      Turns downward (B)
      Battery positive (+) --> Terminal 3 (MH)
      Battery negative (-) --> Terminal 4 (M+)
      Turns left (C)
      Battery positive (+) --> Terminal 4 (M+)
      Battery negative (-) --> Terminal 3 (MH)
      Turns right (D)

    If the result is not as specified, replace the mirror assy.

    Fig 2: Identifying Outer Rear View Mirror Assy LH
    G03629725Courtesy of © TOYOTA, LICENSE AGREEMENT TMS1002
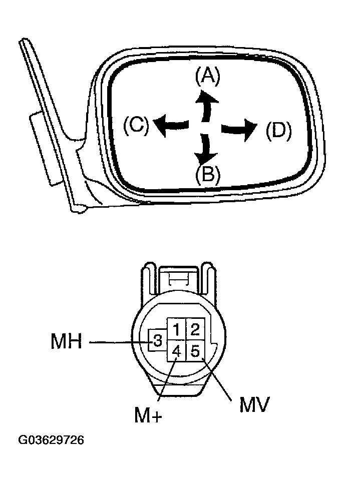
  3. INSPECT OUTER REAR VIEW MIRROR ASSY RH 
    1. Disconnect the mirror connector.
    2. Apply battery voltage to the mirror terminals and check operation of the mirror face, as shown in the table and illustration.

      OK: 

      MEASUREMENT CONDITION AND MIRROR OPERATION CHART

      Measurement Condition Mirror Operation
      Battery positive (+) --> Terminal 5 (MV)
      Battery negative (-) --> Terminal 4 (M+)
      Turns upward (A)
      Battery positive (+) --> Terminal 4 (M+)
      Battery negative (-) --> Terminal 5 (MV)
      Turns downward (B)
      Battery positive (+) --> Terminal 3 (MH)
      Battery negative (-) --> Terminal 4 (M+)
      Turns right (C)
      Battery positive (+) --> Terminal 4 (M+)
      Battery negative (-) --> Terminal 3 (MH)
      Turns left (D)

    If the result is not as specified, replace the mirror assy.

    Fig 3: Identifying Outer Rear View Mirror Assy RH
    G03629726Courtesy of © TOYOTA, LICENSE AGREEMENT TMS1002