LEMON Manuals: Even more car manuals for everyone: 1960-2025
Home >> Toyota >> 2004 >> Prius >> Repair and Diagnosis >> Body & Frame >> Windows >> Power Window Control System - Diagnosis >> Remote Up/Down Function Does Not Operate >> Wiring Diagram
April 5, 2026: LEMON Manuals is launched! Read the announcement.

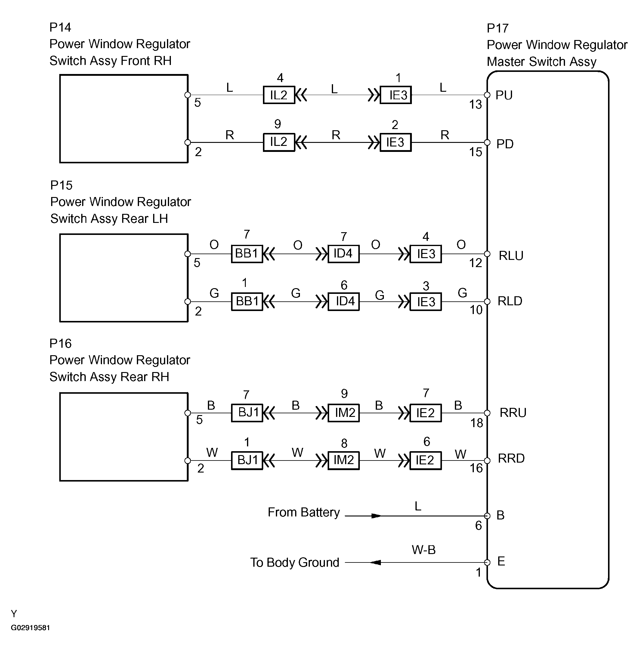
Remote Up/Down Function Does Not Operate: Wiring Diagram

Fig 1: Wiring Diagram - Remote UP/Down Function
G02919581Courtesy of © TOYOTA, LICENSE AGREEMENT TMS1002