LEMON Manuals: Even more car manuals for everyone: 1960-2025
Home >> Toyota >> 2004 >> Prius >> Repair and Diagnosis >> Engine Performance >> Ignition System >> Engine Ignition System >> Ignition System (1NZ-FXE) >> System Diagram
April 5, 2026: LEMON Manuals is launched! Read the announcement.

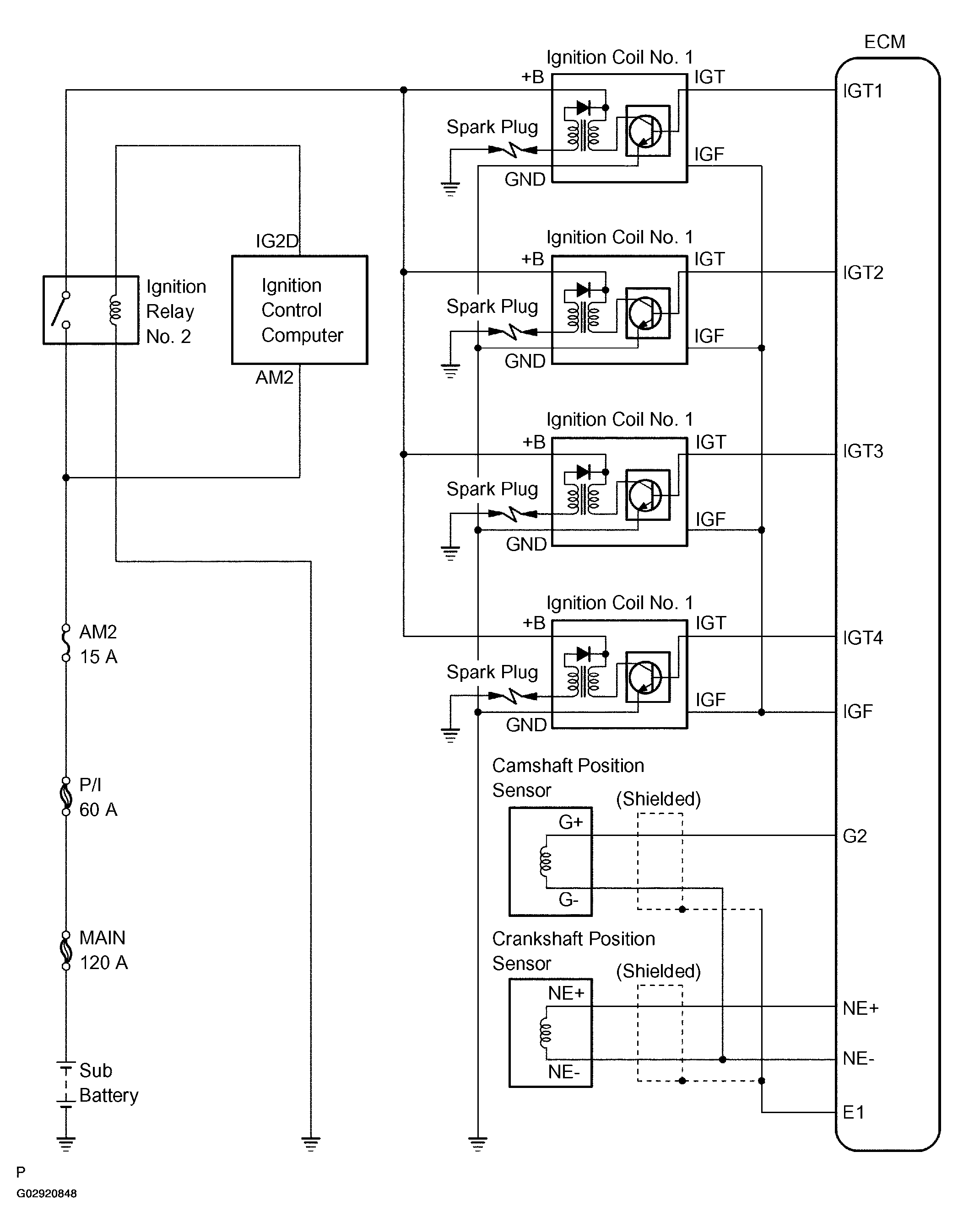
System Diagram

Ignition timing is determined by the ECM based on signals from various sensors.

Fig 1: Ignition System Wiring Diagram
G02920848Courtesy of © TOYOTA, LICENSE AGREEMENT TMS1002