LEMON Manuals: Even more car manuals for everyone: 1960-2025
Home >> Toyota >> 2004 >> RAV4 Base, AWD, Automatic >> Repair and Diagnosis >> External Pages >> Different car >> Section 128 (Engine Control System Self Diagnostics) >> Diagnostic Tests >> DTC P0130: Oxygen Sensor Circuit (Bank 1 Sensor 1) Or DTC P0150: Oxygen Sensor Circuit (Bank 2 Sensor 1) >> Diagnosis & Repair
April 5, 2026: LEMON Manuals is launched! Read the announcement.

Diagnosis & Repair

WARNING: This page is about a different car, the 2003 Toyota MR2. However, it is still accessible from the selected car via links, so may be relevant.
NOTE: Using Toyota hand-held tester or scan tool, read FREEZE FRAME data. Freeze frame data records engine conditions when malfunction is detected.

For diagnosis and repair procedure, see Fig 1-Fig 3 .

When prompted to perform confirmation driving pattern, see TEST DRIVE CONFIRMATION .

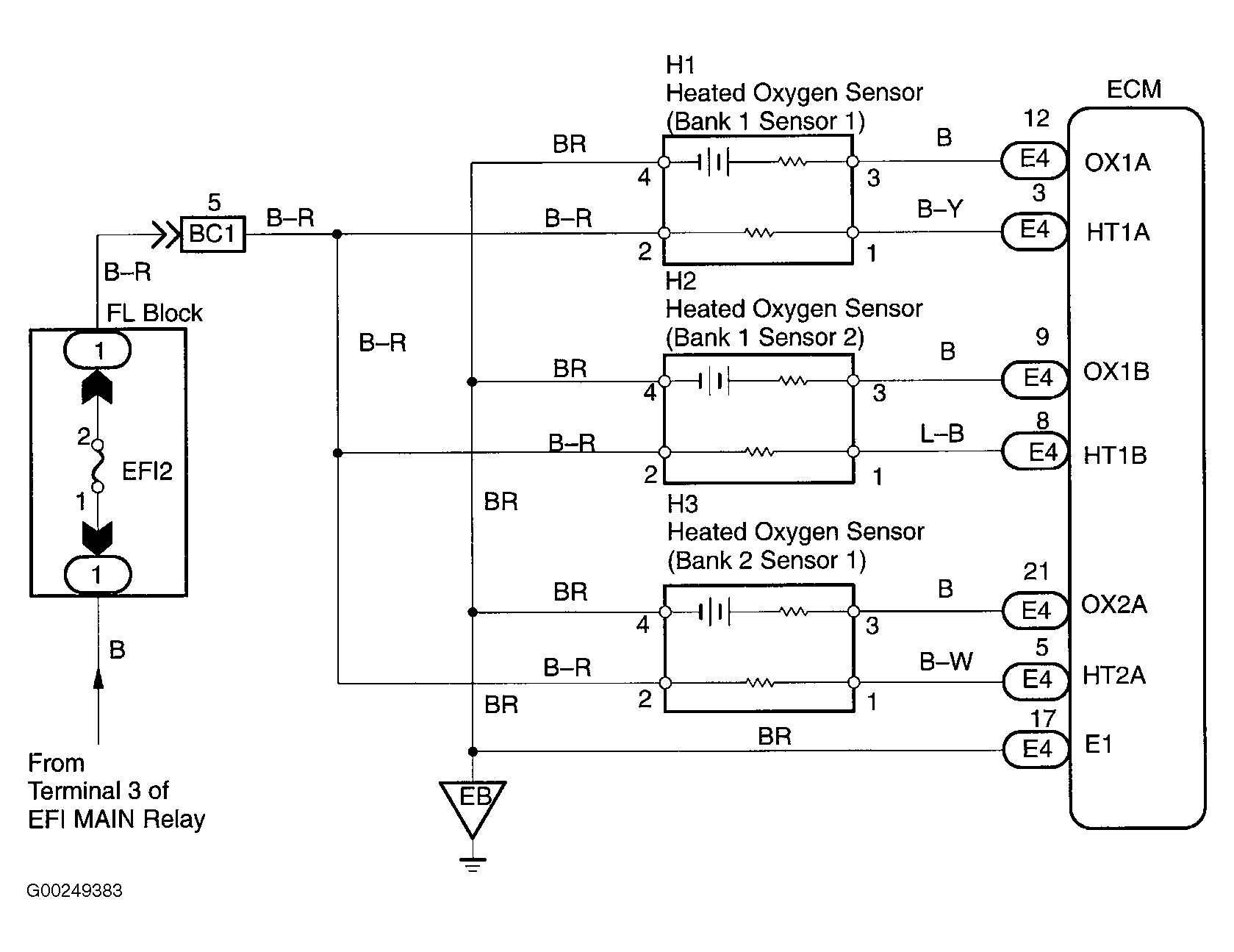
For HO2S circuit wiring diagram, see Figure. For location of emission related components, see Figure.

For ECM location, see Figure. For ECM connector terminal view, see Figure.

For vacuum or EVAP hose routing, see VACUUM DIAGRAMS article. For testing of systems or components, see BASIC DIAGNOSTIC PROCEDURES - 4-CYLINDER article or SYSTEM & COMPONENT TESTING - 4-CYLINDER article. For removal and installation of components, see REMOVAL & INSTALLATION - 4-CYLINDER article.

Fig 1: DTCs P0130 & P0150 Diagnostic Procedure (Steps 1-2)
G00236975Courtesy of © TOYOTA, LICENSE AGREEMENT TMS1002
Fig 2: DTCs P0130 & P0150 Diagnostic Procedure (Steps 3-5)
G00236976Courtesy of © TOYOTA, LICENSE AGREEMENT TMS1002
Fig 3: DTCs P0130 & P0150 Diagnostic Procedure (Steps 6-8)
G00236977Courtesy of © TOYOTA, LICENSE AGREEMENT TMS1002