LEMON Manuals: Even more car manuals for everyone: 1960-2025
Home >> Toyota >> 2004 >> RAV4 Base, AWD, Standard >> Repair and Diagnosis (Single Page) >> Body & Frame >> Windows >> Power Window Control System >> Inspection
April 5, 2026: LEMON Manuals is launched! Read the announcement.

Power Window Control System: Inspection

  1. INSPECT POWER WINDOW MASTER SWITCH CONTINUITY 
    Fig 1: Identifying Power Window Master Switch
    G02926420Courtesy of © TOYOTA, LICENSE AGREEMENT TMS1002

    Front driver's switch (Window unlock and lock): 

    FRONT DRIVER'S SWITCH CONTINUITY (WINDOW UNLOCK & LOCK)

    Switch Position Tester Connection Specified Condition
    UP 4 - 7
    1- 3 - 9
    Continuity
    OFF 1 - 3 - 4
    1- 3 - 9
    Continuity
    DOWN 7 - 9
    1 - 3 - 4
    Continuity

    Front passenger's switch (Window unlock): 

    FRONT PASSENGER'S SWITCH CONTINUITY (WINDOW UNLOCK)

    Switch Position Tester Connection Specified Condition
    UP 6 - 13
    1 - 3 - 15
    Continuity
    OFF 1 - 3 - 13
    1 - 3 - 15
    Continuity
    DOWN 6 - 15
    1 - 3 - 13
    Continuity

    Front passenger's switch (Window lock): 

    FRONT PASSENGER'S SWITCH CONTINUITY (WINDOW LOCK)

    Switch Position Tester Connection Specified Condition
    UP 6 - 13 Continuity
    OFF 13 - 15 Continuity
    DOWN 6 - 15 Continuity

    Rear left switch (Window unlock): 

    REAR LEFT SWITCH CONTINUITY (WINDOW UNLOCK)

    Switch Position Tester Connection Specified Condition
    UP 6 - 12
    1 - 3 - 10
    Continuity
    OFF 1 - 3 - 12
    1 - 3 - 10
    Continuity
    DOWN 6 - 10
    1 - 3 - 12
    Continuity

    Rear left switch (Window lock): 

    REAR LEFT SWITCH CONTINUITY (WINDOW LOCK)

    Switch Position Tester Connection Specified Condition
    UP 6 - 12 Continuity
    OFF 10 - 12 Continuity
    DOWN 6 - 10 Continuity

    Rear right switch (Window unlock): 

    REAR RIGHT SWITCH CONTINUITY (WINDOW UNLOCK)

    Switch Position Tester Connection Specified Condition
    UP 6 - 18
    1 - 3 - 16
    Continuity
    OFF 1 - 3 - 18
    1 - 3 - 16
    Continuity
    DOWN 6 - 16
    1 - 3 - 18
    Continuity

    Rear right switch (Window lock): 

    REAR RIGHT SWITCH CONTINUITY (WINDOW LOCK)

    Switch Position Tester Connection Specified Condition
    UP 6 - 18 Continuity
    OFF 16 - 18 Continuity
    DOWN 6 - 16 Continuity

    If the continuity is not as specified, replace the master switch.

  2. Using an ammeter: INSPECT ONE TOUCH POWER WINDOW SYSTEM/CURRENT OF CIRCUIT 
    1. Disconnect the connector from the master switch.
    2. Connect the positive (+) lead from the ammeter to terminal 4 on the wire harness side connector and the negative (-) lead to negative (-) terminal of the battery.
    3. Connect the positive (+) lead from the battery to terminal 9 on the wire harness side connector.
      Fig 2: Connecting Leads From Battery To Terminal 4 & 9
      G02926421Courtesy of © TOYOTA, LICENSE AGREEMENT TMS1002
    4. As the window moves down, check if the current flow is approximately 7 A.
    5. Fig 3: Identifying Window Moved Down
      G02926422Courtesy of © TOYOTA, LICENSE AGREEMENT TMS1002
    6. Check if the current increases up to approximately 14.5 A or more when the window stops moving down.

      HINT:

      The circuit breaker opens 4 to 40 seconds after the window stops moving down. Therefore, check must be made before the circuit breaker operates.

      If operation is not as specified, replace the master switch.

  3. Using an ammeter with a current-measuring probe: INSPECT ONE TOUCH POWER WINDOW SYSTEM/CURRENT OF CIRCUIT 
    1. Remove the master switch with the connector connected.
    2. Attach a current-measuring probe to terminal 4 of the wire harness.
    3. Fig 4: Attaching Current Probe To Terminal 4
      G02926423Courtesy of © TOYOTA, LICENSE AGREEMENT TMS1002
    4. Turn the ignition switch ON and set the power window switch in the down position.
    5. As the window moves down, check if the current flow is approximately 7 A.
    6. Fig 5: Identifying Window Moved Down
      G02926424Courtesy of © TOYOTA, LICENSE AGREEMENT TMS1002
    7. Check if the current increases up to approximately 14.5 A or more when the window stops moving down.

      HINT:

      The circuit breaker opens 4 to 40 seconds after the window stops moving down. Therefore, check must be made before the circuit breaker operates.

      If operation is not as specified, replace the master switch.

  4. Passenger's and rear switch: INSPECT PASSENGER'S AND REAR POWER WINDOW REGULATOR SWITCH CONTINUITY 
    Fig 6: Identifying Passenger's And Rear Power Window Regulator Switch
    G02926425Courtesy of © TOYOTA, LICENSE AGREEMENT TMS1002
    PASSENGER'S & REAR POWER WINDOW REGULATOR SWITCH CONTINUITY

    Switch Position Tester Connection Specified Condition
    UP 1 - 2
    3 - 4
    Continuity
    OFF 1 - 2
    3 - 5
    Continuity
    DOWN 1 - 4
    3 - 5
    Continuity

    If the continuity is not as specified, replace the switch.

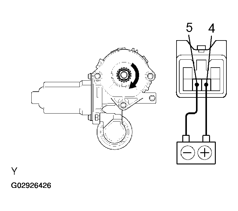
  5. Front left side door and rear right side door: INSPECT POWER WINDOW MOTOR OPERATION 
    1. Connect the positive (+) lead from the battery to terminal 4 and the negative (-) lead to terminal 5. Check if the motor turns clockwise.
      Fig 7: Checking Motor For Turning Clockwise (Front Left Side & Rear Right Side Door)
      G02926426Courtesy of © TOYOTA, LICENSE AGREEMENT TMS1002
    2. Reverse the polarity and check if the motor turns counterclockwise.
      Fig 8: Checking Motor For Turning Counter-Clockwise (Front Left Side & Rear Right Side Door)
      G02926427Courtesy of © TOYOTA, LICENSE AGREEMENT TMS1002

      If operation is not as specified, replace the motor.

  6. Front right side door and rear left side door: INSPECT POWER WINDOW MOTOR OPERATION 
    1. Connect the positive (+) lead from the battery to terminal 5 and the negative (-) lead to terminal 4. Check if the motor turns clockwise.
      Fig 9: Checking Motor For Turning Clockwise (Front Right Side & Rear Left Side Door)
      G02926428Courtesy of © TOYOTA, LICENSE AGREEMENT TMS1002
    2. Reverse the polarity and check if the motor turns counterclockwise.

      If operation is not as specified, replace the motor.

      Fig 10: Checking Motor For Turning Counter-Clockwise (Front Right Side & Rear Left Side Door)
      G02926429Courtesy of © TOYOTA, LICENSE AGREEMENT TMS1002
  7. INSPECT POWER WINDOW MOTOR PTC THERMISTOR OPERATION 
    1. Disconnect the connector from the driver door window motor.
    2. Connect the positive (+) lead from the ammeter to terminal 5 on the wire harness side connector and the negative (-) lead to the negative terminal of the battery.
    3. Connect the positive (+) lead from the battery to terminal 4 on the wire harness side connector. Then, raise the window to the fully closed position.
    4. Fig 11: Connecting Leads From Ammeter To Terminal 5 & 4
      G02926430Courtesy of © TOYOTA, LICENSE AGREEMENT TMS1002
    5. Continue to apply voltage and check if the current changes to less than 1 A within 4 to 90 seconds.
    6. Disconnect the leads from the terminals.
    7. Approximately 60 seconds later, connect the positive (+) lead from the battery to terminal 5 and the negative (-) lead to terminal 4. Check if the window begins to descend.

      If operation is not as specified, replace the motor.

      Fig 12: Reconnecting Leads From Ammeter To Terminal 5 & 4
      G02926431Courtesy of © TOYOTA, LICENSE AGREEMENT TMS1002
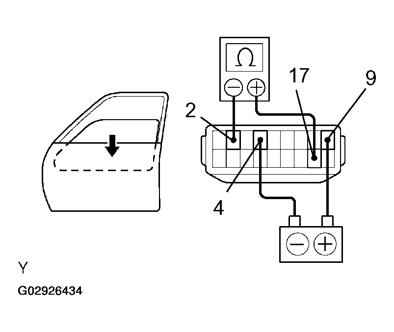
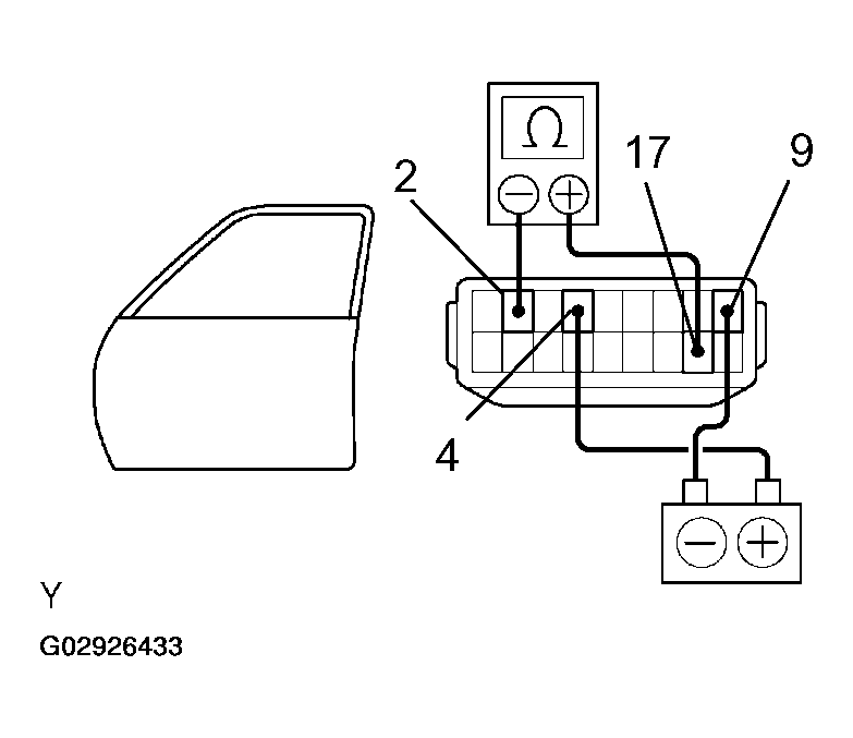
  8. Window up: INSPECT FRONT WINDOW JAM PROTECTION LIMIT SWITCH OPERATION 
    1. Disconnect the connector from the master switch.
    2. Connect the positive (+) lead from the ohmmeter to terminal 17 and the negative (-) lead to terminal 2.
    3. Connect the positive (+) lead from the battery to terminal 4 and the negative (-) lead to terminal 9.
    4. Check if continuity exists when the window moves up.
      Fig 13: Connecting Leads From Ohmmeter To Terminal 17 & 2 & Connecting Leads From Battery To Terminal 4 & 9
      G02926432Courtesy of © TOYOTA, LICENSE AGREEMENT TMS1002
    5. Check if no continuity exists when the window is in the fully closed position.
      Fig 14: Checking For Continuity With Window Closed
      G02926433Courtesy of © TOYOTA, LICENSE AGREEMENT TMS1002

      If operation is not as specified, replace the motor.

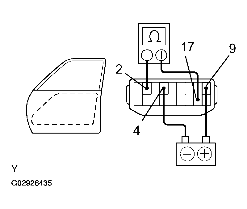
  9. Window down: INSPECT FRONT WINDOW JAM PROTECTION LIMIT SWITCH OPERATION 
    1. Connect the positive (+) lead from the ohmmeter to terminal 17 and the negative (-) lead to terminal 2.
    2. Connect the positive (+) lead from the battery to terminal 9 and the negative (-) lead to terminal 4.
    3. Check if continuity exists when the window moves up.
      Fig 15: Identifying Master Switch Terminal (Window Down)
      G02926434Courtesy of © TOYOTA, LICENSE AGREEMENT TMS1002
    4. Check if no continuity exists when the window is in the fully opened position.
      NOTE: Connecting the wire harness incorrectly may damage the sensor. Caution is necessary.
      Fig 16: Identifying Master Switch Terminal (Window Fully Down)
      G02926435Courtesy of © TOYOTA, LICENSE AGREEMENT TMS1002
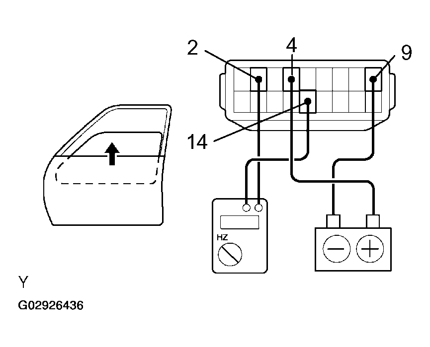
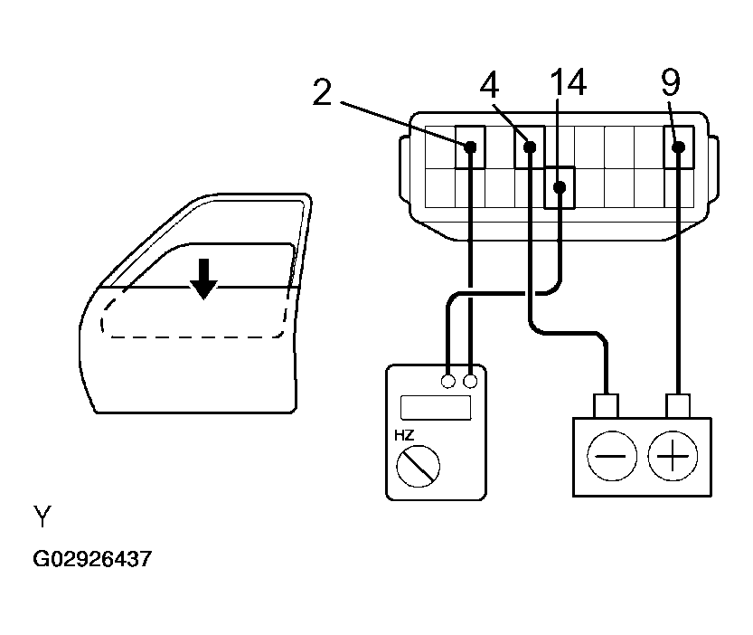
  10. INSPECT FRONT WINDOW JAM PROTECTION PULSE SWITCH OPERATION 
    1. Connect the positive (+) lead from the electrical tester to terminal 14 and the negative (-) lead to terminal 2.
    2. Connect the positive (+) lead from the battery to terminal 4 and the negative (-) lead to terminal 9.
    3. Fig 17: Connecting Leads From Electrical Tester To Terminal 14 & 2 & Connecting Leads From Battery To Terminal 4 & 9
      G02926436Courtesy of © TOYOTA, LICENSE AGREEMENT TMS1002
    4. Check if pulse is generated when the motor is running.
    5. Reverse the polarity and check if the pulse is generated.
      Fig 18: Reversing Polarity & Checking If Pulse Is Generated
      G02926437Courtesy of © TOYOTA, LICENSE AGREEMENT TMS1002

      If operation is not as specified, replace the motor.

      NOTE: Connecting the wire harness incorrectly may damage the sensor. Caution is necessary.
  11. INSPECT POWER RELAY CONTINUITY 
    Fig 19: Identifying Power Relay Circuit Diagram
    G02926438Courtesy of © TOYOTA, LICENSE AGREEMENT TMS1002
    POWER RELAY CONTINUITY

    Tester Connection Specified Condition
    3 - 5 No continuity
    3 - 5 Continuity (When battery voltage is applied to terminals 1 and 2)

    If the continuity is not as specified, replace the relay.

  12. Driver's door glass only: CHECK JAM PROTECTION FUNCTION 
    NOTE:
    • Do not check this function using a part of your body such as a hand. Also, pay thorough attention that nothing gets caught by accident in this process.
    • If the power window motor has just been reset, raise and lower the door glass several times using AUTO operation before performing the check.

    HINT:

    The jam protection function works only during AUTO UP operation.

    1. Fully open the door glass.
    2. Insert the hammer handle when the door glass is almost in the fully closed position.
    3. Try to fully close the door glass with the AUTO UP operation. Check if the door glass moves down by about 200 mm (7.87 in.) and stops there so that the hammer handle is not caught.

      HINT:

      The door glass usually moves down by approximately 50 mm (1.97 in.). However, when opening between the door glass and body is less than 200 mm (7.87 in.), the door glass moves down by 200 mm (7.87 in.) or keeps moving down for 5 seconds, and then stops.

    4. During DOWN operation, check if the door glass does not move up even if the power window master switch is pulled UP.