LEMON Manuals: Even more car manuals for everyone: 1960-2025
Home >> Toyota >> 2004 >> RAV4 Base, AWD, Standard >> Repair and Diagnosis (Single Page) >> Engine Performance >> Testing & Diagnosis >> Engine Controls - Diagnostics >> Circuit Inspection >> DTC P0110: Intake Air Temperature Circuit, DTC P0112: Intake Air Temperature Circuit Low Input, DTC P0113: Intake Air Temperature Circuit High Input >> Inspection Procedure
April 5, 2026: LEMON Manuals is launched! Read the announcement.

Inspection Procedure

HINT:

  1. Connect hand-held tester or OBD II scan tool, and read value of intake air temperature. 

    PREPARATION: 

    1. Connect the hand-held tester or the OBD II scan tool to the DLC3.
    2. Turn the ignition switch ON. Push the hand-held tester or OBD II scan tool main switch ON.
    3. On the hand-held tester or OBD II scan tool, enter the following menus: DIAGNOSIS / ENHANCED OBD II / DATA LIST / ALL / INTAKE AIR.

    CHECK: 

    Read the temperature value on the hand-held tester or the OBD II scan tool.

    OK: 

    Same value as the actual air intake temperature. 

    HINT:

    • If there is open circuit, hand-held tester or OBD II scan tool indicates -40°C (-40°F).
    • If there is short circuit, hand-held tester or OBD II scan tool indicates 140°C (284°F) or more.
    1. NG :  
    2. -40°C (-40°F) ..... Go to step 2. 
    3. 140°C (284°F) or more ..... Go to step   4 . 
    4. OK : Check for intermittent problems (see  PRE-CHECK  ).  
  2. Check for open in harness or ECM. 

    PREPARATION: 

    1. Disconnect the MAF meter connector.
    2. Connect the terminals THA and E2 of the MAF meter wire harness side connector.
    3. Connect the hand-held tester or the OBD II scan tool to the DLC3.
    4. Turn the ignition switch ON.
    5. Push the hand-held tester or OBD II scan tool main switch ON.
      Fig 1: Checking For Open Harness Or ECM
      G02912431Courtesy of © TOYOTA, LICENSE AGREEMENT TMS1002
    6. On the hand-held tester or OBD II scan tool, enter the following menus: DIAGNOSIS / ENHANCED OBD II / DATA LIST / ALL / INTAKE AIR.

    CHECK: 

    Read the temperature value on the hand-held tester or the OBD II scan tool.

    OK: 

    Temperature value: 140°C (284°F) or more 

    1. OK : Confirm good connection at sensor. If OK, replace MAF meter. 
    2. NG : Go to next step. 
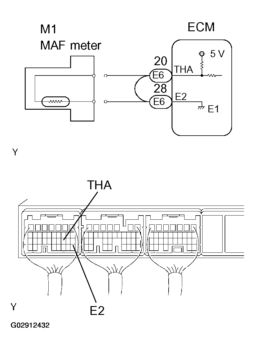
  3. Check for open in harness or ECM. 

    PREPARATION: 

    1. Disconnect the MAF meter connector.
    2. Connect terminals THA and E2 of the ECM connector.

      HINT:

      Before checking, do a visual and contact pressure check for the ECU connector.

    3. Connect the hand-held tester or the OBD II scan tool to the DLC3.
    4. Turn the ignition switch ON.
    5. Push the hand-held tester or OBD II scan tool main switch ON.
    6. On the hand-held tester or OBD II scan tool, enter the following menus: DIAGNOSIS / ENHANCED OBD II / DATA LIST / ALL / INTAKE AIR.

    CHECK: 

    Read the temperature value on the hand-held tester or the OBD II scan tool.

    OK: 

    Temperature value: 140°C (284°F) or more 

    Fig 2: Checking For Open Harness Or ECM And Locating THA And E2 Connector Terminals Of ECM
    G02912432Courtesy of © TOYOTA, LICENSE AGREEMENT TMS1002
    1. OK : Open in harness between terminals E2 or THA, repair or replace harness. 
    2. NG : Confirm good connection at ECM. If OK, replace ECM (see  COMPONENTS  ).  
  4. Check for short in harness and ECM. 

    PREPARATION: 

    1. Disconnect the MAF meter connector.
    2. Connect the hand-held tester or the OBD II scan tool to the DLC3.
    3. Turn the ignition switch ON.
    4. Push the hand-held tester or OBD II scan tool main switch ON.
    5. On the hand-held tester or OBD II scan tool, enter the following menus: DIAGNOSIS / ENHANCED OBD II / DATA LIST / ALL / INTAKE AIR.
      Fig 3: Checking For Short In Harness And ECM
      G02912433Courtesy of © TOYOTA, LICENSE AGREEMENT TMS1002

    CHECK: 

    Read the temperature value on the hand-held tester or the OBD II scan tool.

    OK: 

    Temperature value: -40°C (-40°F) 

    1. OK : Replace MAF meter. 
    2. NG : Go to next step. 
  5. Check for short in harness or ECM. 

    PREPARATION: 

    1. Disconnect the E6 ECM connector.
    2. Connect the hand-held tester or the OBD II scan tool to the DLC3.

      HINT:

      The MAF meter connector is disconnected.

    3. Turn the ignition switch ON.
    4. Push the hand-held tester or OBD II scan tool main switch ON.
    5. On the hand-held tester or OBD II scan tool, enter the following menus: DIAGNOSIS / ENHANCED OBD II / DATA LIST / ALL / INTAKE AIR.

    CHECK: 

    Read the temperature value on the hand-held tester or the OBD II scan tool.

    OK: 

    Temperature value: -40°C (-40°F) 

    Fig 4: Checking For Short In Harness Or ECM And Locating E6 Connector Of ECM
    G02912434Courtesy of © TOYOTA, LICENSE AGREEMENT TMS1002
    1. OK : Repair or replace harness and connector. 
    2. NG : Replace ECM (see  COMPONENTS  ).